TOP
|
特許
|
意匠
|
商標
特許ウォッチ
Twitter
他の特許を見る
公開番号
2025154643
公報種別
公開特許公報(A)
公開日
2025-10-10
出願番号
2024057758
出願日
2024-03-29
発明の名称
吸着装置及び研削装置
出願人
株式会社東京精密
代理人
弁理士法人太陽国際特許事務所
主分類
H01L
21/304 20060101AFI20251002BHJP(基本的電気素子)
要約
【課題】吸着体の孔の詰まりを抑制する。
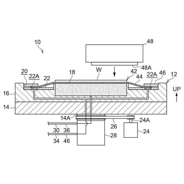
【解決手段】吸着装置12では、ポーラスチャック18が第1吸引路30に吸引されて、ポーラスチャック18にワークWが吸着されると共に、スペーサリング22が第2吸引路34に吸引されて、スペーサリング22にダイシングフレーム46が吸着される。このため、ワークWの研削屑が第2吸引路34に侵入しても、第2吸引路34の研削屑がポーラスチャック18に到達しないため、ポーラスチャック18の気孔が研削屑により詰まることを抑制できる。
【選択図】図1
特許請求の範囲
【請求項1】
内周側及び外周側にそれぞれ孔を有する吸着体及び吸着部が設けられ、ダイシングテープの内周側及び外周側にそれぞれワーク及びダイシングフレームが貼付されるワーク体が載置される吸着台と、
前記吸着体に連通され、前記吸着体が吸引されて前記吸着体に前記ダイシングテープを介して前記ワークが吸着される第1吸引路と、
前記第1吸引路とは別路にされて前記吸着部に連通され、前記吸着部が吸引されて前記吸着部に前記ダイシングテープを介して前記ダイシングフレームが吸着される第2吸引路と、
を備える吸着装置。
続きを表示(約 630 文字)
【請求項2】
前記吸着体に連通され、前記吸着体に流体が供給される第1供給路と、
前記第1供給路とは別路にされて前記吸着部に連通され、前記吸着部に流体が供給される第2供給路と、
を備える請求項1記載の吸着装置。
【請求項3】
前記第1吸引路の第1吸引バルブより前記吸着体側と前記第1供給路の第1供給バルブより前記吸着体側とが同一路にされて前記吸着体に連通されると共に、前記第2吸引路の第2吸引バルブより前記吸着部側と前記第2供給路の第2供給バルブより前記吸着部側とが同一路にされて前記吸着部に連通される請求項2記載の吸着装置。
【請求項4】
前記第1吸引路の第1吸引バルブより吸引源側と前記第2吸引路の第2吸引バルブより前記吸引源側とが同一路にされて前記吸引源に連通されると共に、前記第1供給路の第1供給バルブより供給源側と前記第2供給路の第2供給バルブより前記供給源側とが同一路にされて前記供給源に連通される請求項2記載の吸着装置。
【請求項5】
前記吸着部の孔が前記吸着体の孔に比し大きくされる請求項1記載の吸着装置。
【請求項6】
前記吸着体の上面が前記吸着部の上面に対し上側に配置される請求項1記載の吸着装置。
【請求項7】
請求項1記載の吸着装置と、
前記吸着体に吸着される前記ワークを研削する研削機構と、
を備える研削装置。
発明の詳細な説明
【技術分野】
【0001】
本発明は、ワーク及びダイシングフレームが吸着される吸着装置及び当該吸着装置を備える研削装置に関する。
続きを表示(約 1,400 文字)
【背景技術】
【0002】
下記特許文献1に記載の研削装置では、粘着テープの内周側及び外周側にそれぞれウエーハ及びリングフレームが貼付されており、保持手段のウエーハ保持部及びリングフレーム保持部が吸引路を介して吸引されて、ウエーハ保持部及びリングフレーム保持部にそれぞれウエーハ及びリングフレームが吸着される。
【0003】
ここで、この研削装置では、ウエーハ保持部及びリングフレーム保持部に吸引路が連通されている。このため、仮にリングフレーム保持部から吸引路に異物が侵入すると、ウエーハ保持部の吸引路を介する吸引が解除される際に、吸引路の異物がウエーハ保持部に到達する可能性がある。
【先行技術文献】
【特許文献】
【0004】
特開2017-196709号公報
【発明の概要】
【発明が解決しようとする課題】
【0005】
本発明は、上記事実を考慮し、吸着体の孔の詰まりを抑制できる吸着装置及び研削装置を得ることが目的である。
【課題を解決するための手段】
【0006】
本発明の第1態様の吸着装置は、内周側及び外周側にそれぞれ孔を有する吸着体及び吸着部が設けられ、ダイシングテープの内周側及び外周側にそれぞれワーク及びダイシングフレームが貼付されるワーク体が載置される吸着台と、前記吸着体に連通され、前記吸着体が吸引されて前記吸着体に前記ダイシングテープを介して前記ワークが吸着される第1吸引路と、前記第1吸引路とは別路にされて前記吸着部に連通され、前記吸着部が吸引されて前記吸着部に前記ダイシングテープを介して前記ダイシングフレームが吸着される第2吸引路と、を備える。
【0007】
本発明の第2態様の吸着装置は、本発明の第1態様の吸着装置において、前記吸着体に連通され、前記吸着体に流体が供給されて前記吸着体への前記ワークの吸着が解除される第1供給路と、前記第1供給路とは別路にされて前記吸着部に連通され、前記吸着部に流体が供給されて前記吸着部への前記ダイシングフレームの吸着が解除される第2供給路と、を備える。
【0008】
本発明の第3態様の吸着装置は、本発明の第2態様の吸着装置において、前記第1吸引路の第1吸引バルブより前記吸着体側と前記第1供給路の第1供給バルブより前記吸着体側とが同一路にされて前記吸着体に連通されると共に、前記第2吸引路の第2吸引バルブより前記吸着部側と前記第2供給路の第2供給バルブより前記吸着部側とが同一路にされて前記吸着部に連通される。
【0009】
本発明の第4態様の吸着装置は、本発明の第2態様又は第3態様の吸着装置において、前記第1吸引路の第1吸引バルブより吸引源側と前記第2吸引路の第2吸引バルブより前記吸引源側とが同一路にされて前記吸引源に連通されると共に、前記第1供給路の第1供給バルブより供給源側と前記第2供給路の第2供給バルブより前記供給源側とが同一路にされて流体の前記供給源に連通される。
【0010】
本発明の第5態様の吸着装置は、本発明の第1態様~第4態様の何れか1つの吸着装置において、前記吸着部の孔が前記吸着体の孔に比し大きくされる。
(【0011】以降は省略されています)
この特許をJ-PlatPat(特許庁公式サイト)で参照する
関連特許
株式会社東京精密
プローバ
1か月前
株式会社東京精密
搬送装置
23日前
株式会社東京精密
プローバ
25日前
株式会社東京精密
プローバ
1か月前
株式会社東京精密
加工装置
25日前
株式会社東京精密
加工方法
25日前
株式会社東京精密
プローバ
24日前
株式会社東京精密
研削装置
19日前
株式会社東京精密
プローバ
1か月前
株式会社東京精密
加工装置
25日前
株式会社東京精密
研削装置
23日前
株式会社東京精密
加工装置
1か月前
株式会社東京精密
加工装置
23日前
株式会社東京精密
亀裂測定器
23日前
株式会社東京精密
亀裂測定器
23日前
株式会社東京精密
電池検査装置
1か月前
株式会社東京精密
レーザ加工装置
23日前
株式会社東京精密
半導体製造装置
23日前
株式会社東京精密
ダイシング装置
23日前
株式会社東京精密
レーザ加工装置
23日前
株式会社東京精密
レーザ加工装置
23日前
株式会社東京精密
テープ貼付装置
23日前
株式会社東京精密
ダイシング装置
19日前
株式会社東京精密
ハブレスブレード
25日前
株式会社東京精密
加工装置及び加工方法
23日前
株式会社東京精密
校正方法及び校正装置
1か月前
株式会社東京精密
ウェーハの面取り装置
23日前
株式会社東京精密
吸着装置及び研削装置
23日前
株式会社東京精密
ケーブルのガイド方法
23日前
株式会社東京精密
収容ボックスシステム
24日前
株式会社東京精密
ウェーハの面取り装置
23日前
株式会社東京精密
CMP装置及び研磨方法
24日前
株式会社東京精密
ウェーハセンシング装置
25日前
株式会社東京精密
面取り装置及び面取り方法
25日前
株式会社東京精密
加工方法、及び、加工装置
24日前
株式会社東京精密
亀裂検出装置及び亀裂検出方法
23日前
続きを見る
他の特許を見る