TOP
|
特許
|
意匠
|
商標
特許ウォッチ
Twitter
他の特許を見る
10個以上の画像は省略されています。
公開番号
2025154835
公報種別
公開特許公報(A)
公開日
2025-10-10
出願番号
2024058057
出願日
2024-03-29
発明の名称
ケーブルのガイド方法
出願人
株式会社東京精密
代理人
個人
,
個人
,
個人
主分類
H02G
11/00 20060101AFI20251002BHJP(電力の発電,変換,配電)
要約
【課題】ケーブルの耐久性(寿命)を延ばすことができるケーブルのガイド方法を提供する。
【解決手段】ケーブルのガイド方法は、複数のワイヤから構成されるケーブルを、湾曲形状に曲げながら上下および左右方向に移動させるガイド方法であって、複数のワイヤのうち、湾曲形状の内側のワイヤを内側ワイヤ、外側のワイヤを外側ワイヤとし、ケーブルの長さ方向において複数の座標測定点を設定し、ケーブルを移動させる際の移動開始地点T
1
から移動完了地点T
x
までの間の任意の地点における内側ワイヤの座標および外側ワイヤの座標をそれぞれ、座標測定点ごとに(I
1
、I
2
、I
3
…Ix)、(O
1
、O
2
、O
3
…Ox)として測定したとき、座標測定点それぞれにおいて算出される|(O
1
-I
1
)|+|(O
2
-I
2
)|+|(O
3
-I
3
)|+…+|(O
x
-I
x
)|の最大値と最小値との差を小さくする。
【選択図】図10
特許請求の範囲
【請求項1】
複数のワイヤから構成されるケーブルを、前記ケーブルの一端を固定端とし他端を移動端として上下および左右方向に移動させるガイド方法であって、
前記複数のワイヤのうち、湾曲形状の内側のワイヤを内側ワイヤ、外側のワイヤを外側ワイヤとし、
前記ケーブルの長さ方向において複数の座標測定点を設定し、
前記ケーブルを移動させる際の移動開始地点T
1
から移動完了地点Txまでの間の任意の地点における前記内側ワイヤの座標および前記外側ワイヤの座標をそれぞれ、前記座標測定点ごとに(I
1
、I
2
、I
3
…I
x
)、(O
1
、O
2
、O
3
…O
x
)として測定したとき、
前記座標測定点それぞれにおいて算出される|(O
1
-I
1
)|+|(O
2
-I
2
)|+|(O
3
-I
3
)|+…+|(O
x
-I
x
)|の最大値と最小値との差を小さくする、ケーブルのガイド方法。
続きを表示(約 250 文字)
【請求項2】
前記ケーブルのうち前記固定端に接続する近傍が、前記左右方向に振り子のように移動する、請求項1に記載のケーブルのガイド方法。
【請求項3】
前記ケーブルの曲率半径Rが最小となる位置が、前記移動開始地点T
1
から前記移動完了地点Txまで前記ケーブルを移動させる間において変動しない、請求項1に記載のケーブルのガイド方法。
【請求項4】
前記最大値と前記最小値との差が、前記ケーブルの径の2倍以内である、請求項1に記載のケーブルのガイド方法。
発明の詳細な説明
【技術分野】
【0001】
本発明は、ケーブルのガイド方法に関する。
続きを表示(約 1,800 文字)
【背景技術】
【0002】
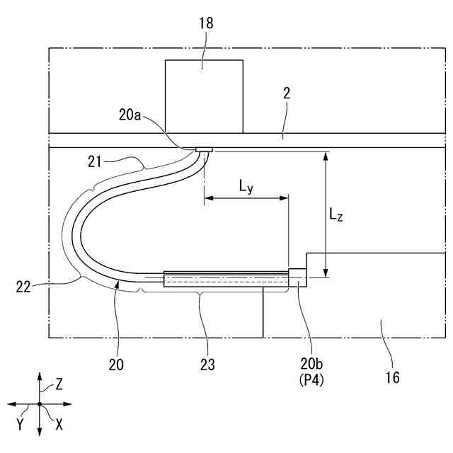
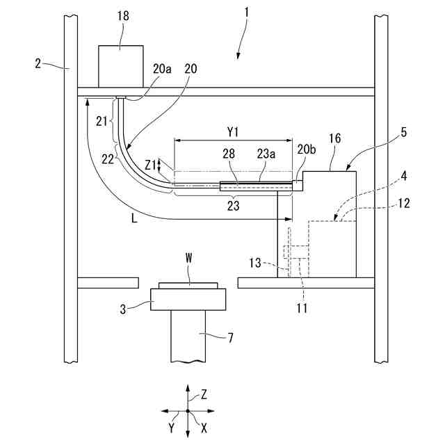
例えば、ダイサーの装置において加工対象物を観察する際、加工対象物を、CMOSイメージセンサーを取り付けた顕微鏡等の観察手段を移動させて観察および撮像する。このとき、観察および撮像のために光が必要となる。
【0003】
このような観察用の光を案内する手段として、例えば光ファイバケーブルが用いられる。ケーブルのガイド方法として、ケーブルをケーブルキャリアに挿通した状態で観察手段を光源に接続する方法が知られている(例えば、特許文献1参照)。
【0004】
ケーブルは、一端が光源側に固定され、他端が観察手段となる可動側に連結される。このような状態において、ケーブルおよびケーブルキャリアは、例えば、全体がU字形状に曲げられた状態に配置される。ケーブルは、ケーブルキャリアで案内されることにより、観察手段の移動に追従して変形可能に設けられる。
【先行技術文献】
【特許文献】
【0005】
特開2020-194901号公報
【発明の概要】
【発明が解決しようとする課題】
【0006】
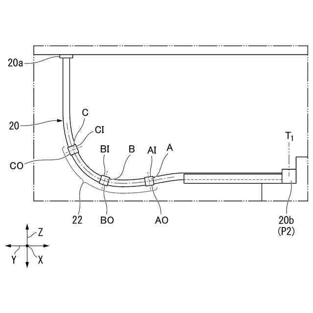
従来のケーブルのガイド方法では、複数の光ファイバ(素線)からなるライトガイドがケーブルキャリア内に挿通された状態においてU字形状に曲げられた状態に配置され、このような状態で可動側の観察手段を移動させる。このとき、ケーブルのうち、特にU字形状に曲げられた領域において、素線の破損、断線等が発生する場合があり、ケーブルの耐久性(寿命)が低下するおそれがあった。
【0007】
本発明は、前述した事情に鑑みてなされたものであって、ケーブルの耐久性(寿命)を延ばすことができるケーブルのガイド方法(取り回し方法)を提供することを目的とする。
【課題を解決するための手段】
【0008】
前記課題を解決するために、本発明は以下の手段を提案している。
<1>本発明の一態様に係るケーブルのガイド方法は、複数のワイヤ(素線)から構成されるケーブルを、ケーブルの一端を固定端とし他端を移動端として上下および左右方向に移動させるガイド方法であって、前記複数のワイヤのうち、湾曲形状の内側のワイヤを内側ワイヤ、外側のワイヤを外側ワイヤとし、前記ケーブルの長さ方向において複数の座標測定点を設定し、前記ケーブルを移動させる際の移動開始地点T
1
から移動完了地点Txまでの間の任意の地点における前記内側ワイヤの座標および前記外側ワイヤの座標をそれぞれ、前記座標測定点ごとに(I
1
、I
2
、I
3
…I
x
)、(O
1
、O
2
、O
3
…O
x
)として測定したとき、前記座標測定点それぞれにおいて算出される|(O
1
-I
1
)|+|(O
2
-I
2
)|+|(O
3
-I
3
)|+…+|(O
x
-I
x
)|の最大値と最小値との差を小さくする。
【0009】
上記<1>のケーブルのガイド方法では、内側ワイヤの座標および外側ワイヤの座標から内側ワイヤの座標を基準とする外側ワイヤの座標(以下、相対座標ということがある)(O
1
-I
1
)、(O
2
-I
2
)、(O
3
-I
3
)、…(O
x
-I
x
)を、座標測定点ごとに移動軌跡の任意の地点において求める。そして、各座標測定点において求めた外側ワイヤの相対座標のうち、最大値と最小値との差を小さくなるよう抑えることで、内側ワイヤに対する外側ワイヤの滑り量を小さく抑えることができる。その結果、ケーブルの耐久性(寿命)を延ばすことができる。
【0010】
上記<1>に係るケーブルのガイド方法は、前記ケーブルの曲率半径Rが最小となる位置が、前記移動開始地点T
1
から前記移動完了地点T
x
まで前記ケーブルを移動させる間において変動しなくてよい。
(【0011】以降は省略されています)
この特許をJ-PlatPat(特許庁公式サイト)で参照する
関連特許
株式会社東京精密
加工装置
21日前
株式会社東京精密
搬送装置
21日前
株式会社東京精密
プローバ
22日前
株式会社東京精密
プローバ
29日前
株式会社東京精密
加工装置
28日前
株式会社東京精密
加工装置
23日前
株式会社東京精密
研削装置
17日前
株式会社東京精密
プローバ
23日前
株式会社東京精密
加工方法
23日前
株式会社東京精密
研削装置
21日前
株式会社東京精密
プローバ
28日前
株式会社東京精密
加工装置
23日前
株式会社東京精密
亀裂測定器
21日前
株式会社東京精密
亀裂測定器
21日前
株式会社東京精密
レーザ加工装置
21日前
株式会社東京精密
ダイシング装置
17日前
株式会社東京精密
テープ貼付装置
21日前
株式会社東京精密
レーザ加工装置
21日前
株式会社東京精密
レーザ加工装置
21日前
株式会社東京精密
半導体製造装置
21日前
株式会社東京精密
ダイシング装置
21日前
株式会社東京精密
ハブレスブレード
23日前
株式会社東京精密
加工装置及び加工方法
21日前
株式会社東京精密
校正方法及び校正装置
28日前
株式会社東京精密
収容ボックスシステム
22日前
株式会社東京精密
ウェーハの面取り装置
21日前
株式会社東京精密
ウェーハの面取り装置
21日前
株式会社東京精密
ケーブルのガイド方法
21日前
株式会社東京精密
吸着装置及び研削装置
21日前
株式会社東京精密
ウェーハセンシング装置
23日前
株式会社東京精密
CMP装置及び研磨方法
22日前
株式会社東京精密
面取り装置及び面取り方法
23日前
株式会社東京精密
加工方法、及び、加工装置
22日前
株式会社東京精密
測定装置及び移動体の制御方法
1か月前
株式会社東京精密
亀裂検出装置及び亀裂検出方法
21日前
株式会社東京精密
内径測定装置及びそのシステム
28日前
続きを見る
他の特許を見る