TOP
|
特許
|
意匠
|
商標
特許ウォッチ
Twitter
他の特許を見る
公開番号
2025180581
公報種別
公開特許公報(A)
公開日
2025-12-11
出願番号
2024088007
出願日
2024-05-30
発明の名称
電子制御装置
出願人
株式会社デンソー
代理人
弁理士法人サトー
主分類
H02H
3/087 20060101AFI20251204BHJP(電力の発電,変換,配電)
要約
【課題】電流が検出範囲を超えた場合でも、ワイヤハーネスを保護することができる電子制御装置を提供する。
【解決手段】メイン素子5はワイヤハーネス4に流れる電流を制御し、センス素子6には前記電流に応じた電流が流れる。検出抵抗7はセンス素子6に流れる電流に応じたセンス電圧を生成する。充放電回路24はセンス電圧に基づきコンデンサ42を充放電させる。充放電制御部46は充電状態が上限値を超えて継続すると充放電回路24を強制的に放電状態に切り替える。積算回路48はコンデンサ42における放電時の電圧に応じて得られる乗算信号を積算し、減算回路49は積算結果よりハーネス4の放熱特性に応じた減算値を減じる。制御回路12は、減算回路49により減算された値がハーネス4の発熱特性に応じた積算閾値を超えるとハーネス4に流れる電流を遮断する。充放電制御部46は、放電状態に切り替えると乗算信号に替えて遮断用加速値を積算させる。
【選択図】図1
特許請求の範囲
【請求項1】
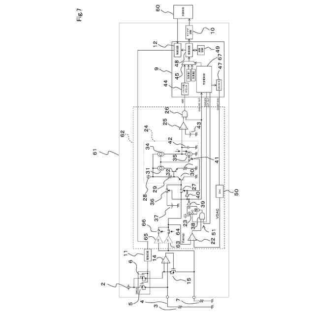
ワイヤハーネス(4)に流れる電流を制御する電子制御装置であって、
前記ワイヤハーネスに流れる電流を制御するメイン素子(5)と、
前記メイン素子に流れる電流に応じた電流が流れるセンス素子(6)と、
前記センス素子と接続され、前記センス素子に流れる電流に応じたセンス電圧を生成する検出抵抗(7)と、
前記センス電圧に基づいて、充放電コンデンサ(42)を充電及び放電させる充放電回路(24)と、
この充放電回路による充電状態が上限値を超えて継続すると、前記充放電回路を強制的に放電状態に切り替える強制放電回路(46、67)と、
前記充放電コンデンサにおける放電時の電圧に応じて得られる乗算信号を積算する積算回路(48)と、
この積算回路の積算結果より、前記ワイヤハーネスの放熱特性に応じた減算値を減じる減算回路(49)と、
前記メイン素子のオンオフを制御し、前記減算回路より減算された値が前記ワイヤハーネスの発熱特性に応じた積算閾値を超えると、前記ワイヤハーネスに流れる電流を遮断する制御回路(12)と、を備え
前記強制放電回路は、前記放電状態に切り替えると、前記乗算信号に替えて遮断用加速値を前記積算回路に積算させる電子制御装置。
続きを表示(約 560 文字)
【請求項2】
前記強制放電回路は、前記遮断用加速値を前記積算回路に積算させる際に、前記減算回路による減算を停止させる請求項1記載の電子制御装置。
【請求項3】
比較値を時間的に漸増させる比較値設定部(46,47,50)と、
前記比較値が前記センス電圧を超えると、充放電回路の充電状態を放電状態に切り替える充放電切替え部(51)と、を備える請求項1又は2記載の電子制御装置。
【請求項4】
前記センス電圧を増幅するもので、増幅率の高低を変更可能な増幅器(63,65)を備え、
前記強制放電回路(67)は、前記センス電圧の高低に応じて、前記増幅率を設定し、
前記増幅率が最低に設定されている場合は、前記遮断用加速値を前記制御回路に積算させ、
前記増幅率が最低に設定されていない場合は、前記センス電圧の入力範囲の上限値を前記制御回路に積算させる請求項3記載の電子制御装置。
【請求項5】
前記比較値設定部は、前記比較値を時間的に漸増させる前の期間に、前記増幅器を選択するための選択用閾値を一定時間だけ出力し、
前記強制放電回路は、前記センス電圧と前記選択用閾値とを比較して、前記増幅器を選択する請求項4記載の電子制御装置。
発明の詳細な説明
【技術分野】
【0001】
本発明は、ワイヤハーネスを保護する電子制御装置に関する。
続きを表示(約 1,600 文字)
【背景技術】
【0002】
例えば、特許文献1では、負荷が接続されているワイヤハーネスを保護する電子制御装置が提案されている。この装置は、メイン素子及びセンス素子からなるIPD(Intelligent Power Device)を介して、ワイヤハーネスに接続された負荷に通電する構成である。負荷に供給される電力を計算する乗算回路では、コンデンサを充放電することで乗算特性を得ている。
【0003】
積算回路では、コンデンサの放電時間に応じたパルス幅の信号を生成し、そのパルス幅をカウントした値を積算している。その積算値より、ワイヤハーネスの放熱特性に応じた値を減算した結果が閾値を超えると、IPDを介して行なう負荷への通電を遮断することでワイヤハーネスを保護している。以下では、このようなワイヤハーネスの保護動作を「e-Fuse」と称することがある。
【先行技術文献】
【特許文献】
【0004】
特開2023-18957号公報
【発明の概要】
【発明が解決しようとする課題】
【0005】
しかしながら、特許文献1の構成では、図14に示すように、検出電流IMに対応する電圧VSがDACの出力信号Vsawで規定される入力範囲を超えると、信号Vcxで示すコンデンサの充電が継続して放電に切り替わらないため、放電時間に応じたパルス幅信号Vout2が生成できず、乗算特性が得られなくなる。
【0006】
図15に示すように、実際には、ワイヤハーネスの発煙特性が使用する電流範囲以上となるものを選定した上で、e-Fuseの遮断閾値を、使用電流範囲以上で発煙特性以下の範囲内で設定する。e-Fuseで設定する遮断閾値は一定であるが、電流が大きい場合は遮断閾値まで達する時間t1が短く、電流がより小さい場合の同時間t2はより長くなる。
【0007】
そして、特許文献1の乗算回路では、図14に破線で囲んだ部分に示すように、入力電流が検出範囲をオーバーレンジしたことを検出する手段がない。そのため、図15に示したように、IPD自身を保護する過電流閾値以下と、e-Fuseにおける電流検出範囲以上の範囲はワイヤハーネスを保護できない不感帯、保護不可領域になっている、という問題があった。
【0008】
本発明は上記事情に鑑みてなされたものであり、その目的は、電流が検出範囲を超えた場合でも、ワイヤハーネスを保護することができる電子制御装置を提供することにある。
【課題を解決するための手段】
【0009】
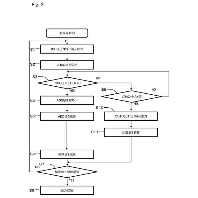
請求項1記載の電子制御装置によれば、メイン素子(5)は、ワイヤハーネス(4)に流れる電流を制御し、センス素子(6)には、メイン素子に流れる電流に応じた電流が流れる。検出抵抗(7)は、センス素子に流れる電流に応じたセンス電圧を生成する。充放電回路(24)は、センス電圧に基づいて、充放電コンデンサ(42)を充電及び放電させる。強制放電回路(46,67)は、充放電回路による充電状態が上限値を超えて継続すると、充放電回路を強制的に放電状態に切り替える。
【0010】
積算回路(48)は、充放電コンデンサにおける放電時の電圧に応じて得られる乗算信号を積算し、減算回路(49)は、積算回路の積算結果より、ワイヤハーネスの放熱特性に応じた減算値を減じる。制御回路(12)は、メイン素子のオンオフを制御し、減算回路により減算された値がワイヤハーネスの発熱特性に応じた積算閾値を超えると、ワイヤハーネスに流れる電流を遮断する。強制放電回路は、放電状態に切り替えると、乗算信号に替えて遮断用加速値を積算回路に積算させる。
(【0011】以降は省略されています)
この特許をJ-PlatPat(特許庁公式サイト)で参照する
関連特許
株式会社デンソー
ロータ
8日前
株式会社デンソー
端子台
15日前
株式会社デンソー
電動機
13日前
株式会社デンソー
分離体
21日前
株式会社デンソー
電動弁
1か月前
株式会社デンソー
ロータ
8日前
株式会社デンソー
整流回路
6日前
株式会社デンソー
撮像装置
1か月前
株式会社デンソー
電気回路
29日前
株式会社デンソー
回転電機
6日前
株式会社デンソー
制御装置
1か月前
株式会社デンソー
電子装置
1か月前
株式会社デンソー
電解装置
1か月前
株式会社デンソー
摺動機構
1か月前
株式会社デンソー
光学部材
21日前
株式会社デンソー
撮像装置
1か月前
株式会社デンソー
摺動機構
1か月前
株式会社デンソー
電子装置
1か月前
株式会社デンソー
熱交換器
1か月前
株式会社デンソー
電子装置
13日前
株式会社デンソー
光学部材
21日前
株式会社デンソー
光学部材
13日前
株式会社デンソー
トランス
13日前
株式会社デンソー
半導体装置
1か月前
株式会社デンソー
レーダ装置
7日前
株式会社デンソーエレクトロニクス
電磁継電器
7日前
株式会社デンソー
音低減装置
6日前
株式会社デンソー
電磁継電器
13日前
株式会社デンソー
センサ装置
1か月前
株式会社デンソー
センサ装置
1か月前
株式会社デンソー
ヒータ装置
1か月前
株式会社デンソー
熱交換部材
1か月前
株式会社デンソー
半導体装置
1か月前
株式会社デンソー
半導体装置
1日前
株式会社デンソー
静電モータ
今日
株式会社デンソー
半導体装置
1か月前
続きを見る
他の特許を見る