TOP
|
特許
|
意匠
|
商標
特許ウォッチ
Twitter
他の特許を見る
10個以上の画像は省略されています。
公開番号
2025179577
公報種別
公開特許公報(A)
公開日
2025-12-10
出願番号
2024086415
出願日
2024-05-28
発明の名称
半導体装置
出願人
株式会社デンソー
代理人
弁理士法人ゆうあい特許事務所
主分類
H10D
30/67 20250101AFI20251203BHJP()
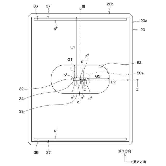
要約
【課題】オフ耐圧を向上しつつ、素子領域の無駄な領域を小さくできる半導体装置を提供する。
【解決手段】ソース領域33およびドレイン領域36は、一方が素子領域14における内縁側に形成されて内縁領域32を構成すると共に、他方が素子領域14におけるトレンチ分離部側20の外縁側に形成されて外縁領域37を構成し、主面10aの面方向における一方向を第1方向とすると共に第1方向と交差する方向を第2方向とすると、素子領域14および内縁領域32は、内縁領域32からトレンチ分離部20までの第1方向に沿った第1素子領域長さL1が内縁領域32からトレンチ分離部20までの第2方向に沿った第2素子領域長さL2より長くなるように形成されており、外縁領域37は、内縁領域32から第1方向に位置する部分のみに形成されるようにする。
【選択図】図1
特許請求の範囲
【請求項1】
半導体装置であって、
活性層(13)を有し、前記活性層にトレンチ分離部(20)によって素子領域(14)が区画形成され、前記活性層の表面を主面(10a)とする半導体基板(10)と、
前記素子領域における前記活性層の表層部に形成された第1導電型のボディ層(31)と、
前記ボディ層の表層部に形成された第2導電型のソース領域(32)と、
前記素子領域における前記活性層の表層部に形成された第2導電型のドリフト領域(35)と、
前記ドリフト領域の表層部に形成された第2導電型のドレイン領域(36)と、
前記ボディ層上に形成されたゲート絶縁膜(61)と、
前記ゲート絶縁膜上に配置されたゲート電極(62)と、を備え、
前記ソース領域および前記ドレイン領域は、一方が前記素子領域における内縁側に形成されて内縁領域(32)を構成すると共に、他方が前記素子領域における前記トレンチ分離部側の外縁側に形成されて外縁領域(37)を構成し、
前記主面の面方向における一方向を第1方向とすると共に前記第1方向と交差する方向を第2方向とすると、前記素子領域および前記内縁領域は、前記内縁領域から前記トレンチ分離部までの前記第1方向に沿った第1素子領域長さ(L1)が前記内縁領域から前記トレンチ分離部までの前記第2方向に沿った第2素子領域長さ(L2)より長くなるように形成されており、
前記外縁領域は、前記内縁領域から前記第1方向に位置する部分のみに形成されている半導体装置。
続きを表示(約 1,000 文字)
【請求項2】
前記内縁領域側から前記第2方向に伸びる電界緩和構造(35、62)が備えられている請求項1に記載の半導体装置。
【請求項3】
前記内縁領域は、前記ソース領域を含んで構成され、
前記外縁領域は、前記ドレイン領域を含んで構成されており、
前記電界緩和構造は、前記ゲート電極が前記第2方向に延設されることで構成されている請求項2に記載の半導体装置。
【請求項4】
前記内縁領域側から前記第2方向に位置する前記トレンチ分離部に達する分離絶縁膜(52)を有し、
前記分離絶縁膜における前記内縁領域側の端部を基準とし、前記基準から前記トレンチ分離部までの前記第2方向に沿った長さ(DLY)に対する、前記ゲート電極のうちの前記基準から前記第2方向に沿った部分の長さ(GFY)の比は、0.15以上0.73以下とされている請求項3に記載の半導体装置。
【請求項5】
前記内縁領域は、前記ドレイン領域を含んで構成され、
前記外縁領域は、前記ソース領域を含んで構成され、
前記電界緩和構造は、前記ドリフト領域が前記第2方向に延設されることで構成されている請求項2に記載の半導体装置。
【請求項6】
前記内縁領域側から前記第2方向に位置する前記トレンチ分離部に達する分離絶縁膜(52)を有し、
前記分離絶縁膜における前記内縁領域側の端部を基準とし、前記基準から前記トレンチ分離部までの前記第2方向に沿った長さ(DLY)に対する、前記ドリフト領域のうちの前記基準から前記第2方向に沿った部分の長さ(DDY)の比は、0.28以上0.83以下とされている請求項5に記載の半導体装置。
【請求項7】
前記電界緩和構造は、前記内縁領域側の端部から前記第2方向に沿った長さ(G2、N2)が、前記内縁領域側の端部から前記第1方向に沿った長さ(G1、N1)よりも長くされている請求項2に記載の半導体装置。
【請求項8】
前記半導体基板は、支持基板(11)上に絶縁膜(12)を介して前記活性層が配置されたSOI基板である請求項1ないし7のいずれか1つに記載の半導体装置。
【請求項9】
電池監視システムを構成するのに用いられる請求項1ないし7のいずれか1つに記載の半導体装置。
発明の詳細な説明
【技術分野】
【0001】
本開示は、半導体装置に関するものである。
続きを表示(約 2,100 文字)
【背景技術】
【0002】
従来より、半導体基板における素子領域の表層部に、ソース領域およびドレイン領域が形成された半導体装置が提案されている(例えば、特許文献1参照)。具体的には、この半導体装置では、素子領域が平面略矩形状とされている。そして、素子領域には、略中央部にn型のドレイン領域が形成され、外縁部にn型のソース領域が形成されている。より詳しくは、面方向における一方向に沿った方向を第1方向とすると共に面方向における第1方向と直交する方向を第2方向とすると、素子領域およびドレイン領域は、素子領域の外縁端部までの第1方向の長さが第2方向の長さより長くなるように形成されている。そして、ソース領域は、素子領域のうちのドレイン領域から第2方向となる位置に形成されており、ドレイン領域から第1方向となる位置には形成されていない。
【先行技術文献】
【特許文献】
【0003】
特許第06261122号公報
【発明の概要】
【発明が解決しようとする課題】
【0004】
このような半導体装置では、ソース領域がドレイン領域から第2方向となる位置に形成されているため、ドレイン領域とソース領域との間の長さが短くなり易い。このため、このような半導体装置では、オフ時の耐圧であるオフ耐圧が低下し易くなる可能性がある。また、ドレイン領域から第1方向に位置する領域は、ソース領域が形成されていないために電流を流す部分とはならない。このため、このような半導体装置では、電流が流れない領域が大きくなり、無駄な領域が増加し易くなる可能性がある。
【0005】
本開示は、オフ耐圧を向上しつつ、素子領域の無駄な領域を小さくできる半導体装置を提供することを目的とする。
【課題を解決するための手段】
【0006】
本開示の1つの観点によれば、半導体装置は、活性層(13)を有し、活性層にトレンチ分離部(20)によって素子領域(14)が区画形成され、活性層の表面を主面(10a)とする半導体基板(10)と、素子領域における活性層の表層部に形成された第1導電型のボディ層(31)と、ボディ層の表層部に形成された第2導電型のソース領域(32)と、素子領域における活性層の表層部に形成された第2導電型のドリフト領域(35)と、ドリフト領域の表層部に形成された第2導電型のドレイン領域(36)と、ボディ層上に形成されたゲート絶縁膜(61)と、ゲート絶縁膜上に配置されたゲート電極(62)と、を備え、ソース領域およびドレイン領域は、一方が素子領域における内縁側に形成されて内縁領域(32)を構成すると共に、他方が素子領域におけるトレンチ分離部側の外縁側に形成されて外縁領域(37)を構成し、主面の面方向における一方向を第1方向とすると共に第1方向と交差する方向を第2方向とすると、素子領域および内縁領域は、内縁領域からトレンチ分離部までの第1方向に沿った第1素子領域長さ(L1)が内縁領域からトレンチ分離部までの第2方向に沿った第2素子領域長さ(L2)より長くなるように形成されており、外縁領域は、内縁領域から第1方向に位置する部分のみに形成されている。
【0007】
これによれば、外縁領域は、内縁領域から第1方向に位置する部分のみに形成されている。このため、素子領域のうちの長さが長くされている内縁領域とトレンチ分離部との間の領域が無駄となることを抑制できる。また、内縁領域と外縁領域(すなわち、ソース領域とドレイン領域)との間の長さが短くなることを抑制でき、オフ耐圧が低下することを抑制できる。
【0008】
なお、各構成要素等に付された括弧付きの参照符号は、その構成要素等と後述する実施形態に記載の具体的な構成要素等との対応関係の一例を示すものである。
【図面の簡単な説明】
【0009】
第1実施形態における半導体装置の平面図である。
図1中のII-II線に沿った断面図である。
図1中のIII-III線に沿った断面図である。
オフ時の等電位線を示す模式図である。
GFY/DLYとオフ耐圧との関係を示す図である。
トレンチ深さとオフ耐圧との関係を示す図である。
第2実施形態における半導体装置の平面図である。
図7中のVIII-VIII線に沿った断面図である。
図7中のIX-IX線に沿った断面図である。
オフ時の等電位線を示す模式図である。
DDY/DLYとオフ耐圧との関係を示す図である。
トレンチ深さとオフ耐圧との関係を示す図である。
【発明を実施するための形態】
【0010】
以下、本開示の実施形態について図に基づいて説明する。なお、以下の各実施形態相互において、互いに同一もしくは均等である部分には、同一符号を付して説明を行う。
(【0011】以降は省略されています)
この特許をJ-PlatPat(特許庁公式サイト)で参照する
関連特許
個人
積和演算用集積回路
1か月前
日亜化学工業株式会社
発光装置
今日
サンケン電気株式会社
半導体装置
1か月前
日機装株式会社
半導体発光装置
29日前
旭化成株式会社
発光素子
1か月前
ローム株式会社
抵抗チップ
1か月前
ローム株式会社
半導体装置
13日前
三菱電機株式会社
半導体装置
今日
三菱電機株式会社
半導体装置
21日前
株式会社半導体エネルギー研究所
表示装置
13日前
三菱電機株式会社
半導体装置
8日前
富士電機株式会社
半導体装置
1か月前
三菱電機株式会社
半導体装置
2日前
三菱電機株式会社
半導体装置
今日
株式会社東芝
半導体装置
今日
AGC株式会社
太陽電池モジュール
今日
株式会社東芝
半導体装置
21日前
三菱電機株式会社
半導体装置
1か月前
日亜化学工業株式会社
光源
1日前
ローム株式会社
半導体集積回路
1か月前
日亜化学工業株式会社
発光装置
1か月前
ローム株式会社
半導体装置
1か月前
ローム株式会社
半導体装置
1か月前
株式会社半導体エネルギー研究所
発光デバイス
1か月前
株式会社半導体エネルギー研究所
発光デバイス
29日前
サンケン電気株式会社
半導体装置
21日前
ローム株式会社
半導体装置
1か月前
ローム株式会社
窒化物半導体装置
1か月前
ローム株式会社
半導体装置
6日前
株式会社半導体エネルギー研究所
発光デバイス
今日
日亜化学工業株式会社
発光素子
1か月前
大日本印刷株式会社
太陽電池
1か月前
新電元工業株式会社
半導体素子
6日前
新電元工業株式会社
半導体素子
6日前
新電元工業株式会社
半導体素子
6日前
日亜化学工業株式会社
発光装置
6日前
続きを見る
他の特許を見る