TOP
|
特許
|
意匠
|
商標
特許ウォッチ
Twitter
他の特許を見る
10個以上の画像は省略されています。
公開番号
2025181342
公報種別
公開特許公報(A)
公開日
2025-12-11
出願番号
2024089280
出願日
2024-05-31
発明の名称
半導体装置
出願人
株式会社東芝
代理人
弁理士法人iX
主分類
H10D
1/68 20250101AFI20251204BHJP()
要約
【課題】回路設計の自由度が高い半導体装置を提供する。
【解決手段】半導体装置は、貫通部が設けられた炭化シリコン層と、前記炭化シリコン層上に配置された窒化アルミニウム層と、前記窒化アルミニウム層上に配置された窒化ガリウム層と、前記貫通部の直上域の第1部分に配置された第1電極と、前記貫通部の直上域の第2部分に配置され、前記窒化ガリウム層及び前記窒化アルミニウム層を貫通した引出電極と、前記貫通部内における前記第1電極の直下域を含む領域に配置され、前記引出電極に接続された第2電極と、前記炭化シリコン層の下面上及び前記貫通部の側面上に配置された絶縁膜と、前記絶縁膜の下面上に配置され、前記貫通部内には配置されていない金属膜と、を備える。前記貫通部内の誘電率は、前記絶縁膜の誘電率よりも低い。
【選択図】図2
特許請求の範囲
【請求項1】
貫通部が設けられた炭化シリコン層と、
前記炭化シリコン層上に配置された窒化アルミニウム層と、
前記窒化アルミニウム層上に配置された窒化ガリウム層と、
前記貫通部の直上域の第1部分に配置された第1電極と、
前記貫通部の直上域の第2部分に配置され、前記窒化ガリウム層及び前記窒化アルミニウム層を貫通した引出電極と、
前記貫通部内における前記第1電極の直下域を含む領域に配置され、前記引出電極に接続された第2電極と、
前記炭化シリコン層の下面上及び前記貫通部の側面上に配置された絶縁膜と、
前記絶縁膜の下面上に配置され、前記貫通部内には配置されていない金属膜と、
を備え、
前記貫通部内の誘電率は、前記絶縁膜の誘電率よりも低い半導体装置。
続きを表示(約 600 文字)
【請求項2】
前記貫通部内に配置され、誘電率が前記絶縁膜の誘電率よりも低い低誘電率部材をさらに備えた請求項1に記載の半導体装置。
【請求項3】
前記低誘電率部材は酸化シリコンを含む請求項2に記載の半導体装置。
【請求項4】
前記貫通部内は中空である請求項1に記載の半導体装置。
【請求項5】
前記金属膜は前記貫通部の直下域には配置されていない請求項1に記載の半導体装置。
【請求項6】
前記絶縁膜は前記第2電極の下面を覆う請求項1に記載の半導体装置。
【請求項7】
前記絶縁膜は前記第2電極の下面を覆わない請求項1に記載の半導体装置。
【請求項8】
前記第1電極は前記窒化ガリウム層の上面に接しており、
前記第2電極は前記窒化ガリウム層の下面に接している請求項1~7のいずれか1つに記載の半導体装置。
【請求項9】
前記第1電極は前記窒化アルミニウム層の上面に接しており、
前記第2電極は前記窒化アルミニウム層の下面に接している請求項1~7のいずれか1つに記載の半導体装置。
【請求項10】
前記第1電極は前記窒化ガリウム層の上面に接しており、
前記第2電極は前記窒化アルミニウム層の下面に接している請求項1~7のいずれか1つに記載の半導体装置。
発明の詳細な説明
【技術分野】
【0001】
実施形態は、半導体装置に関する。
続きを表示(約 2,100 文字)
【背景技術】
【0002】
MMIC(Monolithic Microwave Integrated Circuit:モノリシック・マイクロ波集積回路)が形成された半導体装置においては、1つの半導体基板上にHEMT(High Electron Mobility Transistor:高電子移動度トランジスタ)及びMIM(Metal-Insulator-Metal:金属-絶縁物-金属)キャパシタを混載させる場合がある。このような半導体装置においては、回路設計の自由度の向上が望まれている。
【先行技術文献】
【特許文献】
【0003】
特開2018-117066号公報
【発明の概要】
【発明が解決しようとする課題】
【0004】
実施形態の目的は、回路設計の自由度が高い半導体装置を提供することである。
【課題を解決するための手段】
【0005】
実施形態に係る半導体装置は、貫通部が設けられた炭化シリコン層と、前記炭化シリコン層上に配置された窒化アルミニウム層と、前記窒化アルミニウム層上に配置された窒化ガリウム層と、前記貫通部の直上域の第1部分に配置された第1電極と、前記貫通部の直上域の第2部分に配置され、前記窒化ガリウム層及び前記窒化アルミニウム層を貫通した引出電極と、前記貫通部内における前記第1電極の直下域を含む領域に配置され、前記引出電極に接続された第2電極と、前記炭化シリコン層の下面上及び前記貫通部の側面上に配置された絶縁膜と、前記絶縁膜の下面上に配置され、前記貫通部内には配置されていない金属膜と、を備える。前記貫通部内の誘電率は、前記絶縁膜の誘電率よりも低い。
【図面の簡単な説明】
【0006】
図1は、第1の実施形態に係る半導体装置を示す平面図である。
図2は、第1の実施形態に係る半導体装置を示す断面図である。
図3は、第1の実施形態に係る半導体装置の製造方法を示す断面図である。
図4は、第1の実施形態に係る半導体装置の製造方法を示す断面図である。
図5は、第1の実施形態に係る半導体装置の製造方法を示す断面図である。
図6は、第1の実施形態に係る半導体装置の製造方法を示す断面図である。
図7は、第1の実施形態に係る半導体装置の製造方法を示す断面図である。
図8は、第1の実施形態に係る半導体装置の製造方法を示す断面図である。
図9は、第1の実施形態に係る半導体装置の製造方法を示す断面図である。
図10は、第1の実施形態に係る半導体装置の製造方法を示す断面図である。
図11は、第2の実施形態に係る半導体装置を示す断面図である。
図12は、第3の実施形態に係る半導体装置を示す断面図である。
図13は、第4の実施形態に係る半導体装置を示す断面図である。
図14は、第5の実施形態に係る半導体装置を示す断面図である。
図15は、第6の実施形態に係る半導体装置を示す断面図である。
図16は、第7の実施形態に係る半導体装置を示す断面図である。
図17は、第8の実施形態に係る半導体装置を示す断面図である。
図18は、第9の実施形態に係る半導体装置を示す断面図である。
【発明を実施するための形態】
【0007】
<第1の実施形態>
本実施形態においては、HEMTとMIMを混載したMMICが設けられた半導体装置について説明する。なお、HEMTについては、説明を省略する。
【0008】
(半導体装置)
先ず、本実施形態に係る半導体装置の構成について説明する。
図1は、本実施形態に係る半導体装置を示す平面図である。
図2は、本実施形態に係る半導体装置を示す断面図である。
なお、各図は模式的なものであり、適宜、強調及び簡略化されている。後述する他の図についても、同様である。
【0009】
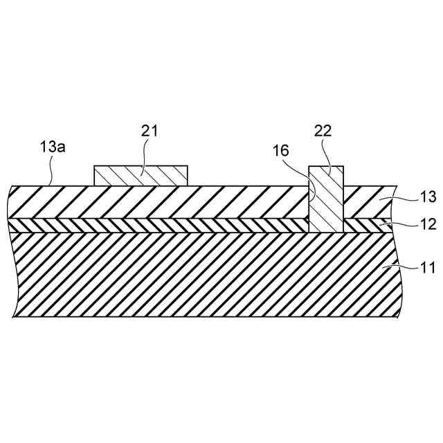
図1及び図2に示すように、本実施形態に係る半導体装置1においては、炭化シリコン層(以下、「SiC層11」という)、窒化アルミニウム層(以下、「AlN層12」という)、窒化ガリウム層(以下、「GaN層13」という)、表面電極21、引出電極22、裏面電極23、絶縁膜25、低誘電率部材26、及び、金属膜27が設けられている。
【0010】
SiC層11には貫通部17が設けられている。AlN層12はSiC層11上に配置されている。AlN層12は、SiC層11における貫通部17上にも配置されている。AlN層12には、貫通部18が設けられている。GaN層13はAlN層12上に配置されている。GaN層13はAlN層12の貫通部18上にも配置されている。GaN層13上には窒化ガリウムアルミニウム層(AlGaN層、図示せず)が設けられていてもよい。
(【0011】以降は省略されています)
この特許をJ-PlatPat(特許庁公式サイト)で参照する
関連特許
株式会社東芝
端子台
1か月前
株式会社東芝
モータ
2か月前
株式会社東芝
電子源
7日前
株式会社東芝
センサ
2か月前
株式会社東芝
センサ
2か月前
株式会社東芝
電子装置
1か月前
株式会社東芝
除去装置
1か月前
株式会社東芝
電子装置
2か月前
株式会社東芝
吸音装置
2か月前
株式会社東芝
電子回路
1か月前
株式会社東芝
金型構造
2か月前
株式会社東芝
半導体装置
1か月前
株式会社東芝
半導体装置
8日前
株式会社東芝
半導体装置
2か月前
株式会社東芝
半導体装置
2か月前
株式会社東芝
半導体装置
1か月前
株式会社東芝
半導体装置
1か月前
株式会社東芝
半導体装置
1か月前
株式会社東芝
真空バルブ
8日前
株式会社東芝
高周波回路
1か月前
株式会社東芝
半導体装置
2か月前
株式会社東芝
半導体装置
1か月前
株式会社東芝
半導体装置
1か月前
株式会社東芝
半導体装置
14日前
株式会社東芝
半導体装置
1か月前
株式会社東芝
半導体装置
1か月前
株式会社東芝
半導体装置
1か月前
株式会社東芝
真空バルブ
1か月前
株式会社東芝
半導体装置
22日前
株式会社東芝
粒子加速器
2か月前
株式会社東芝
半導体装置
1か月前
株式会社東芝
半導体装置
8日前
株式会社東芝
半導体装置
1か月前
株式会社東芝
真空バルブ
3日前
株式会社東芝
半導体装置
2か月前
株式会社東芝
半導体装置
1か月前
続きを見る
他の特許を見る