TOP
|
特許
|
意匠
|
商標
特許ウォッチ
Twitter
他の特許を見る
公開番号
2025181471
公報種別
公開特許公報(A)
公開日
2025-12-11
出願番号
2024089474
出願日
2024-05-31
発明の名称
太陽電池モジュール
出願人
AGC株式会社
代理人
個人
主分類
H10F
19/80 20250101AFI20251204BHJP()
要約
【課題】太陽光発電セルの劣化を抑制可能な太陽電池モジュールを提供すること。
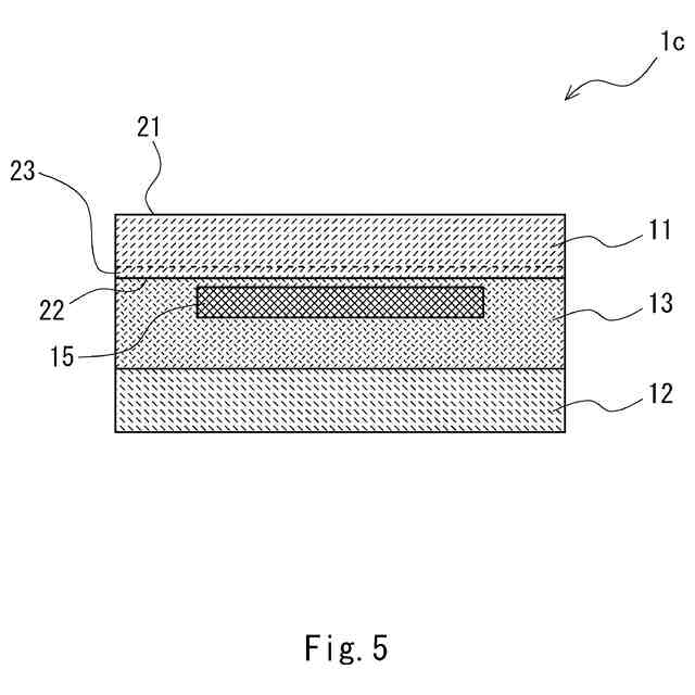
【解決手段】本発明の一態様にかかる太陽電池モジュール1は、第1透光部材11と、第2透光部材12と、第1透光部材11と第2透光部材12との間に配置され、第1透光部材11と第2透光部材12とを接着している中間接着膜13と、中間接着膜13の内部に封入されている太陽光発電セル15と、を備える。第1透光部材11および第2透光部材12の少なくとも一方は、第1主面21、31と第2主面22、32とを備えるガラス板であり、ガラス板の第2主面22、32におけるSn濃度は、第1主面21、31におけるSn濃度よりも高く、ガラス板は、ガラス板の第2主面22、32が太陽光発電セル15側となるように配置されている。
【選択図】図2
特許請求の範囲
【請求項1】
第1透光部材と、
前記第1透光部材と対向するように配置された第2透光部材と、
前記第1透光部材と前記第2透光部材との間に配置され、前記第1透光部材と前記第2透光部材とを接着している中間接着膜と、
前記中間接着膜の内部に封入されている太陽光発電セルと、を備え、
前記第1透光部材および前記第2透光部材の少なくとも一方は、第1主面と第2主面とを備えるガラス板であり、
前記ガラス板の前記第2主面におけるSn濃度は、前記第1主面におけるSn濃度よりも高く、
前記ガラス板は、前記ガラス板の前記第2主面が前記太陽光発電セル側となるように配置されている、
太陽電池モジュール。
続きを表示(約 1,100 文字)
【請求項2】
前記ガラス板の前記第2主面側を蛍光X線分析により測定した際の前記Snに基づくNet強度が、300cps以上である、請求項1に記載の太陽電池モジュール。
【請求項3】
前記ガラス板は厚さ方向においてNa濃度に勾配があり、前記ガラス板の前記第2主面のNa濃度は前記第1主面のNa濃度よりも低い、請求項1または2に記載の太陽電池モジュール。
【請求項4】
前記ガラス板の厚さ方向の中央部におけるNa濃度D
0
(質量%)を基準とした際の前記第2主面のNa濃度D
2
(質量%)が、D
0
-2.50≦D
2
≦D
0
-0.50である、請求項3に記載の太陽電池モジュール。
【請求項5】
前記ガラス板の厚さ方向の中央部におけるNa濃度D
0
(質量%)を基準とした際の前記第2主面のNa濃度D
2
(質量%)が、D
0
-1.50≦D
2
≦D
0
-0.80である、請求項3に記載の太陽電池モジュール。
【請求項6】
前記ガラス板の前記第1主面におけるNa濃度D
1
(質量%)と、前記第2主面におけるNa濃度D
2
(質量%)との濃度差(D
1
-D
2
)が、0.30質量%以上0.90質量%以下である、請求項3に記載の太陽電池モジュール。
【請求項7】
前記ガラス板の厚さが2mm以上19mm以下である、請求項1または2に記載の太陽電池モジュール。
【請求項8】
前記太陽光発電セルがシリコン系の太陽光発電セルである、請求項1または2に記載の太陽電池モジュール。
【請求項9】
前記太陽光発電セルは片面受光型の太陽光発電セルであり、
前記ガラス板は、前記ガラス板の前記第2主面が前記太陽光発電セルの前記受光面側となるように配置されている、
請求項1または2に記載の太陽電池モジュール。
【請求項10】
前記第1透光部材および前記第2透光部材は前記ガラス板で構成されており、
前記第1透光部材を構成している前記ガラス板は、前記ガラス板の前記第2主面が前記太陽光発電セル側となるように配置されており、
前記第2透光部材を構成している前記ガラス板は、前記ガラス板の前記第2主面が前記太陽光発電セル側となるように配置されている、
請求項1または2に記載の太陽電池モジュール。
(【請求項11】以降は省略されています)
発明の詳細な説明
【技術分野】
【0001】
本発明は、太陽電池モジュールに関する。
続きを表示(約 1,100 文字)
【背景技術】
【0002】
近年、自然エネルギーを利用するために、複数の太陽光発電セルが設けられた太陽電池モジュールの利用が進められている。特に、合わせガラスの内部に複数の太陽光発電セルが封入された太陽電池モジュールが広く利用されている。
【0003】
特許文献1には、2枚のガラス板の間に複数の太陽光発電セルを配置したガラス建材に関する技術が開示されている。
【先行技術文献】
【特許文献】
【0004】
国際公開第2018/056286号
【発明の概要】
【発明が解決しようとする課題】
【0005】
背景技術で説明したように、合わせガラスの内部に複数の太陽光発電セルが封入された太陽電池モジュールが広く利用されている。このような太陽電池モジュールは、例えば、2枚のガラス板を接着している中間接着膜の内部に複数の太陽光発電セルが封入された構成を備える。
【0006】
ところで、ガラス板はNa成分を含むため、このガラス板のNa成分が中間接着膜の内部へと拡散し、太陽光発電セルに到達する場合がある。このように、Na成分が太陽光発電セルへと拡散すると、太陽光発電セルが劣化するという問題がある。
【0007】
上記課題に鑑み本発明の目的は、太陽光発電セルの劣化を抑制可能な太陽電池モジュールを提供することである。
【課題を解決するための手段】
【0008】
本発明の一態様にかかる太陽電池モジュールは下記の通りである。
【0009】
[1]
第1透光部材と、
前記第1透光部材と対向するように配置された第2透光部材と、
前記第1透光部材と前記第2透光部材との間に配置され、前記第1透光部材と前記第2透光部材とを接着している中間接着膜と、
前記中間接着膜の内部に封入されている太陽光発電セルと、を備え、
前記第1透光部材および前記第2透光部材の少なくとも一方は、第1主面と第2主面とを備えるガラス板であり、
前記ガラス板の前記第2主面におけるSn濃度は、前記第1主面におけるSn濃度よりも高く、
前記ガラス板は、前記ガラス板の前記第2主面が前記太陽光発電セル側となるように配置されている、
太陽電池モジュール。
【0010】
[2]
前記ガラス板の前記第2主面側を蛍光X線分析により測定した際の前記Snに基づくNet強度が、300cps以上である、[1]に記載の太陽電池モジュール。
(【0011】以降は省略されています)
この特許をJ-PlatPat(特許庁公式サイト)で参照する
関連特許
AGC株式会社
ガラススピーカ
1日前
AGC株式会社
ガラス板検査方法
1日前
AGC株式会社
フッ素樹脂組成物
1か月前
AGC株式会社
太陽電池モジュール
1日前
AGC株式会社
ガラス材料、結晶化ガラス
1か月前
AGC株式会社
調光デバイスおよび調光方法
1か月前
AGC株式会社
反射型マスクブランクの製造方法
1か月前
AGC株式会社
フラットハーネス付き車両用窓ガラス
1か月前
AGC株式会社
位相差素子、円偏光板、及び光学部品
1か月前
AGC株式会社
搬送治具、搬送システム及び搬送方法
22日前
AGC株式会社
フッ素樹脂接合部材およびその製造方法
8日前
AGC株式会社
フラットハーネス付き車両用窓ガラスシステム
1か月前
AGC株式会社
ホルダー付き車両用窓ガラス及びサッシュレスドア
23日前
AGC株式会社
水性分散液、及び水性分散液を用いた積層体の製造方法
2日前
AGC株式会社
水性分散液
1か月前
AGC株式会社
光学フィルタ
7日前
AGC株式会社
光学フィルタ
14日前
AGC株式会社
含フッ素化合物
24日前
AGC株式会社
結晶化ガラス、化学強化結晶化ガラス及び結晶化ガラスの試験方法
3日前
AGC株式会社
化学強化ガラス、画像表示装置用カバーガラス、防汚層付きガラス材
1か月前
AGC株式会社
ガラス基板の製造方法
28日前
AGC株式会社
樹脂組成物、硬化物、積層体、積層体の製造方法、及び光学部品の製造方法
9日前
AGC株式会社
プリフォームの製造方法、光学素子の製造方法、及び光学素子用プリフォーム
1か月前
林テレンプ株式会社
コリメート用プリズムおよび車両の窓ガラス用照明構造
1か月前
AGC株式会社
反射型マスクブランク、反射型マスク、反射型マスクブランクの製造方法、及び反射型マスクの製造方法
22日前
AGC株式会社
高周波デバイス用ガラス基板、液晶アンテナ及び高周波デバイス
1か月前
AGC株式会社
ガラス溶解炉、ガラス製品の製造設備、およびガラス製品の製造方法
1か月前
AGC株式会社
窒化珪素質焼結体、ベアリング用転動体、窒化珪素質素球、及びベアリング
22日前
AGC株式会社
結晶化ガラス、高周波用基板、液晶用アンテナおよび結晶化ガラスの製造方法
1か月前
AGC株式会社
多孔質ガラス材料、多孔質ガラス材料前駆体の製造方法、多孔質ガラス材料の製造方法、多孔質構造体、物質捕捉フィルター、及び物質捕捉方法
8日前
AGC株式会社
反射型マスクブランク、反射型マスク、反射型マスクブランクの製造方法、及び反射型マスクの製造方法
28日前
AGC株式会社
樹脂層付きガラス板の製造方法、樹脂層付きガラス板、ガラス板、太陽光発電モジュール、太陽光発電モジュールの製造方法
14日前
AGC株式会社
樹脂層付きガラス板の製造方法、樹脂層付きガラス板、ガラス板、太陽光発電モジュール、太陽光発電モジュールの製造方法
14日前
個人
積和演算用集積回路
1か月前
日亜化学工業株式会社
発光装置
1日前
サンケン電気株式会社
半導体装置
1か月前
続きを見る
他の特許を見る