TOP
|
特許
|
意匠
|
商標
特許ウォッチ
Twitter
他の特許を見る
10個以上の画像は省略されています。
公開番号
2025174958
公報種別
公開特許公報(A)
公開日
2025-11-28
出願番号
2025093214,2025509146
出願日
2025-06-04,2025-02-05
発明の名称
樹脂層付きガラス板の製造方法、樹脂層付きガラス板、ガラス板、太陽光発電モジュール、太陽光発電モジュールの製造方法
出願人
AGC株式会社
代理人
個人
,
個人
,
個人
,
個人
主分類
C03C
15/00 20060101AFI20251120BHJP(ガラス;鉱物またはスラグウール)
要約
【課題】落下物に対する優れた耐性を有する樹脂層付きガラスが得られる樹脂層付きガラス板の製造方法の提供。
【解決手段】ガラス板の少なくとも一方の面に対して、エッチングおよび洗浄を実施し、その後、上記一方の面の傷を実質的に増加させることなく、上記一方の面に対して樹脂層を形成する、樹脂層付きガラス板の製造方法。
【選択図】なし
特許請求の範囲
【請求項1】
受光面と、前記受光面とは反対側の裏面とを有する太陽光発電基板、および、前記太陽光発電基板の前記受光面側に配置される受光面側ガラス板を有する太陽光発電モジュールであって、
前記受光面側ガラス板の前記太陽光発電基板側の表面に、直径1~100μmであって、深さ0.01~10μmである凹部を0.1個/cm
2
以上有する、太陽光発電モジュール。
続きを表示(約 980 文字)
【請求項2】
前記受光面側ガラス板に対してエッチング試験を実施する前後で、少なくとも一方の面の凹部の数密度の増加量が、10個/cm
2
以下である、請求項1に記載の太陽光発電モジュール。
ただし、前記エッチング試験は、5質量%のフッ化水素、15質量%塩化水素および80質量%の水を含むエッチング液に対して、前記エッチング液の温度を25℃として10分間ガラス板を浸漬する試験である。
【請求項3】
前記受光面側ガラス板が、化学強化ガラスまたは物理強化ガラスである、請求項1または2に記載の太陽光発電モジュール。
【請求項4】
前記受光面側ガラス板が、酸化物基準のモル%表示で、
SiO
2
を52~75%、
Al
2
O
3
を0~20%、
Na
2
Oを1~20%、含有する、請求項1または2に記載の太陽光発電モジュール。
【請求項5】
前記受光面側ガラス板に対して前記エッチング試験を実施する前後で、凹部の数密度の増加量が、10個/cm
2
以下である面が、前記太陽光発電基板側に配置される、請求項2に記載の太陽光発電モジュール。
【請求項6】
前記受光面側ガラス板が、下記要件A1、下記要件A2および下記要件A3のいずれか1つ以上を満たす、請求項1または2に記載の太陽光発電モジュール。
要件A1:前記受光面側ガラス板の前記太陽光発電基板側における圧縮応力層深さが、前記受光面側ガラス板の前記太陽光発電基板側とは反対側の圧縮応力層深さよりも小さい。
要件A2:前記受光面側ガラス板の前記太陽光発電基板側における圧縮応力が、前記受光面側ガラス板の前記太陽光発電基板側とは反対側の圧縮応力よりも小さい。
要件A3:前記受光面側ガラス板が、前記太陽光発電基板側とは反対側を凸に反る。
【請求項7】
前記受光面側ガラス板の前記太陽光発電基板側とは反対側の面において、前記受光面側ガラス板の周縁部の少なくとも一部において、前記受光面側ガラス板の板厚が薄くなっている段差部を有する、請求項1または2に記載の太陽光発電モジュール。
発明の詳細な説明
【技術分野】
【0001】
本発明は、樹脂層付きガラス板の製造方法に関する。
また、本発明は、樹脂層付きガラス板およびガラス板にも関する。
また、本発明は、太陽光発電モジュールおよび太陽光発電モジュールの製造方法にも関する。
続きを表示(約 4,200 文字)
【背景技術】
【0002】
近年、携帯電話、スマートフォン、および、タブレット端末等のディスプレイ装置の保護ならびに美観を高める目的で、カバーガラスが用いられている。これらの用途のカバーガラスには、衝撃等による破損を抑制するため、優れた強度が求められている。
また、上記のようなカバーガラスは、太陽光発電モジュール、および、各種センサ類等の保護に用いられることもある。
【0003】
一方で、ガラス板を薄くする技術の一つとして、エッチングによる方法が知られている。例えば、特許文献1においては、フッ酸を含むエッチング液を用いて、ガラス板の表面をエッチングする方法が開示されている。
【先行技術文献】
【特許文献】
【0004】
特開2017-081767号公報
【発明の概要】
【発明が解決しようとする課題】
【0005】
本発明者らが、上記特許文献1等に記載のガラス板のエッチングについて検討し、樹脂層付きガラス板を得たところ、得られる樹脂層付きガラス板において、雹等の落下物に対する耐性に改善の余地があることを知見した。
【0006】
本発明は、上記課題に鑑みてなされたものであり、落下物に対する優れた耐性を有する樹脂層付きガラスが得られる樹脂層付きガラス板の製造方法の提供を課題とする。
また、本発明は、樹脂層付きガラス板の提供も課題とする。
また、本発明は、ガラス板の提供も課題とする。
また、本発明は、太陽光発電モジュールおよび太陽光発電モジュールの製造方法の提供も課題とする。
【課題を解決するための手段】
【0007】
本発明者らは、上記課題について鋭意検討した結果、エッチング後のガラス板の表面に対して、一方の面の傷を実質的に増加させることなく樹脂層を形成すると、落下物に対する優れた耐性を有する樹脂層付きガラス板が得られることを見出し、本発明に至った。
すなわち、発明者らは、以下の構成により上記課題が解決できることを見出した。
【0008】
〔1〕 ガラス板の少なくとも一方の面に対して、エッチングおよび洗浄を実施し、その後、上記一方の面の傷を実質的に増加させることなく、上記一方の面に対して樹脂層を形成する、樹脂層付きガラス板の製造方法。
〔2〕 上記樹脂層以外に触れることなく、上記一方の面に対して上記樹脂層を形成する、〔1〕に記載の樹脂層付きガラス板の製造方法。
〔3〕 上記ガラス板が、化学強化ガラスまたは物理強化ガラスである、〔1〕または〔2〕に記載の樹脂層付ガラス板の製造方法。
〔4〕 上記ガラス板の片面のみに対してエッチングを実施する、〔1〕または〔2〕に記載の樹脂層付きガラス板の製造方法。
〔5〕 ガラス板と、樹脂層とを有する樹脂層付きガラス板であって、
上記ガラス板に対してエッチング試験を実施する前後で、上記ガラス板の少なくとも一方の面の凹部の数密度の増加量が、10個/cm
2
以下である、樹脂層付きガラス板。
ただし、上記エッチング試験は、5質量%のフッ化水素、15質量%塩化水素および80質量%の水を含むエッチング液に対して、上記エッチング液の温度を25℃として10分間ガラス板を浸漬する試験である。
〔6〕 上記ガラス板が、化学強化ガラスまたは物理強化ガラスである、〔5〕に記載の樹脂層付きガラス板。
〔7〕 以下の要件1および要件2の少なくとも一方を満たす、〔6〕に記載の樹脂層付きガラス板。
要件1:上記ガラス板の一方の面側の圧縮応力層の深さが、上記ガラス板の他方の面側の圧縮応力層の深さよりも小さい。
要件2:上記ガラス板の上記一方の面側における圧縮応力が、上記ガラス板の他方の面側の圧縮応力よりも小さい。
〔8〕 ガラス板であって、上記ガラス板の少なくとも一方の表面に、直径1~100μmであって、深さ0.01~10μmである凹部を0.1個/cm
2
以上有する、ガラス板。
〔9〕 上記ガラス板に対してエッチング試験を実施する前後で、少なくとも一方の面の凹部の数密度の増加量が、10個/cm
2
以下である、〔8〕に記載のガラス板。
ただし、上記エッチング試験は、5質量%のフッ化水素、15質量%塩化水素および80質量%の水を含むエッチング液に対して、上記エッチング液の温度を25℃として10分間ガラス板を浸漬する試験である。
〔10〕 化学強化ガラスまたは物理強化ガラスである、〔8〕に記載のガラス板。
〔11〕 以下の要件1および要件2の少なくとも一方を満たす、〔10〕に記載のガラス板。
〔12〕 酸化物基準のモル%表示で、
SiO
2
を52~75%、
Al
2
O
3
を0~20%、
Na
2
Oを1~20%、含有する、〔8〕~〔11〕のいずれか1つに記載のガラス板。
要件1:上記ガラス板の一方の面側の圧縮応力層の深さが、上記ガラス板の他方の面側の圧縮応力層の深さよりも小さい。
要件2:上記ガラス板の上記一方の面側における圧縮応力が、上記ガラス板の他方の面側の圧縮応力よりも小さい。
〔13〕 〔8〕~〔12〕のいずれか1つに記載のガラス板と、太陽光発電基板とを有する太陽光発電モジュールであって、
上記ガラス板に対して上記エッチング試験を実施する前後で、凹部の数密度の増加量が、10個/cm
2
以下である面が、上記太陽光発電基板側に配置される、太陽光発電モジュール。
〔14〕 ガラス板と、太陽光発電基板とを有する太陽光発電モジュールであって、上記ガラス板は物理強化ガラスであり、上記ガラス板の上記太陽光発電基板側の表面に、直径1~100μmであって、深さ0.01~10μmである凹部を0.1個/cm
2
以上有する、太陽光発電モジュール。
〔15〕 受光面と、上記受光面とは反対側の裏面とを有する太陽光発電基板、および、上記太陽光発電基板の上記受光面側に配置され、受光面側ガラス板を有する太陽光発電モジュールであって、
上記受光面側ガラス板が、下記要件A1、下記要件A2および下記要件A3のいずれか1つ以上を満たす、太陽光発電モジュール。
要件A1:上記受光面側ガラス板の上記太陽光発電基板側における圧縮応力層深さが、上記受光面側ガラス板の上記太陽光発電基板側とは反対側の圧縮応力層深さよりも小さい。
要件A2:上記受光面側ガラス板の上記太陽光発電基板側における圧縮応力が、上記受光面側ガラス板の上記太陽光発電基板側とは反対側の圧縮応力よりも小さい。
要件A3:上記受光面側ガラス板が、上記太陽光発電基板側とは反対側を凸に反る。
〔16〕 上記受光面側ガラス板の上記太陽光発電基板側とは反対側の面において、上記受光面側ガラス板の周縁部の少なくとも一部において、上記受光面側ガラス板の板厚が薄くなっている段差部を有する、〔15〕に記載の太陽光発電モジュール。
〔17〕 ガラス板の少なくとも一方の面に対して、エッチングおよび洗浄を実施し、上記一方の面側に太陽光発電基板を配置する、太陽光発電モジュールの製造方法。
〔18〕 受光面と、上記受光面とは反対側の裏面とを有する太陽光発電基板の上記受光面側に受光面側ガラス板を配置し、上記裏面側に裏面側ガラス板を配置して太陽光発電モジュールを得る、太陽光発電モジュールの製造方法であって、
上記受光面側ガラス板の上記太陽光発電基板側、および、上記裏面側ガラス板の上記太陽光発電基板側とは反対側の少なくとも一方に対してエッチングおよび洗浄を行う、太陽光発電モジュールの製造方法。
〔19〕 孔部を有する上記裏面側ガラス板に対して、エッチングおよび洗浄を行う、〔18〕に記載の太陽光発電モジュールの製造方法。
【発明の効果】
【0009】
本発明によれば、落下物に対する優れた耐性を有する樹脂層付きガラス板が得られる樹脂層付きガラス板の製造方法を提供できる。
また、本発明によれば、樹脂層付きガラス板も提供できる。
また、本発明によれば、ガラス板も提供できる。
また、本発明によれば、太陽光発電モジュールおよび太陽光発電モジュールの製造方法も提供できる。
【図面の簡単な説明】
【0010】
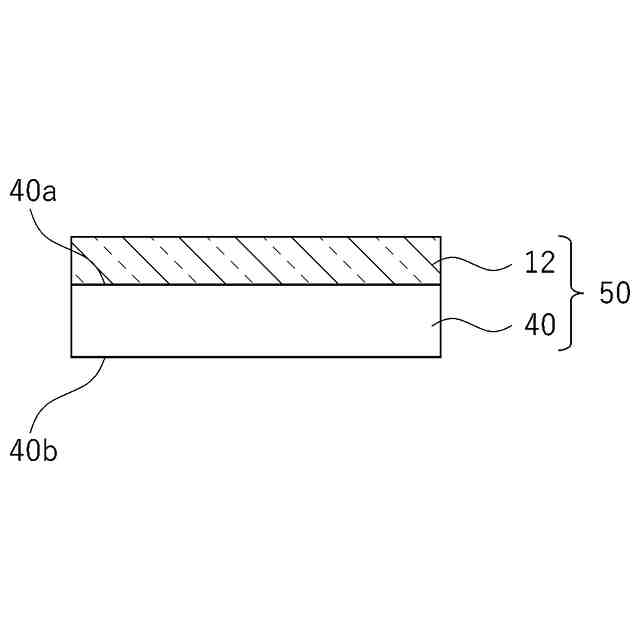
樹脂層付きガラス板の例を示す断面模式図である。
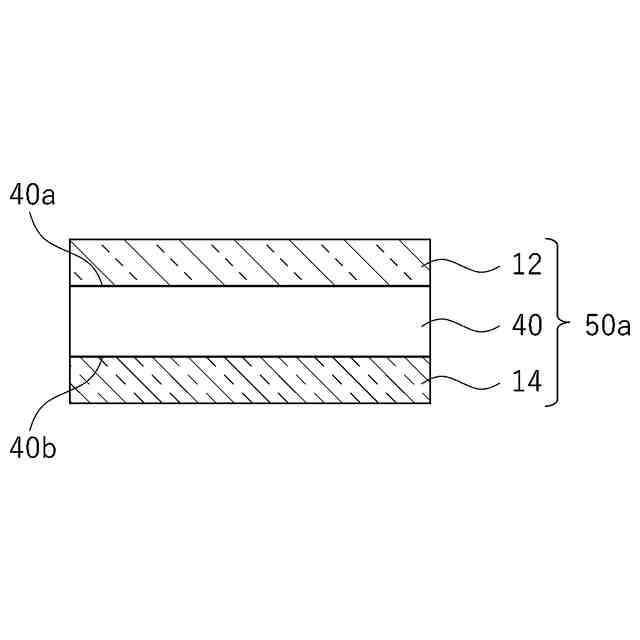
本発明の太陽光発電モジュールの例を示す断面模式図である。
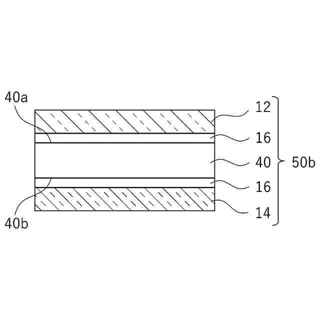
本発明の太陽光発電モジュールの他の例を示す断面模式図である。
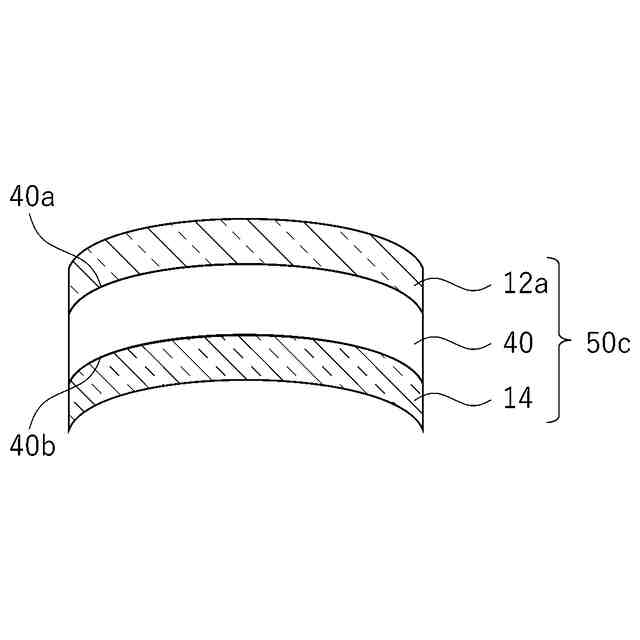
太陽光発電モジュールの他の例の変形例を示す断面模式図である。
要件A3を満たす場合の太陽光発電モジュールの断面模式図である。
本発明の太陽光発電モジュールの一態様において用いられるガラス板の上面図である。
図6に示すガラス板のA-A断面図である。
段差部を有するガラス板を、太陽光発電モジュールの受光面側ガラス板として用いた態様の断面模式図である。
段差部を有するガラス板を太陽光発電モジュールの受光面側ガラス板として用いた態様の変形例の断面模式図である。
段差部を有するガラス板を太陽光発電モジュールの裏面側ガラス板として用いた態様の断面模式図である。
孔部を有する裏面側ガラスの上面図である。
落下物に対する強度を評価する為に用いた落球強度試験機の概略図である。
落球強度試験機による試験によってクラックが生じたサンプルの例の写真である。
エッチング後における凹部の顕微鏡観察像の模式図である。
【発明を実施するための形態】
(【0011】以降は省略されています)
この特許をJ-PlatPat(特許庁公式サイト)で参照する
関連特許
AGC株式会社
真空断熱材
2か月前
AGC株式会社
顔面用貼付材
1か月前
AGC株式会社
感光性ガラス
2か月前
AGC株式会社
合紙積層装置
1か月前
AGC株式会社
車両用窓ガラス
1か月前
AGC株式会社
積層体及び移動体
1か月前
AGC株式会社
フッ素樹脂組成物
21日前
AGC株式会社
太陽電池モジュール
2か月前
AGC株式会社
積層板および光学素子
2か月前
AGC株式会社
インフィニティミラー
1か月前
AGC株式会社
ガラス材料、結晶化ガラス
1か月前
AGC株式会社
調光デバイスおよび調光方法
29日前
AGC株式会社
車両用窓ガラスとその製造方法
1か月前
AGC株式会社
複層ガラス、高地対応複層ガラス
2か月前
AGC株式会社
反射型マスクブランクの製造方法
1か月前
AGC株式会社
光学素子の製造方法、及び光学素子
1か月前
AGC株式会社
位相差素子、円偏光板、及び光学部品
1か月前
AGC株式会社
フラットハーネス付き車両用窓ガラス
1か月前
AGC株式会社
車両用窓ガラス及びサッシュレスドア
1か月前
AGC株式会社
搬送治具、搬送システム及び搬送方法
8日前
AGC株式会社
稠密シートの製造方法、及び稠密シート
2か月前
AGC株式会社
フラットハーネス付き車両用窓ガラスシステム
1か月前
AGC株式会社
車両用ガラス板、及び車両用ガラス板の製造方法
1か月前
AGC株式会社
ホルダー付き車両用窓ガラス及びサッシュレスドア
9日前
AGC株式会社
化学強化結晶化ガラスおよび化学強化用結晶化ガラス
2か月前
AGC株式会社
強化ガラスの応力測定装置、強化ガラスの応力測定方法
2か月前
AGC株式会社
文書分析方法、文書分析プログラム、及び文書分析装置
1か月前
AGC株式会社
光学素子
2か月前
AGC株式会社
水性分散液
21日前
AGC株式会社
結晶化ガラス
2か月前
AGC株式会社
光学フィルタ
今日
AGC株式会社
合わせガラス
1か月前
AGC株式会社
含フッ素化合物
10日前
AGC株式会社
無アルカリガラス
1か月前
AGC株式会社
ガラス、ガラス粉末、混合粉、ガラスペースト、及びグリーンシート
1か月前
AGC株式会社
テキスト生成方法、テキスト生成プログラム、及びテキスト生成装置
1か月前
続きを見る
他の特許を見る