TOP
|
特許
|
意匠
|
商標
特許ウォッチ
Twitter
他の特許を見る
公開番号
2025139176
公報種別
公開特許公報(A)
公開日
2025-09-26
出願番号
2024037978
出願日
2024-03-12
発明の名称
太陽電池モジュール
出願人
AGC株式会社
代理人
個人
主分類
H10F
19/80 20250101AFI20250918BHJP()
要約
【課題】製造コストを抑えつつ、耐久性を向上可能な太陽電池モジュールを提供すること。
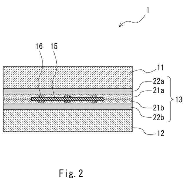
【解決手段】本発明の一態様にかかる太陽電池モジュール1は、第1透光部材11と、第2透光部材12と、第1透光部材11と第2透光部材12との間に配置された中間接着膜13と、第1透光部材11と第2透光部材との間に配置され、中間接着膜13によって封止されている太陽光発電セル15と、を備える。中間接着膜13は、太陽光発電セル15を挟むように配置された熱可塑性樹脂21a、21bと、熱可塑性樹脂21a、21bを挟むように配置されたアイオノマー22a、22bと、が積層されて構成されている。
【選択図】図2
特許請求の範囲
【請求項1】
第1透光部材と、
前記第1透光部材と対向するように配置された第2透光部材と、
前記第1透光部材と前記第2透光部材との間に配置された中間接着膜と、
前記第1透光部材と前記第2透光部材との間に配置され、前記中間接着膜によって封止されている太陽光発電セルと、を備え、
前記中間接着膜は、
前記太陽光発電セルを挟むように配置された熱可塑性樹脂と、
前記熱可塑性樹脂を挟むように配置されたアイオノマーと、が積層されて構成されている、
太陽電池モジュール。
続きを表示(約 980 文字)
【請求項2】
前記熱可塑性樹脂の軟化温度が50℃以上100℃以下であり、
前記アイオノマーの軟化温度が80℃以上95℃以下である、
請求項1に記載の太陽電池モジュール。
【請求項3】
前記熱可塑性樹脂がオレフィン系熱可塑性エラストマーまたはポリビニルブチラールである、請求項1または2に記載の太陽電池モジュール。
【請求項4】
前記アイオノマーがエチレン-メタクリル酸共重合体である、請求項1または2に記載の太陽電池モジュール。
【請求項5】
前記アイオノマーの厚さは前記熱可塑性樹脂の厚さよりも薄い、請求項1または2に記載の太陽電池モジュール。
【請求項6】
前記太陽光発電セルの表面に配置された配線が前記熱可塑性樹脂で覆われている、請求項1または2に記載の太陽電池モジュール。
【請求項7】
前記熱可塑性樹脂は、
前記太陽光発電セルの第1主面と接するように設けられた第1熱可塑性樹脂と、
前記太陽光発電セルの前記第1主面と反対側の第2主面と接するように設けられた第2熱可塑性樹脂と、を備え、
前記アイオノマーは、
前記第1熱可塑性樹脂と接するように設けられた第1アイオノマーと、
前記第2熱可塑性樹脂と接するように設けられた第2アイオノマーと、を備える、
請求項1または2に記載の太陽電池モジュール。
【請求項8】
前記第1及び第2熱可塑性樹脂の厚さがそれぞれ200μmよりも厚く、
前記第1及び第2アイオノマーの厚さがそれぞれ200μm以上500μm以下である、
請求項7に記載の太陽電池モジュール。
【請求項9】
前記第1及び第2熱可塑性樹脂の厚さと前記第1及び第2アイオノマーの厚さの合計は、前記太陽光発電セルの厚さと当該太陽光発電セルの表面に配置された配線の厚さの合計よりも厚い、請求項7に記載の太陽電池モジュール。
【請求項10】
前記第1及び第2熱可塑性樹脂の厚さは、前記太陽光発電セルの厚さと当該太陽光発電セルの表面に配置された配線の厚さの合計以上である、請求項7に記載の太陽電池モジュール。
(【請求項11】以降は省略されています)
発明の詳細な説明
【技術分野】
【0001】
本発明は、太陽電池モジュールに関する。
続きを表示(約 1,000 文字)
【背景技術】
【0002】
近年、自然エネルギーを利用するために、太陽光発電セルが設けられた太陽電池モジュールの利用が進められている。特に、合わせガラスの内部に太陽光発電セルが設けられた太陽電池モジュールが広く利用されている。
【0003】
特許文献1には、2枚のガラス板の間に複数の太陽光発電セルを配置したガラス建材に関する技術が開示されている。
【先行技術文献】
【特許文献】
【0004】
国際公開第2018/056286号
【発明の概要】
【発明が解決しようとする課題】
【0005】
特許文献1に開示されている技術では、中間接着膜(封止材)を用いて2枚のガラス板の間に複数の太陽光発電セルを封止している。このような太陽電池モジュールでは、中間接着膜にアイオノマーを用いることで太陽電池モジュールの耐久性を向上させられる。
【0006】
しかしながら、アイオノマーは高価なため、中間接着膜にアイオノマーを用いた場合は太陽電池モジュールの製造コストが高くなるという問題がある。
【0007】
上記課題に鑑み本発明の目的は、製造コストを抑えつつ、耐久性を向上可能な太陽電池モジュールを提供することである。
【課題を解決するための手段】
【0008】
本発明の一態様にかかる太陽電池モジュールは下記の通りである。
【0009】
[1]
第1透光部材と、
前記第1透光部材と対向するように配置された第2透光部材と、
前記第1透光部材と前記第2透光部材との間に配置された中間接着膜と、
前記第1透光部材と前記第2透光部材との間に配置され、前記中間接着膜によって封止されている太陽光発電セルと、を備え、
前記中間接着膜は、
前記太陽光発電セルを挟むように配置された熱可塑性樹脂と、
前記熱可塑性樹脂を挟むように配置されたアイオノマーと、が積層されて構成されている、
太陽電池モジュール。
【0010】
[2]
前記熱可塑性樹脂の軟化温度が50℃以上100℃以下であり、
前記アイオノマーの軟化温度が80℃以上95℃以下である、
[1]に記載の太陽電池モジュール。
(【0011】以降は省略されています)
この特許をJ-PlatPat(特許庁公式サイト)で参照する
関連特許
AGC株式会社
フッ素樹脂組成物
21日前
AGC株式会社
調光デバイスおよび調光方法
29日前
AGC株式会社
反射型マスクブランクの製造方法
1か月前
AGC株式会社
フラットハーネス付き車両用窓ガラス
1か月前
AGC株式会社
搬送治具、搬送システム及び搬送方法
8日前
AGC株式会社
位相差素子、円偏光板、及び光学部品
1か月前
AGC株式会社
フラットハーネス付き車両用窓ガラスシステム
1か月前
AGC株式会社
ホルダー付き車両用窓ガラス及びサッシュレスドア
9日前
AGC株式会社
水性分散液
21日前
AGC株式会社
光学フィルタ
今日
AGC株式会社
含フッ素化合物
10日前
AGC株式会社
ガラス基板の製造方法
14日前
AGC株式会社
プリフォームの製造方法、光学素子の製造方法、及び光学素子用プリフォーム
24日前
林テレンプ株式会社
コリメート用プリズムおよび車両の窓ガラス用照明構造
29日前
AGC株式会社
反射型マスクブランク、反射型マスク、反射型マスクブランクの製造方法、及び反射型マスクの製造方法
8日前
AGC株式会社
高周波デバイス用ガラス基板、液晶アンテナ及び高周波デバイス
1か月前
AGC株式会社
ガラス溶解炉、ガラス製品の製造設備、およびガラス製品の製造方法
21日前
AGC株式会社
窒化珪素質焼結体、ベアリング用転動体、窒化珪素質素球、及びベアリング
8日前
AGC株式会社
結晶化ガラス、高周波用基板、液晶用アンテナおよび結晶化ガラスの製造方法
29日前
AGC株式会社
反射型マスクブランク、反射型マスク、反射型マスクブランクの製造方法、及び反射型マスクの製造方法
14日前
AGC株式会社
樹脂層付きガラス板の製造方法、樹脂層付きガラス板、ガラス板、太陽光発電モジュール、太陽光発電モジュールの製造方法
今日
AGC株式会社
樹脂層付きガラス板の製造方法、樹脂層付きガラス板、ガラス板、太陽光発電モジュール、太陽光発電モジュールの製造方法
今日
個人
積和演算用集積回路
22日前
サンケン電気株式会社
半導体装置
21日前
旭化成株式会社
発光素子
1か月前
エイブリック株式会社
縦型ホール素子
1か月前
エイブリック株式会社
縦型ホール素子
1か月前
日機装株式会社
半導体発光装置
16日前
ローム株式会社
抵抗チップ
1か月前
ローム株式会社
半導体装置
今日
富士電機株式会社
半導体装置
1か月前
株式会社東芝
半導体装置
8日前
株式会社半導体エネルギー研究所
表示装置
今日
三菱電機株式会社
半導体装置
8日前
三菱電機株式会社
半導体装置
1か月前
株式会社半導体エネルギー研究所
表示装置
1か月前
続きを見る
他の特許を見る