TOP
|
特許
|
意匠
|
商標
特許ウォッチ
Twitter
他の特許を見る
10個以上の画像は省略されています。
公開番号
2025171284
公報種別
公開特許公報(A)
公開日
2025-11-20
出願番号
2024076455
出願日
2024-05-09
発明の名称
搬送治具、搬送システム及び搬送方法
出願人
AGC株式会社
代理人
個人
主分類
H01L
21/683 20060101AFI20251113BHJP(基本的電気素子)
要約
【課題】簡単な構成で基板の形状の違いに対応可能な搬送治具を実現する。
【解決手段】本開示の一形態に係る搬送治具(3)は、矩形状の基板を保持して搬送する際に用いられる搬送治具であって、L字形状に固定された第1の部分(4c)と第2の部分(4d)とを有する枠部(4)と、基板の形状に応じて配置される桟部(5)と、基板の形状に応じて枠部(4)及び桟部(5)に固定可能であって、基板の予め設定された周縁領域を保持するための複数の保持部(7)と、を備える。
【選択図】図1
特許請求の範囲
【請求項1】
矩形状の基板を保持して搬送する際に用いられる搬送治具であって、
L字形状に固定された第1の部分と第2の部分とを有する枠部と、
前記基板の形状に応じて配置される桟部と、
前記基板の形状に応じて前記枠部及び前記桟部に固定可能であって、前記基板の予め設定された周縁領域を保持するための複数の保持部と、
を備える、搬送治具。
続きを表示(約 2,000 文字)
【請求項2】
前記第1の部分と前記第2の部分とを2辺に有する仮想矩形状の対角線に沿って前記桟部が配置されるように、前記桟部は、前記第1の部分と前記第2の部分との固定部から延在している、請求項1に記載の搬送治具。
【請求項3】
前記枠部は、
前記第2の部分に固定され、前記第1の部分と平行に配置される第3の部分と、
前記第1の部分に固定され、前記第2の部分と平行に配置される第4の部分と、
を備え、
前記第3の部分における前記第2の部分に固定される側の端部に対して逆側の端部と、前記第4の部分における前記第1の部分に固定される側の端部に対して逆側の端部と、が固定され、
前記第1の部分と前記第2の部分と前記第3の部分と前記第4の部分とが前記仮想矩形状の各辺を形成し、
前記桟部における前記第1の部分と前記第2の部分との固定部の側に対して逆側の先端部は、前記第3の部分と前記第4の部分との固定部に固定され、
前記第4の部分は、予め設定された長さの分断部を有する、請求項2に記載の搬送治具。
【請求項4】
前記枠部は、
前記第2の部分が延在する方向に移動可能に当該第2の部分に固定され、前記第1の部分と平行に配置される第1の可動部と、
前記桟部が延在する方向に移動可能に当該桟部に固定され、前記第2の部分と平行に配置される第2の可動部と、
前記第1の部分が延在する方向に移動可能に当該第1の部分に固定され、前記第2の部分と平行に配置される第3の可動部と、
を備え、
前記第1の可動部は、前記第2の部分から前記桟部が配置される側に突出し、
前記第2の可動部は、前記桟部から前記第1の部分が配置される側に突出し、
前記第3の可動部は、前記第1の部分から前記桟部が配置される側に突出し、
前記第2の可動部と前記第3の可動部とが前記第2の部分が延在する方向で向かい合った状態で、前記第2の可動部と前記第3の可動部との間に予め設定された長さの分断部を形成可能である、請求項2に記載の搬送治具。
【請求項5】
前記枠部は、
前記第1の部分が延在する方向に移動可能に当該第1の部分に固定され、前記第2の部分と平行に配置される第1の可動部と、
前記桟部が延在する方向に移動可能に当該桟部に固定され、前記第2の部分と平行に配置される第2の可動部と、
前記桟部が延在する方向に移動可能に当該桟部に固定され、前記第2の部分と平行に配置される第3の可動部と、
を備え、
前記第1の可動部は、前記第1の部分から前記桟部が配置される側に突出し、
前記第2の可動部は、前記桟部から前記第1の部分が配置される側に突出し、
前記第3の可動部は、前記桟部から前記第2の可動部が当該桟部から突出する側に対して逆側に突出し、
前記第1の可動部と前記第2の可動部とが前記第2の部分が延在する方向で向かい合った状態で、前記第1の可動部と前記第2の可動部との間に予め設定された長さの分断部を形成可能である、請求項2に記載の搬送治具。
【請求項6】
前記枠部は、前記第2の部分が延在する方向に移動可能に当該第2の部分に固定され、前記第1の部分と平行に配置される第4の可動部を備え、
前記第4の可動部は、前記第2の部分から前記桟部が配置される側に突出する、請求項5に記載の搬送治具。
【請求項7】
前記複数の保持部は、フラット型吸着パッドとベローズ型吸着パッドとを組み合わせて構成されている、請求項1から6のいずれか1項に記載の搬送治具。
【請求項8】
前記桟部における当該桟部が延在する方向の中央には、前記搬送治具を移動させるための搬送装置が連結される連結治具が固定されている、請求項1から6のいずれか1項に記載の搬送治具。
【請求項9】
請求項1から6のいずれか1項に記載の搬送治具と、
前記搬送治具が固定され、前記搬送治具を移動させるための搬送装置と、
を備える、搬送システム。
【請求項10】
搬送治具を用いて矩形状の基板を保持して搬送する方法であって、
前記搬送治具の枠部におけるL字形状に固定された第1の部分と第2の部分とを前記基板の辺に沿って配置する工程と、
前記搬送治具の桟部を前記基板の形状に応じて配置する工程と、
前記搬送治具における前記枠部及び前記桟部に固定可能な保持部を、前記基板の予め設定された周縁領域を保持するために前記基板の形状に応じて配置する工程と、
を備える、搬送方法。
(【請求項11】以降は省略されています)
発明の詳細な説明
【技術分野】
【0001】
本開示は、搬送治具、搬送システム及び搬送方法に関する。
続きを表示(約 2,800 文字)
【背景技術】
【0002】
例えば、半導体製造工程において基板を次工程のステージに搬送する際に搬送治具が用いられるが、搬送治具が基板の形状の違いに対応できる構成であることが好ましい。例えば、特許文献1の搬送治具は、第1の方向に延在する(即ち、延びる)第1の一対の基板支持部材、第1の方向と直交する第2の方向に延在する第2の一対の基板支持部材、及び第1の一対の基板支持部材と第2の一対の基板支持部材とを連結する平行リンク部材を備えている。
【0003】
また、特許文献1の搬送治具は、第1の一対の基板支持部材に設けられ、基板の周縁領域を保持する第1の保持部、及び第2の一対の基板支持部材に設けられ、基板の周縁領域を保持する第2の保持部を備えている。
【0004】
このような特許文献1の搬送治具の構成により、第1の一対の基板支持部材が互いに近付く方向の平行移動に連動して第2の一対の基板支持部材が互いに近付く方向に平行移動する。また、第1の一対の基板支持部材が互いに離れる方向の平行移動に連動して第2の一対の基板支持部材が互いに離れる方向に平行移動する。これにより、特許文献1の搬送治具は、相似比が異なる基板の形状に対応して、基板を保持可能な構成とされている。
【先行技術文献】
【特許文献】
【0005】
特開2014-99447号公報
【発明の概要】
【発明が解決しようとする課題】
【0006】
特許文献1の搬送治具は、基板の形状の違いに対応して当該基板を保持可能であるが、平行リンク部材を用いるため、搬送治具の構成が複雑化する課題を有する。
本開示は、このような問題点に鑑みてなされたものであり、簡単な構成で基板の形状の違いに対応可能な搬送治具、搬送方法及び搬送システムを実現する。
【課題を解決するための手段】
【0007】
本開示の一形態に係る搬送治具は、矩形状の基板を保持して搬送する際に用いられる搬送治具であって、
L字形状に固定された第1の部分と第2の部分とを有する枠部と、
前記基板の形状に応じて配置される桟部と、
前記基板の形状に応じて前記枠部及び前記桟部に固定可能であって、前記基板の予め設定された周縁領域を保持するための複数の保持部と、
を備える。
本開示の一形態に係る搬送システムは、
上述の搬送治具と、
前記搬送治具が固定され、前記搬送治具を移動させるための搬送装置と、
を備える。
本開示の一形態に係る搬送方法は、搬送治具を用いて矩形状の基板を保持して搬送する方法であって、
前記搬送治具の枠部におけるL字形状に固定された第1の部分と第2の部分とを前記基板の辺に沿って配置する工程と、
前記搬送治具の桟部を前記基板の形状に応じて配置する工程と、
前記搬送治具における前記枠部及び前記桟部に固定可能な保持部を、前記基板の予め設定された周縁領域を保持するために前記基板の形状に応じて配置する工程と、
を備える。
【発明の効果】
【0008】
本開示によれば、簡単な構成で基板の形状の違いに対応可能な搬送治具、搬送方法及び搬送システムを実現できる。
【図面の簡単な説明】
【0009】
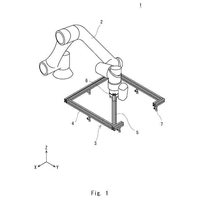
実施の形態1の搬送システムを示す斜視図である。
実施の形態1の搬送システムの搬送治具を示す斜視図である。
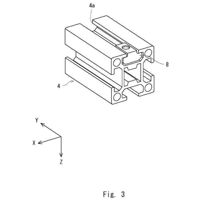
枠部のスリットに第1のナットが挿入された状態を示す斜視図である。
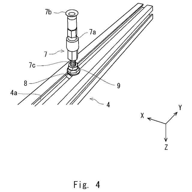
枠部に保持部が固定された状態を示す斜視図である。
保持部の形状を示す図である。
実施の形態1の搬送システムを用いて一辺がNmmの正方形状の基板を搬送する際の搬送治具の保持部の配置を示す図である。
基板と搬送治具の保持部との配置関係を示す図である。
保持部の吸盤部で基板を吸着する際の様子を示す図である。
実施の形態1の搬送システムを用いて一辺がNmmより小さい正方形状の基板を搬送する際の搬送治具の保持部の配置を示す図である。
基板と搬送治具の保持部との配置関係を示す図である。
一辺がNmmの正方形状の基板を搬送する際の搬送治具の枠部の内周縁部での第1の部分と第2の部分との頂点と、一辺がNmmより小さい正方形状の基板を搬送する際の搬送治具の枠部の内周縁部での第1の部分と第2の部分との頂点と、の配置関係を示す図である。
実施の形態2の搬送システムの搬送治具を示す斜視図である。
第1の可動部が第2の部分に固定される構成を説明するための斜視図である。
第2の可動部が桟部の長手方向に移動可能に固定された状態を示す図である。
実施の形態2の搬送システムを用いて一辺がNmmの正方形状の基板を搬送する際の搬送治具の保持部の配置を示す図である。
基板と搬送治具の保持部との配置関係を示す図である。
実施の形態2の搬送システムを用いて一辺がNmmより小さく、N×0.97mm以上の正方形状の基板を搬送する際の搬送治具の保持部の配置を示す図である。
基板と搬送治具の保持部との配置関係を示す図である。
実施の形態2の搬送システムを用いて一辺がN×0.97mmより小さい正方形状の基板を搬送する際の搬送治具の保持部の配置を示す図である。
基板と搬送治具の保持部との配置関係を示す図である。
実施の形態3の搬送システムの搬送治具を示す斜視図である。
実施の形態3の搬送システムを用いて一辺がNmmの正方形状の基板を搬送する際の搬送治具の保持部の配置を示す図である。
基板と搬送治具の保持部との配置関係を示す図である。
実施の形態3の搬送システムを用いて一辺がNmmより小さく、N×0.97mm以上の正方形状の基板を搬送する際の搬送治具の保持部の配置を示す図である。
基板と搬送治具の保持部との配置関係を示す図である。
実施の形態3の搬送システムを用いて一辺がN×0.97mmより小さい正方形状の基板を搬送する際の搬送治具の保持部の配置を示す図である。
基板と搬送治具の保持部との配置関係を示す図である。
【発明を実施するための形態】
【0010】
以下、本開示を適用した具体的な実施の形態について、図面を参照しながら詳細に説明する。但し、本開示が以下の実施の形態に限定される訳ではない。また、説明を明確にするため、以下の記載及び図面は、適宜、簡略化されている。なお、以下の説明では、説明を明確にするために、三次元(XYZ)座標系を用いて説明する。
(【0011】以降は省略されています)
この特許をJ-PlatPat(特許庁公式サイト)で参照する
関連特許
株式会社GSユアサ
蓄電装置
今日
富士電機株式会社
電磁接触器
今日
住友電装株式会社
コネクタ
今日
ヒロセ電機株式会社
電気コネクタ
今日
矢崎総業株式会社
コネクタ
今日
ローム株式会社
半導体モジュール
1日前
株式会社デンソー
半導体装置
今日
新電元工業株式会社
半導体装置
今日
TDK株式会社
電子部品
今日
矢崎総業株式会社
コネクタ
1日前
株式会社村田製作所
インダクタ部品
1日前
株式会社村田製作所
インダクタ部品
1日前
株式会社アルバック
プラズマ処理装置
今日
株式会社AESCジャパン
電池及び電気装置
今日
矢崎総業株式会社
コネクタ
今日
ケル株式会社
多極スイッチ
今日
ケル株式会社
多極スイッチ
今日
株式会社デンソー
コンデンサモジュール
2日前
FDK株式会社
電池
今日
SMC株式会社
マグネットチャック
今日
浜松ホトニクス株式会社
光集積回路
今日
浜松ホトニクス株式会社
光集積回路
今日
ミツミ電機株式会社
半導体装置の製造方法
今日
浜松ホトニクス株式会社
光集積回路
今日
湖北工業株式会社
石英ノズルおよびその製造方法
6日前
株式会社プロテリアル
ケーブル
今日
ホシデン株式会社
コネクタユニット
1日前
大阪瓦斯株式会社
燃料電池システム
今日
株式会社新川
ボンディング装置
今日
浜松ホトニクス株式会社
半導体レーザ
今日
セイコーエプソン株式会社
半導体装置
今日
株式会社GSユアサ
非水電解質蓄電素子及びその使用方法
1日前
ネグロス電工株式会社
ライティングダクト支持金具
6日前
株式会社新川
ボンディング装置
今日
愛三工業株式会社
集電体
今日
矢崎総業株式会社
シールドコネクタ
今日
続きを見る
他の特許を見る