TOP
|
特許
|
意匠
|
商標
特許ウォッチ
Twitter
他の特許を見る
10個以上の画像は省略されています。
公開番号
2025161077
公報種別
公開特許公報(A)
公開日
2025-10-24
出願番号
2024063974
出願日
2024-04-11
発明の名称
フラットハーネス付き車両用窓ガラスシステム
出願人
AGC株式会社
代理人
弁理士法人志賀国際特許事務所
主分類
B60J
1/00 20060101AFI20251017BHJP(車両一般)
要約
【課題】フラットハーネスの配置場所を提供可能なフラットハーネス付き車両用窓ガラスシステムを提供する。
【解決手段】フラットハーネス付き車両用窓ガラスシステムは、第1車両用窓ガラスと、一方の端部である第1端部と、他方の端部である第2端部と、前記第1端部及び前記第2端部の間の第1中間延在部とを有するフラットハーネスであって、前記第1中間延在部は前記第1車両用窓ガラスの車室内側の主面に固定される第1フラットハーネスと、車室外側の主面と、車室内側の主面とを有する第2車両用窓ガラスと、一方の端部である第3端部と、他方の端部である第4端部と、前記第3端部及び前記第4端部の間の第2中間延在部とを有する第2フラットハーネスであって、前記第2中間延在部は前記第2車両用窓ガラスの前記車室内側の主面に固定され、前記第3端部は前記第2端部に接続される第2フラットハーネスとを含む。
【選択図】図1A
特許請求の範囲
【請求項1】
車室外側の主面と、車室内側の主面とを有する第1車両用窓ガラスと、
一方の端部である第1端部と、他方の端部である第2端部と、前記第1端部及び前記第2端部の間の第1中間延在部とを有するフラットハーネスであって、前記第1中間延在部は前記第1車両用窓ガラスの前記車室内側の主面に固定される第1フラットハーネスと、
車室外側の主面と、車室内側の主面とを有する第2車両用窓ガラスと、
一方の端部である第3端部と、他方の端部である第4端部と、前記第3端部及び前記第4端部の間の第2中間延在部とを有する第2フラットハーネスであって、前記第2中間延在部は前記第2車両用窓ガラスの前記車室内側の主面に固定され、前記第3端部は前記第2端部に接続される第2フラットハーネスと
を含む、フラットハーネス付き車両用窓ガラスシステム。
続きを表示(約 1,400 文字)
【請求項2】
車室外側に配置される第1ガラス板と、前記第1ガラス板よりも車室内側に配置される第2ガラス板と、前記第1ガラス板及び前記第2ガラス板の間に配置される第1中間膜とを有する第1合わせガラスと、
一方の端部である第1端部と、他方の端部である第2端部と、前記第1端部及び前記第2端部の間の第1中間延在部とを有する第1フラットハーネスであって、前記第1中間延在部は前記第1ガラス板及び前記第2ガラス板の間に配置され、前記第1端部は前記第1ガラス板及び前記第2ガラス板の間又は外側に位置し、前記第2端部は前記第1ガラス板及び前記第2ガラス板の外側に位置する第1フラットハーネスと、
車室外側の主面と、車室内側の主面とを有する車両用窓ガラスと、
一方の端部である第3端部と、他方の端部である第4端部と、前記第3端部及び前記第4端部の間の第2中間延在部とを有する第2フラットハーネスであって、前記第2中間延在部は前記車両用窓ガラスの前記車室内側の主面に固定され、前記第3端部は前記第2端部に接続される第2フラットハーネスと
を含む、フラットハーネス付き車両用窓ガラスシステム。
【請求項3】
前記第1ガラス板及び前記第2ガラス板の間に配置され、前記第1フラットハーネスの前記第1中間延在部に接続される機能性部材をさらに含む、請求項2に記載のフラットハーネス付き車両用窓ガラスシステム。
【請求項4】
前記第1フラットハーネスは、前記第1ガラス板及び前記第2ガラス板の間に配置され、前記第1中間延在部から分岐し、前記機能性部材に接続される分岐線路をさらに有する、請求項3に記載のフラットハーネス付き車両用窓ガラスシステム。
【請求項5】
前記第1合わせガラスは、前記第1ガラス板の前記車室内側の主面に形成された第1遮蔽層をさらに有し、
前記第1中間延在部は、平面視で前記第1遮蔽層と重なる部分に配置される、請求項2に記載のフラットハーネス付き車両用窓ガラスシステム。
【請求項6】
前記第1合わせガラスは平面視で四辺を有する矩形状であり、
前記第1フラットハーネスは、前記四辺のうちの第1辺に沿って、前記第1合わせガラスの端部に配置されている、請求項2乃至5のいずれか1項に記載のフラットハーネス付き車両用窓ガラスシステム。
【請求項7】
前記第1端部は、前記第1辺の一端側に接続される第2辺に位置し、
前記第2端部は、前記第1辺の他端側に接続される第3辺に位置する、請求項6に記載のフラットハーネス付き車両用窓ガラスシステム。
【請求項8】
前記第1端部は、前記第1辺の一端側に接続される第2辺に位置し、
前記第2端部は、前記第1辺に位置する、請求項6に記載のフラットハーネス付き車両用窓ガラスシステム。
【請求項9】
前記第1端部は、前記第1辺の一端側に接続される第2辺に位置し、
前記第2端部は、前記第1辺に対向し、前記第2辺と接続される第4辺に位置する、請求項6に記載のフラットハーネス付き車両用窓ガラスシステム。
【請求項10】
前記第1端部と前記第2端部は、前記第1辺に位置する、請求項6に記載のフラットハーネス付き車両用窓ガラスシステム。
(【請求項11】以降は省略されています)
発明の詳細な説明
【技術分野】
【0001】
本開示は、フラットハーネス付き車両用窓ガラスシステムに関する。
続きを表示(約 2,800 文字)
【背景技術】
【0002】
従来より、バッテリから電源が供給され、車体に沿って延設される単線の板状の金属配線と、一端が前記金属配線上に電気的に接続されて、前記金属配線から車体に設置された電気機器に電源を供給する複数のワイヤハーネスとを備えたことを特徴とする自動車用電源供給装置がある(例えば、特許文献1参照)。
【先行技術文献】
【特許文献】
【0003】
特開2016-235089号公報
【発明の概要】
【発明が解決しようとする課題】
【0004】
ところで、自動車には車載アンテナやカメラ、バックモニター等、電源だけではなく、複数の信号を同時に送受可能な電装品が増えてきており、これらの電装品への信号や電源を供給するために、複数の信号を同時に送るパラレル・インタフェース用途にも使用可能なフラットハーネスが用いられている。そして、近年、車両に搭載される電装品の数は増える傾向にあるため、フラットハーネスを配置する場所が不足し、フラットハーネスの引き回しが難しくなる場合がある。
【0005】
また、近年、車室内の開放感を向上させるために、ウィンドシールドの大型化やルーフガラスの装着等によってガラス板が占める面積が増えており、フラットハーネスの引き回しがさらに難しくなる傾向がある。
【0006】
そこで、フラットハーネスの配置場所を提供可能なフラットハーネス付き車両用窓ガラスシステムを提供することを目的とする。
【課題を解決するための手段】
【0007】
本開示の実施形態のフラットハーネス付き車両用窓ガラスシステムは、車室外側の主面と、車室内側の主面とを有する第1車両用窓ガラスと、一方の端部である第1端部と、他方の端部である第2端部と、前記第1端部及び前記第2端部の間の第1中間延在部とを有するフラットハーネスであって、前記第1中間延在部は前記第1車両用窓ガラスの前記車室内側の主面に固定される第1フラットハーネスと、車室外側の主面と、車室内側の主面とを有する第2車両用窓ガラスと、一方の端部である第3端部と、他方の端部である第4端部と、前記第3端部及び前記第4端部の間の第2中間延在部とを有する第2フラットハーネスであって、前記第2中間延在部は前記第2車両用窓ガラスの前記車室内側の主面に固定され、前記第3端部は前記第2端部に接続される第2フラットハーネスとを含む。
【発明の効果】
【0008】
フラットハーネスの配置場所を提供可能なフラットハーネス付き車両用窓ガラスシステムを提供できる。
【図面の簡単な説明】
【0009】
実施形態のフラットハーネス付き車両用窓ガラスシステム200を取り付けた車両1の構成の一例を示す図である。
図1Aに示す車両1のウィンドシールド(WS)、ルーフガラス(RF)、及びリアガラス(BL)の配置の一例を平面的に示す図である。
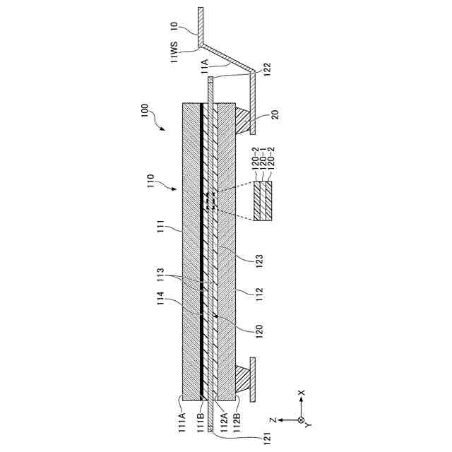
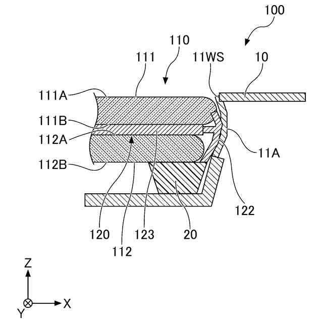
フラットハーネス付き車両用窓ガラス100の断面構成の一例を示す図である。
中間延在部123の位置のバリエーションの一例を示す図である。
中間延在部123の位置のバリエーションの一例を示す図である。
端部121及び端部122の構成のバリエーションの一例を示す図である。
単板ガラス110Sを含むフラットハーネス付き車両用窓ガラス100Sの断面構成の一例を示す図である。
フラットハーネス付き車両用窓ガラス100Sの端部121及び端部122の構成のバリエーションの一例を示す図である。
フラットハーネス120のグランド線の端部の構成の一例を示す図である。
フラットハーネス120及び130を含むフラットハーネス付き車両用窓ガラス100の断面構成の一例を示す図である。
機能性部材140を含むフラットハーネス付き車両用窓ガラス100の断面構成の一例を示す図である。
図2Iに示すフラットハーネス付き車両用窓ガラス100の構成の一例を平面視で示す図である。
機能性部材140を含むフラットハーネス付き車両用窓ガラス100の断面構成の他の一例を示す図である。
フラットハーネス付き車両用窓ガラスシステム200の実装バリエーションの一例を示す図である。
図3Aに示すフラットハーネス付き車両用窓ガラスシステム200の断面構成の一例を示す図である。
フラットハーネス付き車両用窓ガラスシステム200の実装バリエーションの一例を示す図である。
フラットハーネス付き車両用窓ガラスシステム200の実装バリエーションの一例を示す図である。
フラットハーネス付き車両用窓ガラスシステム200の実装バリエーションの一例を示す図である。
図3Eに示すフラットハーネス付き車両用窓ガラスシステム200の断面構成の一例を示す図である。
図3Fに示すフラットハーネス付き車両用窓ガラスシステム200の実装バリエーションの一例を示す図である。
図3Fに示すフラットハーネス付き車両用窓ガラスシステム200の実装バリエーションの一例を示す図である。
フラットハーネス付き車両用窓ガラスシステム200の実装バリエーションの一例を示す図である。
フラットハーネス付き車両用窓ガラスシステム200の実装バリエーションの一例を示す図である。
フラットハーネス付き車両用窓ガラスシステム200の実装バリエーションの一例を示す図である。
フラットハーネス付き車両用窓ガラスシステム200の実装バリエーションの一例を示す図である。
図3Jに示すフラットハーネス付き車両用窓ガラスシステム200のより具体的な構成の一例を示す図である。
図3Jに示すフラットハーネス付き車両用窓ガラスシステム200のより具体的な構成の一例を示す図である。
実施形態の変形例のフラットハーネス付き車両用窓ガラス100Iの構成の一例を示す図である。
実施形態の変形例のフラットハーネス付き車両用窓ガラス100Jの構成の一例を示す図である。
実施形態の変形例のフラットハーネス付き車両用窓ガラス100Kの構成の一例を示す図である。
【発明を実施するための形態】
【0010】
以下、本開示のフラットハーネス付き車両用窓ガラスシステムを適用した実施形態について説明する。以下では、同一の要素に同一の符号を付して、重複する説明を省略する場合がある。
(【0011】以降は省略されています)
この特許をJ-PlatPat(特許庁公式サイト)で参照する
関連特許
AGC株式会社
フッ素樹脂組成物
9日前
AGC株式会社
インフィニティミラー
26日前
AGC株式会社
ガラス材料、結晶化ガラス
25日前
AGC株式会社
調光デバイスおよび調光方法
17日前
AGC株式会社
反射型マスクブランクの製造方法
20日前
AGC株式会社
フラットハーネス付き車両用窓ガラス
23日前
AGC株式会社
位相差素子、円偏光板、及び光学部品
19日前
AGC株式会社
フラットハーネス付き車両用窓ガラスシステム
23日前
AGC株式会社
水性分散液
9日前
AGC株式会社
合わせガラス
1か月前
AGC株式会社
化学強化ガラス、画像表示装置用カバーガラス、防汚層付きガラス材
25日前
AGC株式会社
ガラス基板の製造方法
2日前
林テレンプ株式会社
コリメート用プリズムおよび車両の窓ガラス用照明構造
17日前
AGC株式会社
プリフォームの製造方法、光学素子の製造方法、及び光学素子用プリフォーム
12日前
AGC株式会社
化学強化ガラス物品およびその製造方法
1か月前
AGC株式会社
反射型マスクブランク、反射型マスク、反射型マスクブランクの製造方法、及び反射型マスクの製造方法
1か月前
AGC株式会社
高周波デバイス用ガラス基板、液晶アンテナ及び高周波デバイス
25日前
AGC株式会社
ガラス溶解炉、ガラス製品の製造設備、およびガラス製品の製造方法
9日前
AGC株式会社
結晶化ガラス、高周波用基板、液晶用アンテナおよび結晶化ガラスの製造方法
17日前
AGC株式会社
反射型マスクブランク、反射型マスク、反射型マスクブランクの製造方法、及び反射型マスクの製造方法
2日前
AGC株式会社
含フッ素エーテル化合物及びその製造方法、化合物及びその製造方法、含フッ素エーテル組成物、コーティング液、並びに物品及びその製造方法
1か月前
個人
タイヤレバー
3か月前
個人
前輪キャスター
2か月前
個人
上部一体型自動車
1か月前
個人
ルーフ付きトライク
3か月前
個人
空間形成装置
17日前
個人
タイヤ脱落防止構造
2か月前
日本精機株式会社
表示装置
3か月前
日本精機株式会社
表示装置
3か月前
日本精機株式会社
表示装置
3か月前
日本精機株式会社
表示装置
3か月前
個人
車両通過構造物
3か月前
個人
マスタシリンダ
1か月前
日本精機株式会社
照明装置
12日前
個人
常設収納型サンバイザー
23日前
個人
乗合路線バスの客室装置
4か月前
続きを見る
他の特許を見る