TOP
|
特許
|
意匠
|
商標
特許ウォッチ
Twitter
他の特許を見る
10個以上の画像は省略されています。
公開番号
2025143878
公報種別
公開特許公報(A)
公開日
2025-10-02
出願番号
2024043364
出願日
2024-03-19
発明の名称
車両用窓ガラスとその製造方法
出願人
AGC株式会社
代理人
個人
主分類
C03C
27/12 20060101AFI20250925BHJP(ガラス;鉱物またはスラグウール)
要約
【課題】端子接合強度を高めることが可能な車両用窓ガラスとその製造方法の提供。
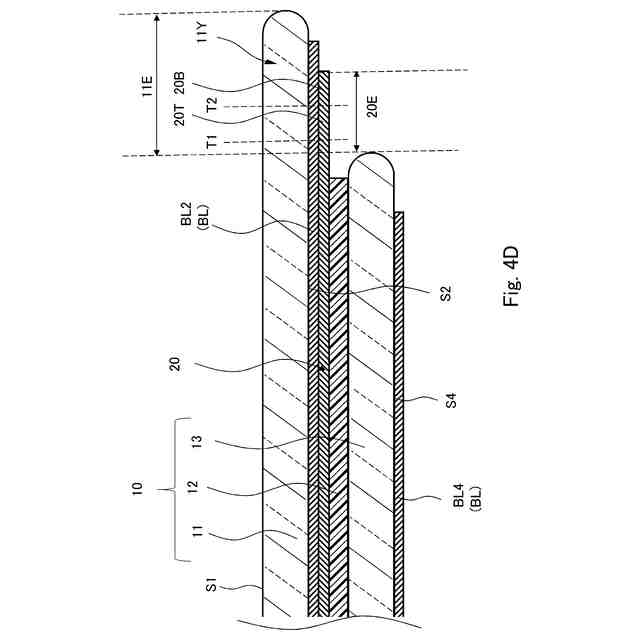
【解決手段】ガラス板(11)と、ガラス板(11)の一方の表面の上に形成され、銀とガラスフリットとを含み、端子(102)が接合される端子接合部(20T)を有する導電体(20)と、導電体(20)の端子接合部(20T)上に無鉛半田(101)を介して接合された端子(102)とを有する端子付きガラス板(11X)を含み、無鉛半田(101)の端子(102)側の表面の空孔率が15%以下である、車両用窓ガラス(1)。
【選択図】図3
特許請求の範囲
【請求項1】
ガラス板と、当該ガラス板の一方の表面の上に形成され、銀とガラスフリットとを含み、端子が接合される端子接合部を有する導電体と、当該導電体の前記端子接合部上に無鉛半田を介して接合された端子とを有する端子付きガラス板を含む車両用窓ガラスであって、
前記無鉛半田の前記端子側の表面の空孔率が15%以下である、車両用窓ガラス。
続きを表示(約 1,000 文字)
【請求項2】
前記無鉛半田の前記端子側の表面の空孔率が10%以下である、請求項1に記載の車両用窓ガラス。
【請求項3】
前記端子付きガラス板は、前記ガラス板と前記導電体の前記端子接合部を含む少なくとも一部との間に遮光層を有する、請求項1または2に記載の車両用窓ガラス。
【請求項4】
前記遮光層は、黒色顔料とガラスフリットとを含む、請求項3に記載の車両用窓ガラス。
【請求項5】
前記ガラス板は強化ガラスである、請求項1または2に記載の車両用窓ガラス。
【請求項6】
前記端子付きガラス板を含む複数のガラス板が中間膜を介して貼り合わされ、前記導電体が前記端子付きガラス板の前記中間膜側に形成された合わせガラスを含み、
前記端子付きガラス板は、前記中間膜を介して対向するガラス板に覆われない露出部を有し、当該露出部に前記導電体の前記端子接合部が形成された、請求項1または2に記載の車両用窓ガラス。
【請求項7】
前記端子付きガラス板を含む複数のガラス板が中間膜を介して貼り合わされ、前記導電体が前記端子付きガラス板の前記中間膜側と反対側に形成された合わせガラスを含む、請求項1または2に記載の車両用窓ガラス。
【請求項8】
前記端子付きガラス板は、平面視にて、光学装置が取り付けられる光学装置取付領域と、当該光学装置取付領域内に位置し、外部から前記光学装置への入射光および/または前記光学装置からの出射光が通る透光部と、平面視にて、前記透光部の少なくとも一部を囲む遮光層とを有し、
前記導電体は、前記透光部の内部に形成された電熱線と、前記透光部の外部に形成された給電部と、前記透光部の外部に形成され、前記電熱線と前記給電部とを接続する接続配線とを含む、請求項7記載の車両用窓ガラス。
【請求項9】
前記端子付きガラス板において、前記接続配線と前記給電部とが前記遮光層の上に形成された、請求項8に記載の車両用窓ガラス。
【請求項10】
前記導電体は、電気的機能部を含むか、電気的機能部に電気的に接続されており、
前記導電体は、前記電気的機能部に給電するための給電部を含み、当該給電部が前記端子接合部を含み、
前記端子に、丸線状または箔状の導線からなる給電用部材が固定された、請求項1または2に記載の車両用窓ガラス。
(【請求項11】以降は省略されています)
発明の詳細な説明
【技術分野】
【0001】
本開示は、車両用窓ガラスとその製造方法に関する。
続きを表示(約 2,100 文字)
【背景技術】
【0002】
自動車等の車両用の窓ガラスには、複数のガラス板が貼り合わされた合わせガラス、または強化ガラスが好ましく用いられる。一般的に、車両用窓ガラスの材料のガラス板は、周縁領域に遮光層が形成され、熱成形により曲面を有する形状に加工される。また、電気的機能部を含むか、電気的機能部に接続される導電体と、ハーネスおよびケーブル等の給電用部材とを含む車両用窓ガラスが知られている。電気的機能部としては、電熱線、電熱層、アンテナ、調光層、発光素子、およびこれらの組合せ等が挙げられる。導電体は、電気的機能部に給電するための給電部を含むことができる。
本明細書において、導電体を有するガラス板を「導電体付きガラス板」と言う。
【0003】
例えば、フロントガラスおよび/またはリアガラスでは、ワイパーに付着した霜、雪、および氷等を融かし、ワイパーの凍結を防止するために、窓ガラスの下端部および側端部等に電熱線または電熱層が形成される場合がある。
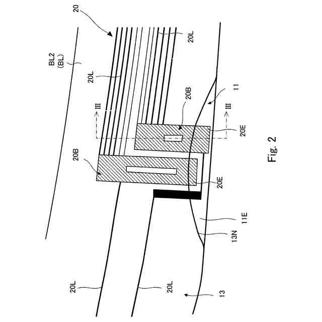
フロントガラスおよび/またはリアガラスの内面には、自動運転および衝突事故の防止等のために、車両前方または車両後方の情報を取得する、ADAS(Advanced Driver Assistance systems)カメラ、LiDAR(Light Detection And Ranging)、レーダーおよび光センサ等の光学機器と、これを収容するブラケット等と呼ばれる筐体とを含む光学装置が設置される場合がある。かかる構成では、光学装置によるセンシング精度を高めるために、光学機器の前方のガラス部分に、曇り、霜、雪および氷等の除去および付着を防止する1本以上の電熱線からなる電気的機能部と、一対の給電用電極(バスバー)等の給電部とを含む導電体が形成される場合がある。
フロントガラスおよび/またはリアガラスには、電波受信のためのアンテナが形成される場合がある。アンテナは、1本以上のアンテナ線と1つ以上の給電用電極(バスバー)等の給電部とを含むことができる。
【0004】
上記のような車両用窓ガラスでは、給電部の各給電用電極に、ハーネスおよびケーブル等の給電用部材が接合される。給電部は、給電用部材を接合するための面積を必要とするため、電熱線およびアンテナ線等の導電線よりも太く設計される。そのため、給電部は、車外にいる人に視認されないように、遮光層上に形成されることが一般的である。
遮光層は例えば、黒色顔料とガラスフリットとを含むセラミックペーストの塗工および焼成により形成できる。導電体は例えば、銀粉とガラスフリットとを含む銀含有ペーストの塗工および焼成により形成できる。セラミックペーストおよび銀含有ペーストの焼成は、ガラス板の熱成形と同時に実施できる。
【0005】
従来、給電部と給電用部材との接合は、半田を用いて行われている。
例えば、ワイヤーハーネス等の給電用部材の先端部に端子を固定し、この端子を給電部に半田を用いて接合している。半田としては、有鉛半田と無鉛半田がある。近年、鉛の環境への影響が懸念され、有鉛半田の法的規制が広がりつつあるため、無鉛半田を用いることが望まれている。
例えば、特許文献1には、端子接続部を有する導電体層と、無鉛半田によって前記端子接続部に半田付けされた接続端子とを有する車両用窓ガラスが開示されている(請求項1)。
一般的に、無鉛半田の融点は例えば220℃程度であり、より高い温度(例えば300℃程度)で半田接合を行う必要がある。
本明細書において、導電体と端子とを有するガラス板を「端子付きガラス板」と言う。
【先行技術文献】
【特許文献】
【0006】
国際公開第2012/096373号
【発明の概要】
【発明が解決しようとする課題】
【0007】
本発明者の研究によれば、無鉛半田を用いて端子を接合した端子付きガラス板は、高温環境、冷温環境、高湿環境、温度変化環境、またはこれらの組合せ等の環境下に置かれると、端子接合強度が低下する場合があることが分かった。
【0008】
本開示は上記事情に鑑みてなされたものであり、導電体と端子とを無鉛半田を用いて接合した部分を含み、端子接合強度を高めることが可能な車両用窓ガラスとその製造方法の提供を目的とする。
【課題を解決するための手段】
【0009】
本開示は、以下の[1]~[13]の車両用窓ガラスとその製造方法を提供する。
【0010】
[1] ガラス板と、当該ガラス板の一方の表面の上に形成され、銀とガラスフリットとを含み、端子が接合される端子接合部を有する導電体と、当該導電体の前記端子接合部上に無鉛半田を介して接合された端子とを有する端子付きガラス板を含む車両用窓ガラスであって、
前記無鉛半田の前記端子側の表面(端子接合面とも言う。)の空孔率が15%以下である、車両用窓ガラス。
(【0011】以降は省略されています)
この特許をJ-PlatPat(特許庁公式サイト)で参照する
関連特許
AGC株式会社
車両用窓ガラス
1か月前
AGC株式会社
積層体及び移動体
1か月前
AGC株式会社
フッ素樹脂組成物
19日前
AGC株式会社
インフィニティミラー
1か月前
AGC株式会社
ガラス材料、結晶化ガラス
1か月前
AGC株式会社
調光デバイスおよび調光方法
27日前
AGC株式会社
反射型マスクブランクの製造方法
1か月前
AGC株式会社
車両用窓ガラス及びサッシュレスドア
1か月前
AGC株式会社
搬送治具、搬送システム及び搬送方法
6日前
AGC株式会社
フラットハーネス付き車両用窓ガラス
1か月前
AGC株式会社
位相差素子、円偏光板、及び光学部品
29日前
AGC株式会社
フラットハーネス付き車両用窓ガラスシステム
1か月前
AGC株式会社
車両用ガラス板、及び車両用ガラス板の製造方法
1か月前
AGC株式会社
ホルダー付き車両用窓ガラス及びサッシュレスドア
7日前
AGC株式会社
水性分散液
19日前
AGC株式会社
合わせガラス
1か月前
AGC株式会社
含フッ素化合物
8日前
AGC株式会社
ガラス、ガラス粉末、混合粉、ガラスペースト、及びグリーンシート
1か月前
AGC株式会社
化学強化ガラス、画像表示装置用カバーガラス、防汚層付きガラス材
1か月前
AGC株式会社
ガラス基板の製造方法
12日前
林テレンプ株式会社
コリメート用プリズムおよび車両の窓ガラス用照明構造
27日前
AGC株式会社
プリフォームの製造方法、光学素子の製造方法、及び光学素子用プリフォーム
22日前
AGC株式会社
ガラスおよび化学強化ガラス
1か月前
AGC株式会社
化学強化ガラス物品およびその製造方法
1か月前
AGC株式会社
反射型マスクブランク、反射型マスク、反射型マスクブランクの製造方法、及び反射型マスクの製造方法
6日前
AGC株式会社
反射型マスクブランク、反射型マスク、反射型マスクブランクの製造方法、及び反射型マスクの製造方法
1か月前
AGC株式会社
高周波デバイス用ガラス基板、液晶アンテナ及び高周波デバイス
1か月前
AGC株式会社
ガラス溶解炉、ガラス製品の製造設備、およびガラス製品の製造方法
19日前
AGC株式会社
窒化珪素質焼結体、ベアリング用転動体、窒化珪素質素球、及びベアリング
6日前
AGC株式会社
結晶化ガラス、高周波用基板、液晶用アンテナおよび結晶化ガラスの製造方法
27日前
AGC株式会社
反射型マスクブランク、反射型マスク、反射型マスクブランクの製造方法、及び反射型マスクの製造方法
12日前
AGC株式会社
含フッ素エーテル化合物及びその製造方法、化合物及びその製造方法、含フッ素エーテル組成物、コーティング液、並びに物品及びその製造方法
1か月前
日本電気硝子株式会社
封着材料ペースト
1か月前
AGC株式会社
車両用窓ガラスとその製造方法
1か月前
AGC株式会社
感光性ガラス
2か月前
ノリタケ株式会社
封止用グリーンシート
1か月前
続きを見る
他の特許を見る