TOP
|
特許
|
意匠
|
商標
特許ウォッチ
Twitter
他の特許を見る
公開番号
2025164399
公報種別
公開特許公報(A)
公開日
2025-10-30
出願番号
2024068359
出願日
2024-04-19
発明の名称
コリメート用プリズムおよび車両の窓ガラス用照明構造
出願人
林テレンプ株式会社
,
AGC株式会社
代理人
個人
,
個人
,
個人
,
個人
,
個人
主分類
B60Q
3/208 20170101AFI20251023BHJP(車両一般)
要約
【課題】組付けの自由度が高く、省スペース化にも対応し得る光コリメート用プリズム、およびかかるプリズムを備える車両の窓ガラス用照明構造を提供する。
【解決手段】
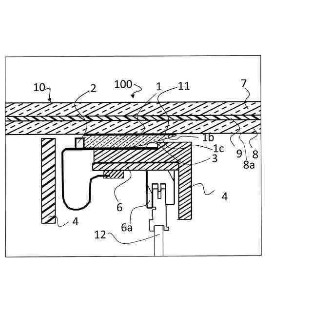
車両用ガラスの照明に使用される、光コリメート用プリズムであって、入光面と、出光面と、前記出光面に対して前記入光面と反対側に位置する端面と、前記入光面から入光した光を前記出光面に向けて反射する反射面とを備え、前記入光面、前記反射面、前記出光面、前記端面を輪郭に含む前記プリズムの断面において、前記反射面の輪郭には少なくとも一つの直線状部を含み、前記入光面の所定位置から入光し、前記反射面の前記出光面に対する傾斜角が異なる複数の位置から反射された光が、前記出光面において、同一の出射角で出射する、プリズム、およびこのプリズムと、光源と、ガラス板を備える照明構造とする。
【選択図】図2
特許請求の範囲
【請求項1】
車両用ガラスの照明に使用される、光コリメート用プリズムであって、
入光面と、出光面と、
前記入光面から入光した光を前記出光面に向けて反射する反射面とを備え、
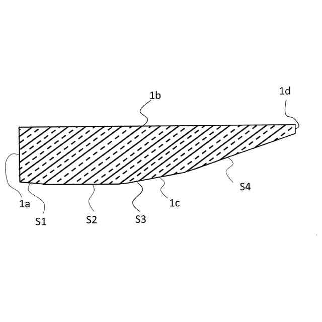
前記入光面、前記反射面、前記出光面を輪郭に含む前記プリズムの断面において、前記反射面の輪郭には少なくとも一つの直線状部を含み、
前記入光面の所定位置から入光し、前記反射面の前記出光面に対する傾斜が異なる複数の位置から反射された光が、
前記出光面において、同一の出射角で出射する、
プリズム。
続きを表示(約 1,000 文字)
【請求項2】
請求項1に記載のプリズムにおいて、
前記入光面、前記反射面、前記出光面を輪郭に含む前記プリズムの断面において、前記反射面は、折れ線状の形状を有し、
前記折れ線は、前記出光面からの距離により曲率半径が異なる曲線に、異なる位置で接する、3以上の複数の接線から構成される、
プリズム。
【請求項3】
請求項2に記載のプリズムにおいて、
前記入光面が、前記出光面に対してなす角度が90°を超える、プリズム。
【請求項4】
請求項1に記載のプリズムにおいて、
前記入光面と、前記出光面と、前記反射面とを有する導光部と、
前記出光面と面一な第一面と、該第一面に対向する平坦な第二面とを有する支持板部とが、
長手方向に沿って交互に配置された構造を有する、プリズム。
【請求項5】
請求項1に記載のプリズムにおいて、
平面視で、前記入光面、および該入光面に対する前記出光面の遠位端が、
半円状の輪郭を有する、プリズム。
【請求項6】
車両の窓ガラス用照明構造であって、
少なくとも1枚のガラス板を有する窓ガラス本体と、
光源と、請求項1から5のいずれか一項に記載のプリズムとを含み、
前記光源は、前記プリズムの入光面側に配置されており、
前記プリズムの出光面は、接着剤層を介して前記ガラス板の表面に接着されている照明構造。
【請求項7】
請求項6に記載の照明構造において、
前記窓ガラス本体は、第1のガラス板と、第2のガラス板と、前記第1のガラス板と第2のガラス板の中間に配置された中間膜とからなる三層構造を有し、
前記プリズムの前記出光面の複数の位置から、前記接着剤層を介して前記窓ガラス本体に入光した光が、前記第2のガラス板と、前記中間層との界面で全反射する、
照明構造。
【請求項8】
請求項7に記載の照明構造において、
該照明構造の各要素を構成する素材の屈折率が、
プリズム>接着剤>第2のガラス板>中間膜の関係を満たす、
照明構造。
【請求項9】
請求項6に記載の照明構造において、
前記窓ガラス本体が、ルーフガラスである、
照明構造。
発明の詳細な説明
【技術分野】
【0001】
本発明は、車両の窓ガラスなどの照明に使用されるコリメート用プリズム、およびこのプリズムを利用した車両の窓ガラス用の照明構造に関する。
続きを表示(約 1,600 文字)
【背景技術】
【0002】
近年、自動車等の車両において、ルーフの大部分をガラスで構成する車種が増加している。従来、ガラスルーフには、日差しや外気温の影響を受けやすいという問題があったが、これらの問題は、ガラスの遮熱・断熱性の向上により解決している。ルーフをガラス化することにより、開放的な車内空間を実現し、搭乗者の快適性を向上させることができる。
【0003】
特に、近年、バッテリー搭載型の電気自動車(BEV)が普及しているが、BEVの多くはバッテリーを床面に敷き詰めるため、従来の自動車に比べ、床面が上昇し、ルーフと搭乗者の頭のクリアランスが小さくなる。その場合も、ガラスルーフを採用すれば、閉塞感を避けて乗員の快適性を確保できるため、今後、ガラスルーフのさらなる普及が見込まれている。
【0004】
ガラスルーフの意匠性をさらに向上し、付加価値を増加させる手段としてルーフ自体を光らせる照明構造が注目されている。その際、ガラス自体を特殊なものとすると、コスト上昇が避けがたいので、ガラスルーフに用いられる通常の窓ガラスに、別光源から発光した光を光学プリズムを介して導光し、窓ガラスを発光させる技術が検討されている。
【0005】
例えば特許文献1は、車両周囲に面する外側面と、車両内部に面する内側面とを有し、導光層を有する窓ガラス本体アセンブリと、光を前記導光層に結合するよう構成された光源と、を備える車両窓ガラスであって、前記光源によって放出された光を前記導光層に結合する入力結合要素が前記窓ガラス本体アセンブリの前記内側面に設けられていることを特徴とする車両窓ガラスを記載している。
【先行技術文献】
【特許文献】
【0006】
特表2023-520153号公報
【発明の概要】
【発明が解決しようとする課題】
【0007】
特許文献1は、入力結合要素が、導光層に結合される光の入力結合角度を最適化するために、くさび形又は台形の断面を有し、光学プリズムとして作用することを記載している。しかし、LEDなどの一般的に使用される光源は、光を多方向に放射するため、断面がくさび形(三角形)や台形のプリズムでは、導光層(内側ガラス)に入光する光を、入射角一定の平行光とすることはできない。
【0008】
自動車の窓ガラスとして、内側ガラスと、外側ガラスが中間膜を介して接合された合わせガラスを用いることがある。外部光源を利用して窓ガラスを発光させるためには、内側ガラスの内面(窓ガラスの内表面)と、中間膜と内側ガラスの界面との間で反射を繰り返して光源から離れた部位まで導光することが好ましい。その場合、窓ガラスに対する最適な光の入射角は、狭い範囲に限定されるので、外部光源から発光した光を窓ガラスにとりこむためのプリズムは、窓ガラスへの光の入射角、従って、プリズムからの光の出射角を一定値にそろえるコリメートプリズムとしての機能を有することが好ましい。
【0009】
他方、自動車の生産規模に合わせた工業生産のためには、光源とプリズムの組付けを簡便に行い得ることが好ましい。さらに、窓ガラスとしてのデザイン上の自由度を確保するためには、光源やプリズム等の付属物のサイズはできるだけ抑制することが好ましい。
【0010】
そこで本発明は、光源から入射した光の少なくとも一部を平行光として出射させるコリメート機能を有し、かつ窓ガラスや光源との組付けが容易で、省スペース化にも対応し得る光学プリズム(光コリメート用プリズム)、およびかかるプリズムを備える車両の窓ガラス用照明構造を提供することを目的とする。
【課題を解決するための手段】
(【0011】以降は省略されています)
この特許をJ-PlatPat(特許庁公式サイト)で参照する
関連特許
個人
タイヤレバー
3か月前
個人
前輪キャスター
3か月前
個人
上部一体型自動車
1か月前
個人
空間形成装置
27日前
個人
ルーフ付きトライク
3か月前
個人
タイヤ脱落防止構造
3か月前
個人
車両通過構造物
4か月前
日本精機株式会社
表示装置
3か月前
日本精機株式会社
表示装置
3か月前
日本精機株式会社
照明装置
22日前
日本精機株式会社
表示装置
3か月前
日本精機株式会社
表示装置
3か月前
個人
マスタシリンダ
2か月前
個人
常設収納型サンバイザー
1か月前
個人
乗合路線バスの客室装置
4か月前
株式会社ニフコ
照明装置
3か月前
個人
音声ガイド、音声サービス
4か月前
日本精機株式会社
車載表示装置
2か月前
株式会社豊田自動織機
産業車両
3か月前
個人
円湾曲ホイール及び球体輪
4か月前
日本精機株式会社
車室演出装置
3か月前
日本精機株式会社
車載表示装置
28日前
日本精機株式会社
車載表示装置
1か月前
個人
回転窓ワイパー装置
27日前
株式会社ニフコ
収納装置
2か月前
日本精機株式会社
画像投映装置
1か月前
株式会社豊田自動織機
産業車両
22日前
日本精機株式会社
車載表示装置
1か月前
日本精機株式会社
車両用投射装置
1か月前
日本精機株式会社
車両用投影装置
2か月前
株式会社SUBARU
車両
1か月前
日本精機株式会社
車両用表示装置
1か月前
日本精機株式会社
車両用表示装置
3か月前
極東開発工業株式会社
車両
3か月前
井関農機株式会社
作業車両
2か月前
日本無線株式会社
取付金具
4か月前
続きを見る
他の特許を見る