TOP
|
特許
|
意匠
|
商標
特許ウォッチ
Twitter
他の特許を見る
公開番号
2025164909
公報種別
公開特許公報(A)
公開日
2025-10-30
出願番号
2025143289,2024066043
出願日
2025-08-29,2020-01-17
発明の名称
ウェハ加工システム及びウェハ加工方法
出願人
株式会社東京精密
代理人
個人
,
個人
,
個人
,
個人
主分類
H01L
21/301 20060101AFI20251023BHJP(基本的電気素子)
要約
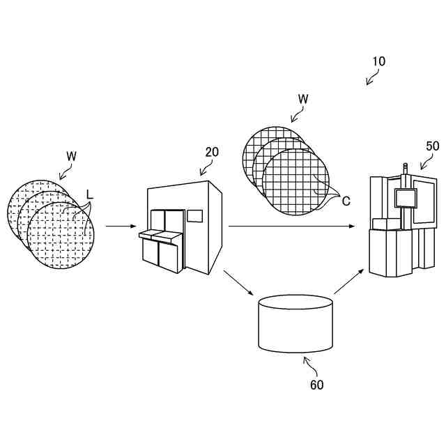
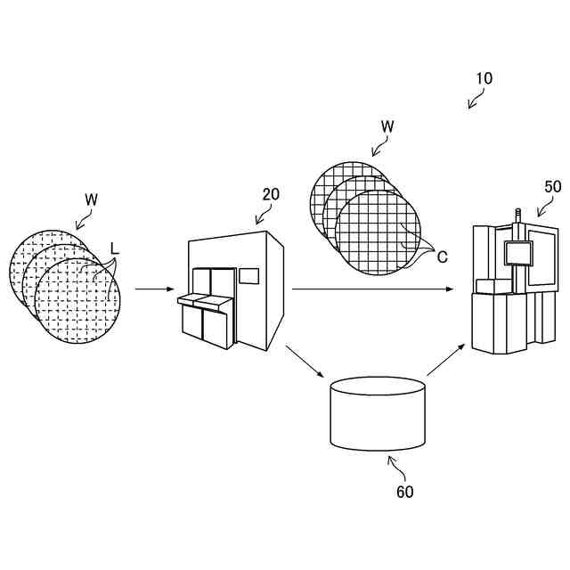
【課題】レーザ加工した溝に対して適切にブレード加工するウェハ加工システム及びウェハ加工方法を提供する。
【解決手段】分割予定ラインLに沿ってレーザ光により溝Cが加工されるウェハWに対し、溝の加工と同時に、分割予定ラインLに対する溝Cの位置ずれを示す位置ずれ情報を取得する制御装置38と、取得された位置ずれ情報をウェハWの固有の情報と紐付けて記憶するデータベースサーバ60と、記憶されたウェハWに対応する位置ずれ情報に基づいてウェハWを溝Cに沿ってブレードにより切削加工するブレードダイシング装置50と、を備える。
【選択図】図1
特許請求の範囲
【請求項1】
分割予定ラインに沿ってレーザ光により溝が加工されるウェハに対し、前記溝の加工と同時に、前記分割予定ラインに対する前記溝の位置ずれを示す位置ずれ情報を取得する情報取得部と、
前記取得された位置ずれ情報を前記ウェハの固有の情報と紐付けて記憶する記憶部と、
前記記憶された前記ウェハに対応する前記位置ずれ情報に基づいて前記ウェハを前記溝に沿ってブレードにより切削加工する加工部と、
を備える、
ウェハ加工システム。
続きを表示(約 390 文字)
【請求項2】
前記ウェハの固有の情報は、前記ウェハに付されたウェハID又はバーコードである、
請求項1に記載のウェハ加工システム。
【請求項3】
分割予定ラインに沿ってレーザ光により溝が加工されるウェハに対し、前記溝の加工と同時に、前記分割予定ラインに対する前記溝の位置ずれを示す位置ずれ情報を取得する情報取得工程と、
前記取得された位置ずれ情報を前記ウェハの固有の情報と紐付けて記憶する記憶工程と、
前記記憶された前記ウェハに対応する前記位置ずれ情報に基づいて前記ウェハを前記溝に沿ってブレードにより切削加工する加工工程と、
を備える、
ウェハ加工方法。
【請求項4】
前記ウェハの固有の情報は、前記ウェハに付されたウェハID又はバーコードである、
請求項3に記載のウェハ加工方法。
発明の詳細な説明
【技術分野】
【0001】
本発明はウェハ加工システム及びウェハ加工方法に係り、特にレーザ加工により溝入れ加工した後にブレードによりダイシングする技術に関する。
続きを表示(約 1,700 文字)
【背景技術】
【0002】
半導体デバイスの高性能化に伴い、デバイス表面に機械的強度が脆弱な膜(たとえば、Low-k膜やHi-k膜)を有するウェハが増えてきている。このウェハをブレードダイシングすると、ダイシング時の機械的負荷により膜が破損・剥離することがある。この剥離がデバイスに到達すると不良チップとなり、歩留り低下の要因となる。この歩留り低下を抑えるため、ブレードダイシングの前にブレードダイシング加工ライン上の脆弱な膜を機械的負荷の小さなレーザ加工にて除去しておくプロセスが一般的に用いられている(特許文献1参照)。このプロセスでは、先行するレーザ加工装置と後続するブレードダイシング装置の2台を使用してダイシングを行う。
【0003】
また近年、チップの高性能化に伴うチップサイズの縮小化と1枚のウェハからのチップ取り数を増やすため、加工ラインが狭小化している。このため、レーザ加工、ブレード加工ともに加工溝幅が小さくなってきており、より高精度な加工が求められるようになってきている。
【先行技術文献】
【特許文献】
【0004】
特開2005-064231号公報
【発明の概要】
【発明が解決しようとする課題】
【0005】
上記のプロセスでは、ブレードダイシングはレーザ加工された溝の中心を加工する必要がある。これはブレードの刃がレーザ加工溝に入らないと、機械的負荷により膜の剥離が生じるからである。つまり、このプロセスのブレードダイシングはチップのパターンと、予め加工されたレーザ加工溝を認識する必要がある。
【0006】
先行するレーザ加工プロセスで装置が加工位置の補正を行うと、その加工ラインからチップとレーザ加工溝の相対位置が1本前の加工ラインから正しい位置にずれる。ところが、後続するブレードダイシングではこの補正位置を把握できないため、当該ラインからレーザ加工溝とブレード加工位置とが相対的にずれる。これを防ぐためにはブレードダイシング時に全加工ラインでレーザ加工溝位置を認識する必要があるが、これには時間がかかり現実的ではない。
【0007】
本発明はこのような事情に鑑みてなされたもので、レーザ加工した溝に対して適切にブレード加工するウェハ加工システム及びウェハ加工方法を提供することを目的とする。
【課題を解決するための手段】
【0008】
上記目的を達成するためのウェハ加工システムの一の態様は、レーザ加工装置と、ブレードダイシング装置と、記憶部と、を備えるウェハ加工システムであって、レーザ加工装置は、表面に分割予定ラインが形成されたウェハを保持する第1ステージと、ウェハの表面にレーザ光を照射するレーザ照射ユニットと、第1ステージ及びレーザ照射ユニットを相対的に移動させることで、ウェハの分割予定ラインに沿ってレーザ光によって溝を加工する溝入れ加工制御部と、撮像部によりウェハの表面を撮像することにより分割予定ラインに対する溝の位置ずれを示す位置ずれ情報を取得する取得部と、位置ずれ情報をウェハの固有の情報と紐付けて記憶部に記憶させる記憶制御部と、を備え、ブレードダイシング装置は、レーザ加工装置により溝が形成されたウェハを加工対象物とするものであり、ブレードダイシング装置は、ウェハに対応する位置ずれ情報を記憶部から取得する位置情報取得部と、ウェハを保持する第2ステージと、ウェハを切削するブレードと、取得した位置ずれ情報に基づいて第2ステージ及びブレードを相対的に移動させることで、ウェハを溝に沿ってブレードによって切削加工する切削加工制御部と、を備えるウェハ加工システムである。
【0009】
本態様によれば、レーザ加工した溝に対して適切にブレード加工することができる。
【0010】
撮像部は、第1ステージ及びレーザ照射ユニットの相対的な移動方向に対してレーザ照射ユニットの下流側に配置されることが好ましい。これにより、溝が加工された直後に撮像部によってウェハの表面を撮像することができる。
(【0011】以降は省略されています)
この特許をJ-PlatPat(特許庁公式サイト)で参照する
関連特許
株式会社東京精密
加工方法
1か月前
株式会社東京精密
搬送装置
1か月前
株式会社東京精密
プローバ
1か月前
株式会社東京精密
加工装置
1か月前
株式会社東京精密
研削装置
1か月前
株式会社東京精密
研削装置
1か月前
株式会社東京精密
亀裂測定器
1か月前
株式会社東京精密
亀裂測定器
1か月前
株式会社東京精密
レーザ加工装置
1か月前
株式会社東京精密
レーザ加工装置
1か月前
株式会社東京精密
レーザ加工装置
1か月前
株式会社東京精密
ダイシング装置
1か月前
株式会社東京精密
半導体製造装置
1か月前
株式会社東京精密
テープ貼付装置
1か月前
株式会社東京精密
ダイシング装置
1か月前
株式会社東京精密
ウェーハの面取り装置
1か月前
株式会社東京精密
収容ボックスシステム
1か月前
株式会社東京精密
吸着装置及び研削装置
1か月前
株式会社東京精密
ウェーハの面取り装置
1か月前
株式会社東京精密
加工装置及び加工方法
1か月前
株式会社東京精密
ケーブルのガイド方法
1か月前
株式会社東京精密
CMP装置及び研磨方法
1か月前
株式会社東京精密
加工方法、及び、加工装置
1か月前
株式会社東京精密
亀裂検出装置及び亀裂検出方法
1か月前
株式会社東京精密
面取り装置、及び、面取り方法
1か月前
株式会社東京精密
レーザー加工装置の光軸補正方法
1か月前
株式会社東京精密
保護膜検査方法及び保護膜検査装置
1か月前
株式会社東京精密
チューブの固定構造及び測定ヘッド
1か月前
株式会社東京精密
レーザ加工装置及びレーザ加工方法
1か月前
株式会社東京精密
レーザ加工方法及びレーザ加工装置
1か月前
株式会社東京精密
レーザ加工装置およびレーザ加工方法
1か月前
株式会社東京精密
温度調整システムおよび循環ユニット
1か月前
株式会社東京精密
レーザ加工装置およびレーザ加工方法
1か月前
株式会社東京精密
レーザ加工方法およびレーザ加工装置
1か月前
株式会社東京精密
ダイシング装置及びドレッシング方法
1か月前
株式会社東京精密
研削性能判定装置及び研削性能判定方法
1か月前
続きを見る
他の特許を見る