TOP
|
特許
|
意匠
|
商標
特許ウォッチ
Twitter
他の特許を見る
10個以上の画像は省略されています。
公開番号
2025152401
公報種別
公開特許公報(A)
公開日
2025-10-09
出願番号
2024054275
出願日
2024-03-28
発明の名称
レーザ加工方法およびレーザ加工装置
出願人
株式会社東京精密
代理人
個人
,
個人
主分類
H01L
21/301 20060101AFI20251002BHJP(基本的電気素子)
要約
【課題】分割ラインに沿ってレーザを照射してウエハの内部に改質層を形成するレーザ加工においてスプラッシュダメージを低減しつつ、分割ラインに沿ったウエハの分割を精度よく行うことのできるレーザ加工方法およびレーザ加工装置を提供する。
【解決手段】レーザ加工方法は、第1分割ラインに沿って改質層を形成する第1レーザ加工工程と、第1レーザ加工工程の後に行われ、第1分割ラインと交差する第2分割ラインに沿って改質層を形成する第2レーザ加工工程と、を備える。第2レーザ加工工程では、ウエハ10の厚み方向における位置が異なる第1改質層15Aと第2改質層15Bとが形成されるとともに、第1分割ライン11と第2分割ラインとの交差部において、第1分割ライン11との間の距離を第1改質層15Aよりも第2改質層15Bで大きくする。
【選択図】図8
特許請求の範囲
【請求項1】
分割ラインに沿ってレーザを照射してウエハの内部に改質層を形成するレーザ加工方法であって、
第1方向に延びる第1分割ラインに沿って改質層を形成する第1レーザ加工工程と、
前記第1レーザ加工工程の後に行われ、前記第1方向と交差する第2方向に延びて前記第1分割ラインと交差する第2分割ラインに沿って改質層を形成する第2レーザ加工工程と、を備え、
前記第2レーザ加工工程では、前記ウエハの厚み方向における位置が異なる第1改質層と第2改質層とが形成されるとともに、前記第1分割ラインと前記第2分割ラインとの交差部において、前記第2方向における前記第1分割ラインとの間の距離を前記第1改質層と前記第2改質層とで異ならせる
レーザ加工方法。
続きを表示(約 1,200 文字)
【請求項2】
前記第1改質層は、前記厚み方向において前記第2改質層よりも前記ウエハのデバイス面に近い位置に形成される改質層であり、
前記第2方向における前記第1分割ラインとの間の距離を前記第2改質層よりも前記第1改質層で小さくする
請求項1に記載のレーザ加工方法。
【請求項3】
nを3以上の整数とするとき、
前記第2レーザ加工工程では、前記ウエハの厚み方向における位置が異なる改質層として、第(n-1)改質層に対する前記デバイス面の反対側の裏面側に第n改質層がさらに形成され、
前記交差部において、前記第2改質層と前記第2方向における前記第1分割ラインとの間の距離を距離L2、前記第n改質層と前記第2方向における前記第1分割ラインとの間の距離を距離Lnとするとき、距離Ln≧距離L(n-1)とする
請求項2に記載のレーザ加工方法。
【請求項4】
前記第2レーザ加工工程では、前記ウエハの厚み方向における位置が異なる改質層として、前記第n改質層に対する前記裏面側に裏面側改質層が形成され、
前記裏面側改質層は、前記第2分割ラインに沿って前記レーザを連続的に照射することにより形成される
請求項3に記載のレーザ加工方法。
【請求項5】
前記第2レーザ加工工程では、前記第1レーザ加工工程による前記ウエハの膨張度合いに応じて、前記第2方向における前記レーザの照射位置を調整する
請求項1に記載のレーザ加工方法。
【請求項6】
前記第2レーザ加工工程では、前記第2方向における前記交差部の両側において、前記第1分割ラインに近づくように改質層が形成される方向を加工方向としてレーザ加工を行う
請求項1に記載のレーザ加工方法。
【請求項7】
ウエハを支持するワークテーブルと、
前記ウエハにレーザを照射するレーザ照射部と、
前記ワークテーブルと前記レーザ照射部とを相対移動させる相対移動機構と、
前記ウエハの内部に分割ラインに沿った改質層が形成されるように、前記レーザ照射部および前記相対移動機構を制御する制御装置と、を備えるレーザ加工装置であって、
前記制御装置は、
第1方向に延びる第1分割ラインに沿って改質層を形成する第1レーザ加工処理と、
前記第1レーザ加工処理の後に、前記第1方向と交差する第2方向に延びて前記第1分割ラインと交差する第2分割ラインに沿って改質層を形成する第2レーザ加工処理と、を実行し、
前記第2レーザ加工処理では、前記ウエハの厚み方向における位置が異なる第1改質層と第2改質層とを形成するとともに、前記第1分割ラインと前記第2分割ラインとの交差部において、前記第2方向における前記第1分割ラインとの間の距離を前記第1改質層と前記第2改質層とで異ならせる
レーザ加工装置。
発明の詳細な説明
【技術分野】
【0001】
本発明は、ウエハにレーザを照射してウエハの内部に改質層を形成するレーザ加工方法およびレーザ加工装置に関する。
続きを表示(約 3,000 文字)
【背景技術】
【0002】
半導体装置や電子部品などの各種素子が形成されるウエハは、格子状の分割ラインに沿って分割されることにより個々のチップに分割される。こうしたウエハの分割に関連して、例えば特許文献1には、分割ラインに沿ってレーザを照射するレーザ加工により、ウエハの厚み方向における位置が異なる第1改質層と第2改質層とをウエハの内部に形成する技術が開示されている。
【先行技術文献】
【特許文献】
【0003】
特開2018-63987号公報
【発明の概要】
【発明が解決しようとする課題】
【0004】
ところで、レーザ加工が行われるウエハには、レーザ加工にともなう熱ダメージであるスプラッシュダメージが生じる場合がある。こうしたスプラッシュダメージは、分割ラインが交差する交差部において生じやすい。特許文献1では、分割ラインの交差部において、一方の分割ラインについては非加工領域としているものの、スプラッシュダメージを低減しつつ、分割ラインに沿ったウエハの分割を精度よく行ううえで改善の余地があった。
【課題を解決するための手段】
【0005】
上記課題を解決するレーザ加工方法は、分割ラインに沿ってレーザを照射してウエハの内部に改質層を形成する。レーザ加工方法は、第1方向に延びる第1分割ラインに沿って改質層を形成する第1レーザ加工工程と、前記第1レーザ加工工程の後に行われ、前記第1方向と交差する第2方向に延びて前記第1分割ラインと交差する第2分割ラインに沿って改質層を形成する第2レーザ加工工程と、を備える。前記第2レーザ加工工程では、前記ウエハの厚み方向における位置が異なる第1改質層と第2改質層とが形成されるとともに、前記第1分割ラインと前記第2分割ラインとの交差部において、前記第2方向における前記第1分割ラインとの間の距離を前記第1改質層と前記第2改質層とで異ならせる。
【0006】
上記課題を解決するレーザ加工装置は、ウエハを支持するワークテーブルと、前記ウエハにレーザを照射するレーザ照射部と、前記ワークテーブルと前記レーザ照射部とを相対移動させる相対移動機構と、前記ウエハの内部に分割ラインに沿った改質層が形成されるように、前記レーザ照射部および前記相対移動機構を制御する制御装置と、を備えるレーザ加工装置であって、前記制御装置は、第1方向に延びる第1分割ラインに沿って改質層を形成する第1レーザ加工処理と、前記第1レーザ加工処理の後に、前記第1方向と交差する第2方向に延びて前記第1分割ラインと交差する第2分割ラインに沿って改質層を形成する第2レーザ加工処理と、を実行し、前記第2レーザ加工処理では、前記ウエハの厚み方向における位置が異なる第1改質層と第2改質層とを形成するとともに、前記第1分割ラインと前記第2分割ラインとの交差部において、前記第2方向における前記第1分割ラインとの間の距離を前記第1改質層と前記第2改質層とで異ならせる。
【発明の効果】
【0007】
本発明によれば、レーザ加工に起因するウエハのスプラッシュダメージを低減しつつ、分割ラインに沿ったウエハの分割を精度よく行うことができる。
【図面の簡単な説明】
【0008】
図1は、第1実施形態において、レーザ加工方法の一実施形態を用いたレーザ加工が行われるウエハを模式的に示す平面図である。
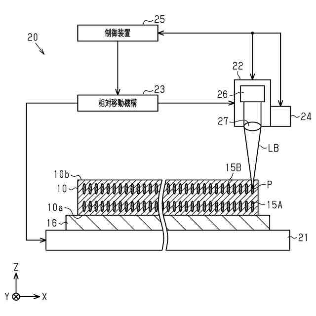
図2は、第1実施形態において、レーザ加工装置の一実施形態の概略構成とともに第1分割ラインに沿って第1改質層および第2改質層が形成されたウエハを模式的に示す図である。
図3は、第1実施形態において、レーザ加工装置の電気的な構成を示す機能ブロック図である。
図4は、第1実施形態において、レーザ加工方法の一実施形態の手順を示すフローチャートである。
図5は、第1実施形態において、第1レーザ加工処理の手順の一例を示すフローチャートである。
図6は、第1実施形態において、第2レーザ加工処理の手順の一例を示すフローチャートである。
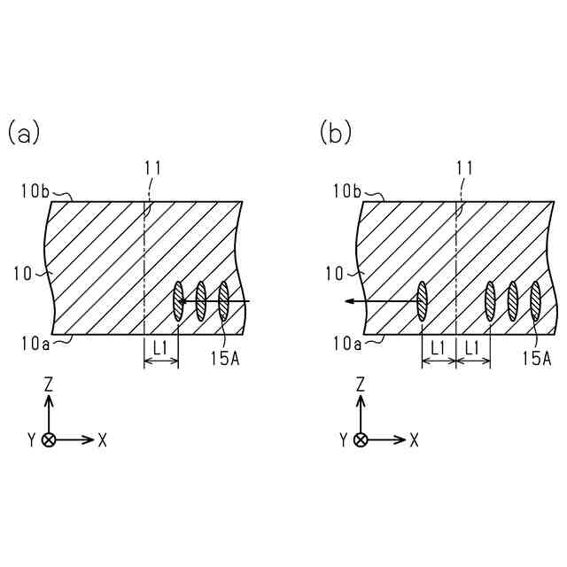
第1実施形態において、図7(a)は第2レーザ加工処理において第1改質層に関するOFF位置を模式的に示す図であり、図7(b)は第2レーザ加工処理において第1改質層に関するON位置を模式的に示す図である。
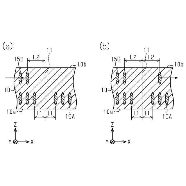
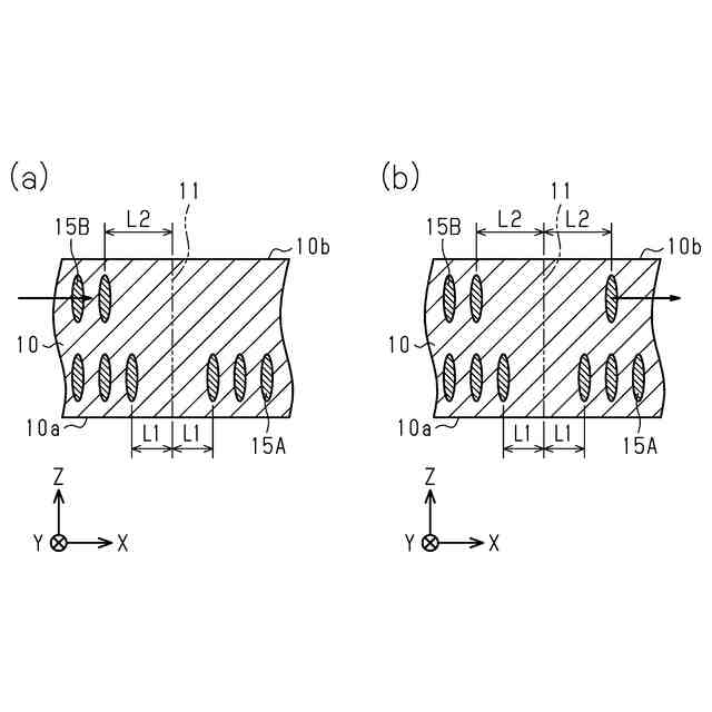
第1実施形態において、図8(a)は第2レーザ加工処理において第2改質層に関するOFF位置を模式的に示す図であり、図8(b)は第2レーザ加工処理において第2改質層に関するON位置を模式的に示す図である。
図9は、第2実施形態において、レーザ加工装置の電気的な構成を示す機能ブロック図である。
図10は、第2実施形態において、レーザ加工装置の電気的な構成を示す機能ブロック図である。
図11は、第3実施形態において、第2レーザ加工工程における加工方向を模式的に示す図である。
第3実施形態において、図12(a)は+X方向にワークテーブルを移動させながら第1改質層が形成される様子を模式的に示す図であり、図12(b)は-X方向にワークテーブルを移動させながら第1改質層が形成される様子を模式的に示す図である。
第3実施形態において、図13(a)は+X方向にワークテーブルを移動させながら第2改質層が形成される様子を模式的に示す図であり、図13(b)は-X方向にワークテーブルを移動させながら第2改質層が形成される様子を模式的に示す図である。
図14は、変形例において、第3改質層および第4改質層が形成されたウエハの一例を示す断面図である。
図15は、変形例において、第5改質層および第6改質層が形成されたウエハの一例を示す断面図である。
【発明を実施するための形態】
【0009】
(第1実施形態)
図1~図8を参照して、レーザ加工方法の第1実施形態について説明する。
図1に示すように、ウエハ10は、第1方向D1に延びる第1分割ライン11と第2方向D2に延びる第2分割ライン12とで構成される格子状の分割ラインに沿って分割されることにより個々のチップに分割される。ウエハ10において、半導体装置や電子部品等の各種素子が形成される表面をデバイス面10aといい、デバイス面10aの反対側の面を裏面10b(図2参照)という。また、第1分割ライン11と第2分割ライン12とが交差する部分を交差部13という。
【0010】
なお、以下では、ウエハ10のデバイス面10aおよび裏面10bが延びる面方向をXY方向、XY方向における1つの方向をX方向、XY方向においてX方向に直交する方向をY方向という。X方向は、各工程において加工対象となる分割ラインが延びる方向である。X方向については、場合によって、図中の矢印が指す方向を+X方向、+X方向の反対方向を-X方向という。また、XY方向に直交する方向をZ方向という。Z方向は、ウエハ10の厚み方向である。
(【0011】以降は省略されています)
この特許をJ-PlatPat(特許庁公式サイト)で参照する
関連特許
株式会社東京精密
加工装置
1か月前
株式会社東京精密
プローバ
1か月前
株式会社東京精密
プローバ
1か月前
株式会社東京精密
加工装置
1か月前
株式会社東京精密
加工装置
1か月前
株式会社東京精密
加工方法
1か月前
株式会社東京精密
プローバ
1か月前
株式会社東京精密
研削装置
1か月前
株式会社東京精密
研削装置
1か月前
株式会社東京精密
加工装置
1か月前
株式会社東京精密
搬送装置
1か月前
株式会社東京精密
亀裂測定器
1か月前
株式会社東京精密
亀裂測定器
1か月前
株式会社東京精密
レーザ加工装置
1か月前
株式会社東京精密
半導体製造装置
1か月前
株式会社東京精密
レーザ加工装置
1か月前
株式会社東京精密
レーザ加工装置
1か月前
株式会社東京精密
ダイシング装置
1か月前
株式会社東京精密
ダイシング装置
1か月前
株式会社東京精密
テープ貼付装置
1か月前
株式会社東京精密
ハブレスブレード
1か月前
株式会社東京精密
ケーブルのガイド方法
1か月前
株式会社東京精密
加工装置及び加工方法
1か月前
株式会社東京精密
収容ボックスシステム
1か月前
株式会社東京精密
吸着装置及び研削装置
1か月前
株式会社東京精密
ウェーハの面取り装置
1か月前
株式会社東京精密
校正方法及び校正装置
1か月前
株式会社東京精密
ウェーハの面取り装置
1か月前
株式会社東京精密
ウェーハセンシング装置
1か月前
株式会社東京精密
CMP装置及び研磨方法
1か月前
株式会社東京精密
面取り装置及び面取り方法
1か月前
株式会社東京精密
加工方法、及び、加工装置
1か月前
株式会社東京精密
亀裂検出装置及び亀裂検出方法
1か月前
株式会社東京精密
内径測定装置及びそのシステム
1か月前
株式会社東京精密
面取り装置、及び、面取り方法
1か月前
株式会社東京精密
プローバおよびウェーハ冷却方法
1か月前
続きを見る
他の特許を見る