TOP
|
特許
|
意匠
|
商標
特許ウォッチ
Twitter
他の特許を見る
10個以上の画像は省略されています。
公開番号
2025151381
公報種別
公開特許公報(A)
公開日
2025-10-09
出願番号
2024052779
出願日
2024-03-28
発明の名称
レーザ加工装置およびレーザ加工方法
出願人
株式会社東京精密
代理人
個人
,
個人
,
個人
主分類
B23K
26/067 20060101AFI20251002BHJP(工作機械;他に分類されない金属加工)
要約
【課題】分岐レーザ光を用い、短時間で、より均一にレーザ加工が可能なレーザ加工装置を提供する。
【解決手段】実施形態に係るレーザ加工装置は、レーザ光を出射するレーザ光源と、レーザ光を分岐して、2以上の分岐レーザ光にする分岐機構と、分岐レーザ光を第1焦点に集光する4f光学系と、第1焦点で、前記分岐レーザ光を所定のタイミングに応じて遮蔽する遮蔽機構と、4f光学系を通過後の前記分岐レーザ光を被加工物に集光させる集光レンズと、を備える。
【選択図】図1
特許請求の範囲
【請求項1】
レーザ光を出射するレーザ光源と、
前記レーザ光を分岐して、2以上の分岐レーザ光にする分岐機構と、
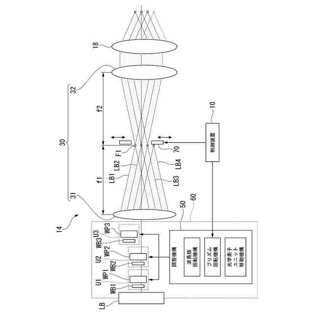
前記分岐レーザ光を第1焦点に集光する4f光学系と、
前記第1焦点で、前記分岐レーザ光を所定のタイミングに応じて遮蔽する遮蔽機構と、
前記4f光学系を通過後の前記分岐レーザ光を被加工物に集光させる集光レンズと、
を備える、レーザ加工装置。
続きを表示(約 890 文字)
【請求項2】
前記遮蔽機構が、10ms以下の時間間隔で前記分岐レーザ光を遮蔽可能なビームシャッタである、請求項1記載のレーザ加工装置。
【請求項3】
前記遮蔽機構が、電子光学素子および偏光ビームスプリッタである、請求項1記載のレーザ加工装置。
【請求項4】
前記分岐機構が前記レーザ光の光路上に直列に配置され、前記分岐機構が1/2波長板と、ウォラストンプリズムと有する光学素子と、前記1/2波長板を光路周りに回転させる波長板回転機構と、前記ウォラストンプリズムを前記光路周りに回転させるプリズム回転機構と、を備える、請求項1又は2記載のレーザ加工装置。
【請求項5】
前記分岐機構がLiquid Crystal On Siliconである、請求項1または2に記載のレーザ加工装置。
【請求項6】
前記分岐機構が前記分岐レーザ光の分岐方向を調整するレーザ光調整部をさらに備える、請求項4に記載のレーザ加工装置。
【請求項7】
請求項1に記載のレーザ加工装置を用いて、複数の前記分岐レーザ光のスポットを加工進行方向に直線状に配列させて、前記被加工物を加工するレーザ加工方法。
【請求項8】
前記被加工物が加工予定領域および非加工領域を有し、
前記非加工領域では、前記遮蔽機構を用い、前記分岐レーザ光を遮蔽する、請求項7に記載のレーザ加工方法。
【請求項9】
前記被加工物が、加工予定領域および加工済み領域を有し、
前記加工済み領域では、前記遮蔽機構を用い、前記分岐レーザ光を遮蔽する、請求項7に記載のレーザ加工方法。
【請求項10】
前記被加工物が、加工レートが高い材料からなる高レート領域および加工レートが低い材料からなる低レート領域を有し、
前記低レート領域の前記スポットの数が、前記高レート領域の前記スポットの数よりも多くなるように、前記遮蔽機構を用い、前記分岐レーザ光を遮蔽する、請求項7に記載のレーザ加工方法。
発明の詳細な説明
【技術分野】
【0001】
本発明は、レーザ加工装置およびレーザ加工方法に関する。
続きを表示(約 2,500 文字)
【背景技術】
【0002】
半導体の分野では、シリコン等の基板の表面に低誘電率絶縁体被膜(Low-k膜)と回路を形成する機能膜とを積層した積層体により複数のデバイスを形成しているウェーハ(半導体ウェーハ)が知られている。
【0003】
このようなウェーハは、複数のデバイスが格子状のストリートによって格子状に区画されており、ウェーハを分割予定ラインに沿って分割することにより個々のデバイスが製造される。
【0004】
Low-k膜は、剥離しやすい性質を有するため、ブレードを用いたダイシングでは、Low-k膜を剥離してしまう場合がある。このような問題に対応するため、レーザアブレーションにより、Low-k膜を分割する第1の溝を分割予定の両側に2条形成した後、2条の第1の溝の間に第2の溝を形成する方法がある。
【0005】
被加工物にレーザ加工を行う場合、加工時間が短いこと、分割したデバイスなどへの熱の影響を抑制することなどが求められる。加工時間を短くする場合、1パス(1回の加工送り)で加工を行えばよいが、その場合、1つのビーム当たりのエネルギ―を高くする必要がある。1つのビーム当たりのエネルギ―を高くすると、レーザ加工時に熱が発生しやすくなり、デバイスへの影響が増大する。一方、デバイスへの熱の影響を小さくするためには、1つのビーム当たりのエネルギーを低くし、複数パスでレーザ加工することが考えられる。しかし、この場合、加工時間を短くすることが困難になる。
【0006】
これらの問題を解決する技術として特許文献1には、レーザ光の光路上に直列に配置され、1/2波長板とウォラストンプリズムとを有する複数の光学素子ユニットと、前記1/2波長板を前記光路周りに回転させる波長板回転機構と、前記ウォラストンプリズムを前記光路周りに回転させるプリズム回転機構と、を備え、前記複数の光学素子ユニットは、前記1/2波長板を介して前記ウォラストンプリズムに前記レーザ光が入射されて2本の分岐レーザ光に分岐されるレーザ光学系が開示されている。
【先行技術文献】
【特許文献】
【0007】
特開2023-148477号公報
【発明の概要】
【発明が解決しようとする課題】
【0008】
しかし、特許文献1の技術では、加工開始端と加工終了端などで、レーザのスポット群が重なる回数に差が現れ、一部の領域で不均一な加工となる恐れがあった。そのため、六角形などの非直行デバイスを加工する際などに、レーザ光を分岐しない加工が必要になり、通常の加工と比較してパス数が増える恐れがあった。
【0009】
本発明は上記事情を鑑みなされた発明であり、分岐レーザ光を用い、短時間で、より均一にレーザ加工が可能なレーザ加工装置およびレーザ加工方法を提供することを目的とする。
【課題を解決するための手段】
【0010】
前記課題を解決するために、本発明は以下の手段を提案している。
<1>本発明の態様1のレーザ加工装置は、
レーザ光を出射するレーザ光源と、
前記レーザ光を分岐して、2以上の分岐レーザ光にする分岐機構と、
前記分岐レーザ光を第1焦点に集光する4f光学系と、
前記第1焦点で、前記分岐レーザ光を所定のタイミングに応じて遮蔽する遮蔽機構と、
前記4f光学系を通過後の前記分岐レーザ光を被加工物に集光させる集光レンズと、
を備える。
<2>本発明の態様2は、態様1のレーザ加工装置において、
前記遮蔽機構が、10ms以下の時間間隔で前記分岐レーザ光を遮蔽可能なビームシャッタであってもよい。
<3>本発明の態様3は、態様1のレーザ加工装置において、
前記遮蔽機構が、電子光学素子および偏光ビームスプリッタであってもよい。
<4>本発明の態様4は、態様1又は2記載のレーザ加工装置において、
前記分岐機構が前記レーザ光の光路上に直列に配置され、前記分岐機構が1/2波長板と、ウォラストンプリズムと有する光学素子と、前記1/2波長板を光路周りに回転させる波長板回転機構と、前記ウォラストンプリズムを前記光路周りに回転させるプリズム回転機構と、を備えてもよい。
<5>本発明の態様5は、態様1または2のレーザ加工装置において、
前記分岐機構がLiquid Crystal On Siliconであってもよい。
<6>本発明の態様6は、態様4に記載のレーザ加工装置において、前記分岐機構が前記分岐レーザ光の分岐方向を調整するレーザ光調整部をさらに備えてもよい。
<7>本発明の態様7のレーザ加工方法は、態様1のレーザ加工装置を用いて、複数の前記分岐レーザ光のスポットを加工進行方向に直線状に配列させて、前記被加工物を加工する。
<8>本発明の態様8は、態様7のレーザ加工方法において、
前記被加工物が加工予定領域および非加工領域を有し、
前記非加工領域では、前記遮蔽機構を用い、前記分岐レーザ光を遮蔽してもよい。
<9>本発明の態様9は、態様7のレーザ加工方法において、
前記被加工物が、加工予定領域および加工済み領域を有し、
前記加工済み領域では、前記遮蔽機構を用い、前記分岐レーザ光を遮蔽してもよい。
<10>本発明の態様10は、態様7のレーザ加工方法において、
前記被加工物が、加工レートが高い材料からなる高レート領域および加工レートが低い材料からなる低レート領域を有し、
前記低レート領域の前記スポットの数が、前記高レート領域の前記スポットの数よりも多くなるように、前記遮蔽機構を用い、前記分岐レーザ光を遮蔽してもよい。
【発明の効果】
(【0011】以降は省略されています)
この特許をJ-PlatPat(特許庁公式サイト)で参照する
関連特許
株式会社東京精密
プローバ
1か月前
株式会社東京精密
加工装置
1か月前
株式会社東京精密
加工装置
1か月前
株式会社東京精密
プローバ
1か月前
株式会社東京精密
研削装置
25日前
株式会社東京精密
プローバ
1か月前
株式会社東京精密
研削装置
29日前
株式会社東京精密
加工装置
29日前
株式会社東京精密
加工方法
1か月前
株式会社東京精密
搬送装置
29日前
株式会社東京精密
加工装置
1か月前
株式会社東京精密
亀裂測定器
29日前
株式会社東京精密
亀裂測定器
29日前
株式会社東京精密
レーザ加工装置
29日前
株式会社東京精密
半導体製造装置
29日前
株式会社東京精密
レーザ加工装置
29日前
株式会社東京精密
レーザ加工装置
29日前
株式会社東京精密
ダイシング装置
29日前
株式会社東京精密
テープ貼付装置
29日前
株式会社東京精密
ダイシング装置
25日前
株式会社東京精密
ハブレスブレード
1か月前
株式会社東京精密
ウェーハの面取り装置
29日前
株式会社東京精密
収容ボックスシステム
1か月前
株式会社東京精密
校正方法及び校正装置
1か月前
株式会社東京精密
加工装置及び加工方法
29日前
株式会社東京精密
ケーブルのガイド方法
29日前
株式会社東京精密
ウェーハの面取り装置
29日前
株式会社東京精密
吸着装置及び研削装置
29日前
株式会社東京精密
ウェーハセンシング装置
1か月前
株式会社東京精密
CMP装置及び研磨方法
1か月前
株式会社東京精密
面取り装置及び面取り方法
1か月前
株式会社東京精密
加工方法、及び、加工装置
1か月前
株式会社東京精密
亀裂検出装置及び亀裂検出方法
29日前
株式会社東京精密
面取り装置、及び、面取り方法
1か月前
株式会社東京精密
内径測定装置及びそのシステム
1か月前
株式会社東京精密
プローバおよびウェーハ冷却方法
1か月前
続きを見る
他の特許を見る