TOP
|
特許
|
意匠
|
商標
特許ウォッチ
Twitter
他の特許を見る
10個以上の画像は省略されています。
公開番号
2025160453
公報種別
公開特許公報(A)
公開日
2025-10-22
出願番号
2025129946,2021094056
出願日
2025-08-04,2021-06-04
発明の名称
プローバ制御装置及びプローバ制御方法
出願人
株式会社東京精密
代理人
個人
,
個人
,
個人
,
個人
主分類
H01L
21/66 20060101AFI20251015BHJP(基本的電気素子)
要約
【課題】プローブ針の先端位置をより正確に予測することが可能なプローバ制御装置、及びプローバ制御方法を提供する。
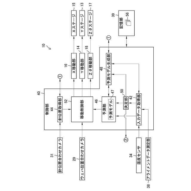
【解決手段】プローブ針(35)を電気的特性の検査対象に接触させるプローバ制御装置において、プローブカード(26)及びカードホルダ(25)の少なくとも一方の温度データを含む入力データを取得する入力データ取得部(42)と、入力データ取得部が取得した入力データに基づき、入力データを入力とし且つプローブ針の先端位置を出力とする予測モデル(47)を用いて、プローブ針の先端位置を予測する予測部(46)と、予測部の予測前に、予測モデルの機械学習に教師データとして用いられた入力データと、入力データ取得部が取得した入力データとに基づき、予測部による予測の実行の可否を決定する決定部(50)と、を備える。
【選択図】図5
特許請求の範囲
【請求項1】
プローブ針を有するプローブカードと、前記プローブカードを電気的特性の検査対象に対向させるカードホルダと、を相対移動させる相対移動部を駆動して前記プローブ針を前記検査対象に接触させるプローバ制御装置において、
前記プローブカード及び前記カードホルダの少なくとも一方の温度データを含む入力データを取得する入力データ取得部と、
前記入力データ取得部が取得した前記入力データに基づき、前記入力データを入力とし且つ前記プローブ針の先端位置を出力とする予測モデルを用いて、前記プローブ針の先端位置を予測する予測部と、
前記予測部の予測前に、前記予測モデルの機械学習に教師データとして用いられた前記入力データと、前記入力データ取得部が取得した前記入力データとに基づき、前記予測部による予測の実行の可否を決定する決定部と、
を備えるプローバ制御装置。
続きを表示(約 410 文字)
【請求項2】
プローブ針を有するプローブカードと、前記プローブカードを電気的特性の検査対象に対向させるカードホルダと、を相対移動させる相対移動部を駆動して前記プローブ針を前記検査対象に接触させるプローバ制御方法において、
前記プローブカード及び前記カードホルダの少なくとも一方の温度データを含む入力データを取得する入力データ取得ステップと、
前記入力データ取得ステップで取得した前記入力データに基づき、前記入力データを入力とし且つ前記プローブ針の先端位置を出力とする予測モデルを用いて、前記プローブ針の先端位置を予測する予測ステップと、
前記予測ステップの前に、前記予測モデルの機械学習に教師データとして用いられた前記入力データと、前記入力データ取得ステップで取得した前記入力データとに基づき、前記予測ステップの実行の可否を決定する決定ステップと、
を有するプローバ制御方法。
発明の詳細な説明
【技術分野】
【0001】
本発明は、ウェーハに形成された半導体チップの電気的特性の検査に用いられるプローバのプローバ制御装置、プローバ制御方法、及びプローバに関する。
続きを表示(約 1,800 文字)
【背景技術】
【0002】
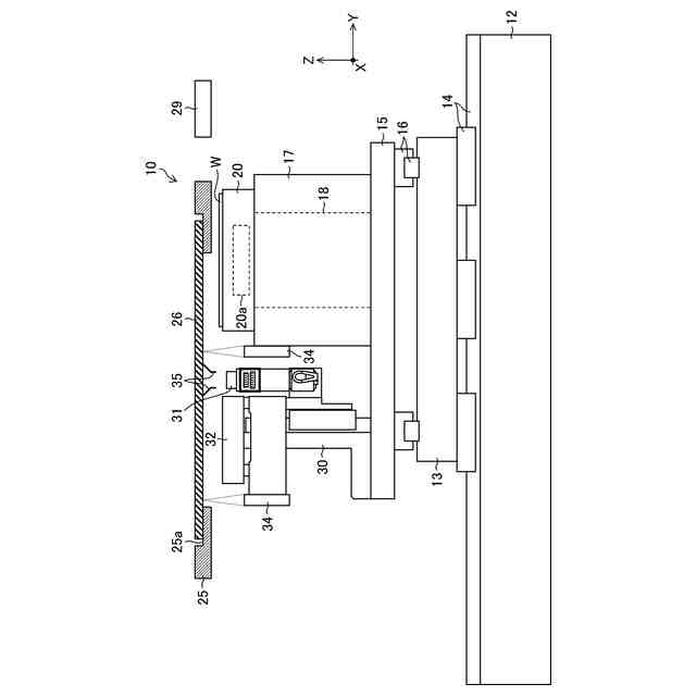
ウェーハの表面には、同一の電気素子回路を有する複数の半導体チップが形成されている。各半導体チップは、ダイサーで個々に切断される前に、ウェーハテストシステムにより電気的特性が検査される。このウェーハテストシステムは、プローバとテスタとを備える(特許文献1から特許文献4参照)。
【0003】
プローバは、ウェーハをウェーハチャック上に保持した状態で、プローブ針を有するプローブカードとウェーハチャックとを相対移動させることにより、半導体チップの電極パッドにプローブ針を電気的に接触(コンタクト)させる。テスタは、プローブ針に接続された端子を介して、半導体チップに各種の試験信号を供給すると共に、半導体チップから出力される信号を受信及び解析して半導体チップが正常に動作するか否かをテストする。
【0004】
半導体チップは広い用途に使用されており、広い温度範囲で使用される。そのため、半導体チップの検査は、例えば室温(常温)、高温、及び低温で行う必要がある。このため、プローバのウェーハチャックには、例えばヒータ機構、チラー機構、ヒートポンプ機構などの温度調整部を設けられており、この温度調整部によってウェーハチャック上に保持されているウェーハが加熱又は冷却される。
【0005】
この際に、プローバのウェーハチャック以外の各部の温度もウェーハチャックの温度に近づくように徐々に変化する。このため、各部が加熱による熱膨張又は冷却により収縮することによって変形し、この変形に伴いプローブ針と半導体チップとの相対位置も変化する。その結果、半導体チップの検査を行うためにプローブ針とウェーハとを相対移動させた際に、プローブ針が半導体チップに正しく接触しないプロービングミスが生じるおそれがある。
【0006】
そこで、特許文献1には、プローブ針を有するプローブカードに温度センサを取り付け、この温度センサの測定結果に基づき、プローブ針と半導体チップとを接触させる際のウェーハチャックの高さ位置を補正するプローバが開示されている。この特許文献1に記載のプローバでは、プローブカードの温度とプローブ針の高さ方向の変位量との関係を予め求めておくことで、温度センサの測定結果からウェーハチャックの高さ位置の補正量を求めることができる。
【0007】
特許文献2には、プローブカード及びX方向移動ステージに温度センサを設け、温度センサの測定結果に基づきプローバの所定部位の温度が安定している状態でプローブ針を半導体チップに接触させるプローバが開示されている。この特許文献2に記載のプローバによれば、ウェーハ及びプローブカード等を予め加熱するプリヒート時間を短縮することができる。
【0008】
特許文献3には、ウェーハチャック、プローブカードを保持するカードホルダ、及びカードホルダを保持するヘッドステージにそれぞれ温度センサを取り付け、各温度センサの測定結果に基づき、プローブ針と半導体チップとの接触位置を補正するプローバが開示されている。この特許文献3のプローバでは、ウェーハチャック、及びカードホルダの各温度とプローブ針の位置との関係を予め求めることで、各温度の変化に伴うプローブ針の位置変化を示す予測モデルを生成する。これにより、特許文献3のプローバは、各温度センサの温度測定結果に基づき、予測モデルを参照することで、プローブ針と半導体チップとの接触位置を補正することができる。
【0009】
特許文献4には、プローブカード及びカードホルダの双方の温度測定を行い、双方の温度測定結果に基づき、双方の温度と、双方の熱変形により変位したプローブ針の先端位置との関係を示す予測モデルを参照して、プローブ針の先端位置を予測するプローバが開示されている。この特許文献4に記載のプローバによれば、プローブ針を半導体チップに効率良く安定して接触させることができる。
【先行技術文献】
【特許文献】
【0010】
特開2006-173206号公報
特開2005-228788号公報
特開2007-311389号公報
特開2018-117095号公報
【発明の概要】
【発明が解決しようとする課題】
(【0011】以降は省略されています)
この特許をJ-PlatPat(特許庁公式サイト)で参照する
関連特許
株式会社東京精密
プローバ
1か月前
株式会社東京精密
研削装置
1か月前
株式会社東京精密
加工装置
1か月前
株式会社東京精密
プローバ
1か月前
株式会社東京精密
加工装置
1か月前
株式会社東京精密
プローバ
1か月前
株式会社東京精密
加工装置
2か月前
株式会社東京精密
加工装置
1か月前
株式会社東京精密
搬送装置
1か月前
株式会社東京精密
プローバ
1か月前
株式会社東京精密
加工装置
2か月前
株式会社東京精密
加工方法
1か月前
株式会社東京精密
加工装置
1か月前
株式会社東京精密
ロッカー
2か月前
株式会社東京精密
プローバ
2か月前
株式会社東京精密
研削装置
1か月前
株式会社東京精密
プローバ
1か月前
株式会社東京精密
亀裂測定器
1か月前
株式会社東京精密
亀裂測定器
1か月前
株式会社東京精密
電池検査装置
1か月前
株式会社東京精密
ダイシング装置
1か月前
株式会社東京精密
レーザ加工装置
1か月前
株式会社東京精密
レーザ加工装置
1か月前
株式会社東京精密
ダイシング装置
1か月前
株式会社東京精密
レーザ加工装置
1か月前
株式会社東京精密
テープ貼付装置
1か月前
株式会社東京精密
半導体製造装置
1か月前
株式会社東京精密
ハブレスブレード
1か月前
株式会社東京精密
スラリー供給装置
2か月前
株式会社東京精密
加工装置及び加工方法
1か月前
株式会社東京精密
収容ボックスシステム
1か月前
株式会社東京精密
ウェーハの面取り装置
1か月前
株式会社東京精密
吸着装置及び研削装置
1か月前
株式会社東京精密
ウェーハの面取り装置
1か月前
株式会社東京精密
校正方法及び校正装置
1か月前
株式会社東京精密
ケーブルのガイド方法
1か月前
続きを見る
他の特許を見る