TOP
|
特許
|
意匠
|
商標
特許ウォッチ
Twitter
他の特許を見る
10個以上の画像は省略されています。
公開番号
2025151659
公報種別
公開特許公報(A)
公開日
2025-10-09
出願番号
2024053198
出願日
2024-03-28
発明の名称
ウェーハの面取り装置、及び、面取り方法
出願人
株式会社東京精密
代理人
スプリング弁理士法人
主分類
H01L
21/304 20060101AFI20251002BHJP(基本的電気素子)
要約
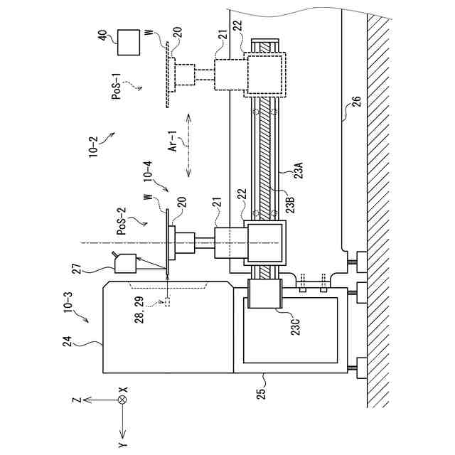
【課題】 アライメントマークと結晶方位との不整合を解消し得る面取り装置の提供。
【解決手段】 ウェーハの面取り装置であって、ウェーハの結晶方位を測定する結晶方位測定器24を備え、前記ウェーハのアライメントマークと前記結晶方位との整合性が所定の基準を満足するまで、前記ウェーハの周縁の研削を繰り返す、面取り装置。
【選択図】図1
特許請求の範囲
【請求項1】
ウェーハの面取り装置であって、
ウェーハの結晶方位を測定する結晶方位測定器を備え、
前記ウェーハのアライメントマークと前記結晶方位との整合性が所定の基準を満足するまで、前記ウェーハの周縁の研削を繰り返す、面取り装置。
続きを表示(約 810 文字)
【請求項2】
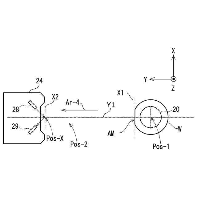
前記アライメントマークの位置を測定するセンサを備え、
前記結晶方位と前記アライメントマークの位置とは、同一の測定テーブル上に保持された前記ウェーハについてそれぞれ測定される、請求項1に記載の面取り装置。
【請求項3】
前記測定テーブルを並進移動させる搬送機構を備え、
前記搬送機構は、前記測定テーブルを、前記アライメントマークの位置の測定のための第1位置、及び、前記結晶方位の測定のための第2位置に移動させる、請求項2に記載の面取り装置。
【請求項4】
前記測定テーブルは、前記アライメントマークの位置の測定結果に基づき、前記第2位置において前記アライメントマークを前記結晶方位測定器に向けるよう回転する、請求項3に記載の面取り装置。
【請求項5】
前記センサは、前記ウェーハの大きさを測定し、
前記搬送機構は、前記大きさに基づき、前記第1位置から、前記第2位置への前記並進移動の移動量を調整する、請求項3に記載の面取り装置。
【請求項6】
前記搬送機構は、前記測定テーブルを、前記ウェーハの研削のための第3位置に移動させる、請求項3に記載の面取り装置。
【請求項7】
ウェーハの結晶方位を測定する結晶方位測定器を備える面取り装置を用いたウェーハの面取り方法であって、
前記ウェーハのアライメントマークと前記結晶方位との整合性が所定の基準を満足するまで、前記ウェーハの周縁の研削を繰り返すことを含む、面取り方法。
【請求項8】
前記面取り装置は、前記アライメントマークの位置を測定するセンサを備え、
同一の測定テーブル上に保持された前記ウェーハに対して、
前記結晶方位と前記アライメントマークとをそれぞれ測定することを含む、請求項7に記載の面取り方法。
発明の詳細な説明
【技術分野】
【0001】
本開示は、面取り装置、及び、面取り方法に関する。
続きを表示(約 1,800 文字)
【背景技術】
【0002】
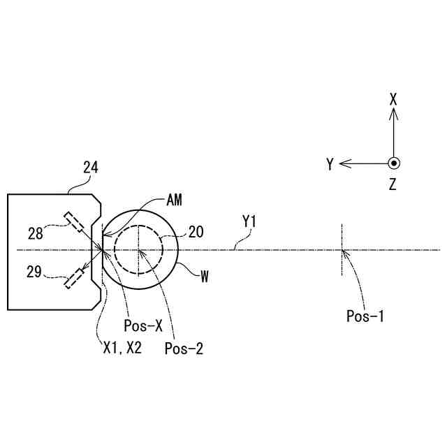
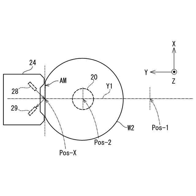
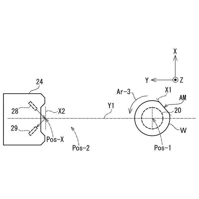
ウェーハの周縁には、加工工程等における位置決めのためのマークが設けられる。マークには、オリエンテーションフラット、及び、ノッチ等の種類がある。本明細書では、これらを総称してアライメントマークという。単結晶ウェーハでは、アライメントマークは、結晶方位の基準を示すための印としての機能も併せ持つ。
【0003】
単結晶ウェーハは、ウェーハの全体が単一の結晶から構成されるべきウェーハである。しかし、ウェーハの周縁(「エッジ部」ともいう。)では、結晶の成長過程の冷却速度の違い、及び、機械的な加工履歴等に起因して、結晶構造が不完全になることがある。単結晶ウェーハの主要な用途では、たとえ一部でも結晶構造の乱れが存在することは望ましくない。結晶構造の乱れは、絶縁破壊のリスクを高める。そのため、単結晶ウェーハに代表される、ウェーハ一般の製造工程には、アライメントマークが付された部分を含めて、周縁の全周を研削する、面取り(chamfering)の工程が含まれる。面取りには、他にも、欠けや割れの防止等の効果も期待される。
【先行技術文献】
【特許文献】
【0004】
特開2018-170312号公報
【発明の概要】
【発明が解決しようとする課題】
【0005】
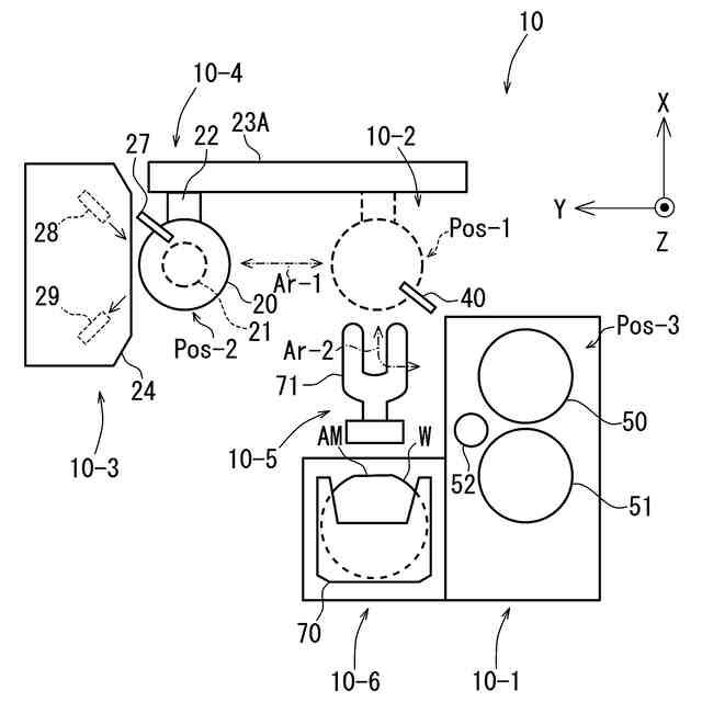
面取りの条件は、アライメントマークが付された部分を研削することも考慮して設定される。そのため、アライメントマークの位置等のウェーハの形状に関する情報が光電センサ等により取得され、条件設定に利用される(特許文献1)。面取りは、一般に、研削テーブル上に保持されたウェーハに研削砥石を当接させて行われる。この場合、研削条件には、例えば、研削砥石のウェーハに対する進入角度、研削テーブルの移動速度、研削砥石・研削テーブルの回転速度、及び、研削砥石と研削テーブルとの相対位置等が含まれる。
【0006】
アライメントマークには、単結晶ウェーハにおける任意の結晶方位に対応する印としての機能が求められる。アライメントマークは、通常は、面取り加工の前に設けられる。本来、アライメントマークは、所定の結晶方位と一致する、又は、所定の結晶方位と所定の角度をなすことが必要とされる。本明細書では、このことを、「アライメントマークと結晶方位との整合性が確保される」ともいう。また、アライメントマークと結晶方位との整合性について、単に「整合性」ということがある。
【0007】
しかし、面取り前のウェーハでは、多くの場合に整合性が確保されていない。そこで、面取りには、単にウェーハの周縁を研削するだけでなく、アライメントマークと結晶方位との関係の調整も併せて求められる。言い換えれば、面取りには、結晶方位との関係を考慮した、アライメントマークの形状・位置の調整も求められる。なお、本明細書では、整合性が確保されていない状態を「不整合」ということがある。
【0008】
しかし、本発明者らは、従来法による面取り後のウェーハWにも不整合が生じる、又は、残る場合があることを知見している。
【0009】
また、近年、シリコン(Si)以外にも、光学アプリケーション、高速電子デバイス、及び、パワーデバイス等の用途でサファイア、ガリウムヒ素(GaAs)、インジウムリン(InP)、及び、炭化ケイ素(SiC)等のウェーハが求められるようになってきた。これらの材質の単結晶ウェーハは従来よりも高価であるため、歩留りの向上が益々求められている。そのため、テストウェーハの1枚といっても、無駄にすることは望ましくない。これも、従来法の課題の1つと言える。
【0010】
本発明者らは、面取り後の不整合の要因が、面取り前の不整合以外にも存在し得ると考えて、それを追究してきた。すでに説明したとおり、従来は、同ロットにおける面取り前の不整合を系統誤差として除去し得る研削条件の設定により、十分な品質のウェーハが得られるとの常識があり、その検討は困難なものだった。しかし、鋭意の検討の結果、面取り後の不整合の新たな要因を突き止めるに至った。
(【0011】以降は省略されています)
この特許をJ-PlatPat(特許庁公式サイト)で参照する
関連特許
株式会社東京精密
ウェーハの在荷検知装置
11日前
株式会社東京精密
ウェハ加工システム及びウェハ加工方法
24日前
APB株式会社
蓄電セル
1か月前
東ソー株式会社
絶縁電線
1か月前
個人
フレキシブル電気化学素子
1か月前
株式会社東芝
端子台
24日前
日新イオン機器株式会社
イオン源
1か月前
株式会社ユーシン
操作装置
1か月前
マクセル株式会社
電源装置
24日前
ローム株式会社
半導体装置
1か月前
三菱電機株式会社
回路遮断器
11日前
株式会社GSユアサ
蓄電装置
3日前
株式会社ホロン
冷陰極電子源
1か月前
富士電機株式会社
電磁接触器
3日前
株式会社GSユアサ
蓄電装置
17日前
株式会社GSユアサ
蓄電設備
1か月前
株式会社GSユアサ
蓄電設備
1か月前
株式会社GSユアサ
蓄電装置
25日前
オムロン株式会社
電磁継電器
1か月前
太陽誘電株式会社
コイル部品
1か月前
株式会社GSユアサ
蓄電装置
25日前
日東電工株式会社
積層体
1か月前
トヨタ自動車株式会社
蓄電装置
25日前
サクサ株式会社
電池の固定構造
1か月前
北道電設株式会社
配電具カバー
1か月前
トヨタ自動車株式会社
冷却構造
1か月前
日新イオン機器株式会社
基板処理装置
27日前
トヨタ自動車株式会社
バッテリ
1か月前
ノリタケ株式会社
熱伝導シート
1か月前
日本特殊陶業株式会社
保持装置
1か月前
日本特殊陶業株式会社
保持装置
16日前
トヨタ自動車株式会社
蓄電装置
1か月前
ベストテック株式会社
装置支持具
1か月前
ローム株式会社
半導体装置
1か月前
株式会社トクヤマ
シリコンエッチング液
1か月前
住友電装株式会社
コネクタ
1か月前
続きを見る
他の特許を見る