TOP
|
特許
|
意匠
|
商標
特許ウォッチ
Twitter
他の特許を見る
10個以上の画像は省略されています。
公開番号
2025169131
公報種別
公開特許公報(A)
公開日
2025-11-12
出願番号
2024163325
出願日
2024-09-20
発明の名称
超伝導モータおよびモータシステム
出願人
株式会社荏原製作所
代理人
個人
,
個人
,
個人
主分類
H02K
55/04 20060101AFI20251105BHJP(電力の発電,変換,配電)
要約
【課題】高速回転および小型化が可能な電気モータを提供する。
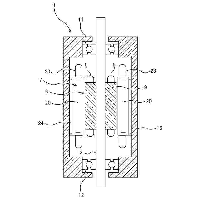
【解決手段】超伝導モータ1は、複数の超伝導コイル5を有するモータロータ6と、モータロータ6に隣接するモータステータ7を備える。モータステータ7は、アモルファスから構成された歯20と、歯20に巻き付けられた巻線23を有する。
【選択図】図1
特許請求の範囲
【請求項1】
超伝導モータであって、
複数の超伝導コイルを有するモータロータと、
前記モータロータに隣接するモータステータを備え、
前記モータステータは、積層された複数のアモルファス板により構成された歯と、前記歯に巻き付けられた巻線を有する、超伝導モータ。
続きを表示(約 1,100 文字)
【請求項2】
前記巻線は、複数の素線の束と、前記複数の素線の束を覆う外被膜を有し、
前記複数の素線のそれぞれは、導線と、前記導線を覆う内被膜を有し、
前記複数の素線のそれぞれは、0.71mm以下の円直径に相当する断面積を有する、請求項1に記載の超伝導モータ。
【請求項3】
前記内被膜の厚さは、5μm以下である、請求項2に記載の超伝導モータ。
【請求項4】
前記複数のアモルファス板のそれぞれの厚さは、0.3mm未満である、請求項1に記載の超伝導モータ。
【請求項5】
前記モータステータは、前記歯の外側に位置する円環コアを有し、前記円環コアは電磁鋼板から構成されている、請求項1に記載の超伝導モータ。
【請求項6】
前記モータロータは、前記複数の超伝導コイルに直列に接続されたダイオードを備えている、請求項1に記載の超伝導モータ。
【請求項7】
前記モータロータは、前記複数の超伝導コイルに直列に接続された抵抗器をさらに備えている、請求項6に記載の超伝導モータ。
【請求項8】
請求項1乃至7のいずれか一項に記載の超伝導モータと、
前記超伝導モータに可変周波数の電力を供給する複数のインバータと、
前記複数のインバータに電圧をそれぞれ印加する複数の直流電源を備えている、モータシステム。
【請求項9】
請求項1乃至5のいずれか一項に記載の超伝導モータと、
前記超伝導モータの複数の超伝導コイルに電力を供給する電源と、
前記複数の超伝導コイルと前記電源との間に配置された電力ライン切り替え装置を備え、
前記電力ライン切り替え装置は、
第1電力供給ラインと、
前記第1電力供給ラインに配置された第1スイッチと、
前記第1電力供給ラインに並列に接続された第2電力供給ラインと、
前記第2電力供給ラインに配置された第2スイッチおよび抵抗器と、
前記第1スイッチおよび前記第2スイッチの動作を制御するスイッチ制御部を備え、
前記スイッチ制御部は、前記超伝導モータの始動時に、前記第1スイッチを切り、かつ前記第2スイッチを入れ、所定の時間が経過した後に、前記第1スイッチを入れ、かつ前記第2スイッチを切るように構成されている、モータシステム。
【請求項10】
前記モータシステムは、前記超伝導モータと前記電力ライン切り替え装置との間に配置されたコンデンサをさらに備え、
前記コンデンサは、前記複数の超伝導コイルと並列に接続されている、請求項9に記載のモータシステム。
(【請求項11】以降は省略されています)
発明の詳細な説明
【技術分野】
【0001】
本発明は、モータロータに超伝導材料を備えた超伝導モータに関し、特に高速周波数で回転することが可能な超伝導モータ、およびその超伝導モータを駆動するドライバーまたはインバータに関する。
続きを表示(約 1,700 文字)
【背景技術】
【0002】
家庭用の家電機器から玩具、モビリティの電装機器や駆動機器など、モータはあらゆる分野に利用されている。近年ではCO
2
対策などの背景を受け、装置の電動化が推し進められている。例えば、CO
2
対策として有力視される航空宇宙機器や陸上モビリティでは、大出力モータの小型高効率化の要請がある。
【先行技術文献】
【特許文献】
【0003】
特開2019-120399号公報
【発明の概要】
【発明が解決しようとする課題】
【0004】
特に、永久磁石型モータの技術は、ネオジウム磁石などの登場と、そのBH積(エネルギー積)の向上開発、微細化や無酸素加工、ハルバッハ配列、低振動配向などにより進化しており、永久磁石型モータの小型化や高効率化が促進されてきた。本特許明細書では、小型化技術は高効率化技術に実質的に等しいものとして説明をする。2倍の小型化は、√2倍の小型化と、√2倍の高効率化の両方が達成されて初めて、その熱収支を成立させるからである。
【0005】
小型化技術として、モータ自体の小型化ではなく、モータシステムとしての小型化を達成しようとするアプローチがある。すなわち、モータ自体をそのままの大きさとし、遊星歯車やはすば歯車などを用いた機械的ギア、磁気的ギア、電気的ギアなどの変速機構を用いて回転速度の変化による高効率化を達成するというものである。
【0006】
これは、例えば、電動モビリティなどの駆動輪へ力を伝えるとき、モータを低トルク高回転として、ギアに減速と大トルク化の役割を担わせることで、モータへの電流を小さくし、銅損を低減させる。この場合は、モータには強力な磁石を使わずに、低鉄損とするべく磁力が焼結磁石と比べ弱いボンド磁石を利用することや、鉄損の非常に少ないコアレスモータを利用することもある。場合によっては、モータを6極以下に設計することもある。
【0007】
逆に、ギアに増速と低トルク化の役割を担わせ、モータを低速の大トルクで回転させることで、鉄損を低減させるものもある。この場合は、少なくとも6極以上の多極モータを採用してモータ周波数を向上させ、コイルのコアからの飛び出し寸法を少なくすることで、モータの小型化および軽量化を実現することが良く見られる。
【0008】
どちらの場合も、熱収支のための銅損と鉄損などの計算や、モータドライバの高周波数対応能力に応じて、最適な計算結果を探求している。
【0009】
本発明は、高速回転および小型化が可能な電気モータおよびその関連技術を提供する。
【課題を解決するための手段】
【0010】
一態様では、超伝導モータであって、複数の超伝導コイルを有するモータロータと、前記モータロータに隣接するモータステータを備え、前記モータステータは、積層された複数のアモルファス板により構成された歯と、前記歯に巻き付けられた巻線を有する、超伝導モータが提供される。
一態様では、前記巻線は、複数の素線の束と、前記複数の素線の束を覆う外被膜を有し、前記複数の素線のそれぞれは、導線と、前記導線を覆う内被膜を有し、前記複数の素線のそれぞれは、0.71mm以下の円直径に相当する断面積を有する。
一態様では、前記内被膜の厚さは、5μm以下である。
一態様では、前記複数のアモルファス板のそれぞれの厚さは、0.3mm未満である。
一態様では、前記モータステータは、前記歯の外側に位置する円環コアを有し、前記円環コアは電磁鋼板から構成されている。
一態様では、前記モータロータは、前記複数の超伝導コイルに直列に接続されたダイオードを備えている。
一態様では、前記モータロータは、前記複数の超伝導コイルに直列に接続された抵抗器をさらに備えている。
(【0011】以降は省略されています)
この特許をJ-PlatPat(特許庁公式サイト)で参照する
関連特許
株式会社荏原製作所
研磨装置
11日前
株式会社荏原製作所
研磨装置および研磨方法
11日前
株式会社荏原製作所
基板研磨装置および膜厚算出方法
9日前
株式会社荏原製作所
基板処理方法および基板処理装置
11日前
株式会社荏原製作所
超伝導モータおよびモータシステム
4日前
株式会社荏原製作所
ウェーハの洗浄方法および洗浄装置
11日前
株式会社荏原製作所
永久磁石型モータおよびモータシステム
4日前
株式会社荏原製作所
永久磁石型モータおよびモータシステム
4日前
株式会社荏原製作所
永久磁石型モータおよびモータシステム
4日前
株式会社荏原製作所
処理ヘッド、基板処理装置、および基板処理方法
12日前
株式会社荏原製作所
ポンプシステムの運転方法、およびポンプシステム
2日前
株式会社荏原製作所
永久磁石型モータ、モータシステム、およびポンプシステム
4日前
株式会社荏原製作所
ワークピースの膜厚推定に使用される参照スペクトルライブラリの作成方法
9日前
個人
電気を重力で発電装置
10日前
キヤノン電子株式会社
モータ
17日前
キヤノン電子株式会社
モータ
9日前
日星電気株式会社
ケーブル組立体
25日前
コーセル株式会社
電源装置
18日前
トヨタ自動車株式会社
モータ
9日前
株式会社デンソー
回転機
1か月前
個人
二次電池繰返パルス放電器用印刷基板
23日前
株式会社デンソー
電力変換装置
24日前
株式会社ミツバ
回転電機
1か月前
株式会社デンソー
非接触受電装置
26日前
トヨタ自動車株式会社
固定子の加熱装置
20日前
ローム株式会社
モータドライバ回路
4日前
トヨタ自動車株式会社
ステータの製造装置
10日前
日産自動車株式会社
ロータシャフト
4日前
日産自動車株式会社
ロータシャフト
4日前
山洋電気株式会社
モータ
23日前
個人
非対称鏡像力を有する4層PWB電荷搬送体
4日前
トヨタ自動車株式会社
可変界磁ロータ
12日前
株式会社明治ゴム化成
ワイヤレス給電用部品
19日前
トヨタ紡織株式会社
ロータの製造装置
18日前
株式会社マキタ
電動作業機
17日前
株式会社TMEIC
電力変換装置
1か月前
続きを見る
他の特許を見る