TOP
|
特許
|
意匠
|
商標
特許ウォッチ
Twitter
他の特許を見る
10個以上の画像は省略されています。
公開番号
2025158213
公報種別
公開特許公報(A)
公開日
2025-10-17
出願番号
2024060537
出願日
2024-04-04
発明の名称
基板接合方法および基板接合システム
出願人
株式会社荏原製作所
代理人
個人
,
個人
,
個人
,
個人
主分類
H01L
21/02 20060101AFI20251009BHJP(基本的電気素子)
要約
【課題】基板同士を接合する前に、基板表面へのパーティクルの付着を抑制することにある。
【解決手段】少なくとも接合面の一部に誘電体表面を含む基板同士を接合する基板接合方法であって、 少なくとも一部に誘電体表面を含む第1接合面を有する第1基板を準備する工程と、 前記第1基板の少なくとも前記第1接合面を液体に浸漬させる工程と、 前記第1接合面が前記液体に浸漬された状態で前記第1基板の前記第1接合面に水中プラズマ処理を施す工程と、 少なくとも一部に誘電体表面を含む第2接合面を有する第2基板を準備する工程と、 前記水中プラズマ処理が施された前記第1基板の前記第1接合面を、前記第2基板の前記第2接合面に貼り合わせる工程と、を含む基板接合方法。
【選択図】図5
特許請求の範囲
【請求項1】
少なくとも接合面の一部に誘電体表面を含む基板同士を接合する基板接合方法であって、
少なくとも一部に誘電体表面を含む第1接合面を有する第1基板を準備する工程と、
前記第1基板の少なくとも前記第1接合面を液体に浸漬させる工程と、
前記第1接合面が前記液体に浸漬された状態で前記第1基板の前記第1接合面に水中プラズマ処理を施す工程と、
少なくとも一部に誘電体表面を含む第2接合面を有する第2基板を準備する工程と、
前記水中プラズマ処理が施された前記第1基板の前記第1接合面を、前記第2基板の前記第2接合面に貼り合わせる工程と、
を含む基板接合方法。
続きを表示(約 1,200 文字)
【請求項2】
請求項1に記載の基板接合方法において、
前記水中プラズマ処理は減圧下で行われる、基板接合方法。
【請求項3】
請求項1に記載の基板接合方法において、
前記水中プラズマ処理の後に、前記第1基板の前記第1接合面を乾燥させる工程をさらに含む、基板接合方法。
【請求項4】
請求項3に記載の基板接合方法において、
前記乾燥させる工程は、大気圧下又は減圧下で前記第1基板を回転させることを含む、基板接合方法。
【請求項5】
請求項1に記載の基板接合方法において、
前記第1接合面を乾燥させる工程は、前記水中プラズマ処理を実施したチャンバ内で行われる、基板接合方法。
【請求項6】
請求項1に記載の基板接合方法において、
前記第1基板を準備する工程は、
前記水中プラズマ処理を行う前に前記第1基板を研磨する工程と、
前記研磨した前記第1基板を洗浄する工程と、
を含む、基板接合方法。
【請求項7】
請求項6に記載の基板接合方法において、
前記研磨する工程と前記洗浄する工程との間で前記第1基板を搬送する第1搬送工程と、
前記洗浄する工程と前記水中プラズマ処理を施す工程との間で前記第1基板を搬送する第2搬送工程と、を更に含み、
前記第1搬送工程と前記第2搬送工程は、アンチドライモジュールにより前記第1基板の少なくとも前記第1接合面がウェットに保たれた状態で行われる、基板接合方法。
【請求項8】
請求項7に記載の基板接合方法において、
前記第1搬送工程及び前記第2搬送工程において、前記アンチドライモジュールが、搬送中の前記第1基板の前記第1接合面に液体を供給する、又は前記第1基板の周りの空気を加湿する、基板接合方法。
【請求項9】
請求項8に記載の基板接合方法において、
前記アンチドライモジュールにより供給する液体は脱気されている、基板接合方法。
【請求項10】
請求項6に記載の基板接合方法において、
前記研磨する工程は、研磨モジュールにより研磨され、
前記洗浄する工程は、洗浄モジュールにより洗浄され、
前記水中プラズマ処理を施す工程は、水中プラズマ処理モジュールにより実施され、
前記貼り合わせる工程は、接合モジュールにより実施され、
前記洗浄モジュールは、前記水中プラズマ処理モジュールを介して、前記接合モジュールと接続され、
前記第1基板は、前記洗浄モジュールにより洗浄された後に、前記水中プラズマ処理モジュールを介して、前記接合モジュールに搬送される、基板接合方法。
(【請求項11】以降は省略されています)
発明の詳細な説明
【技術分野】
【0001】
本発明は、基板同士を接合するための基板接合方法および基板接合システムに関する。
続きを表示(約 2,500 文字)
【背景技術】
【0002】
半導体ウエハなどの基板同士を接合する手法として、基板の接合面をガスプラズマ処理により活性化させた後、基板表面にOH基を導入し、基板同士をファンデルワールス力および水素結合(分子間力)によって接合する方法が知られている。この方法では、活性化させた基板表面/接合面に対して、純水によりOH基の導入/洗浄が行われる。なお、基板表面が大気中の水蒸気に暴露されることでもOH基は導入される。例えば、特許文献1及び非特許文献1には、基板表面をガスプラズマ処理により活性化した後に親水化し、基板同士を接合することが記載されている。
【先行技術文献】
【特許文献】
【0003】
特開2019-186288号公報
Fumihiro Inoue et al., “Area-Selective Electroless Deposition of Cu for Hybrid Bonding,” IEEE ELECTRON DEVICE LETTERS, VOL. 42, NO. 12, pp. 1826-1829, DECEMBER 2021
【発明の概要】
【発明が解決しようとする課題】
【0004】
特許文献1及び非特許文献1に記載の方法では、プラズマ活性化後に基板表面が大気に曝されるため、大気中での基板接合面の汚染などが懸念される。例えば、プラズマ処理チャンバ内、並びにプラズマ処理チャンバから親水化処理チャンバへの基板の搬送中において、基板表面にパーティクルが付着又は固着する虞がある。パーティクルが接合面に付着又は固着した基板を他の基板に接合すると、基板間の接着力が低下する虞がある。
【0005】
本発明の目的は、上述した課題の少なくとも一部を解決することである。本発明の1つの目的は、基板同士を接合する前に、基板表面へのパーティクルの付着を抑制することにある。
【課題を解決するための手段】
【0006】
本発明の一側面によれば、少なくとも接合面の一部に誘電体表面を含む基板同士を接合する基板接合方法であって、 少なくとも一部に誘電体表面を含む第1接合面を有する第1基板を準備する工程と、 前記第1基板の少なくとも前記第1接合面を液体に浸漬させる工程と、 前記第1接合面が前記液体に浸漬された状態で前記第1基板の前記第1接合面に水中プラズマ処理を施す工程と、 少なくとも一部に誘電体表面を含む第2接合面を有する第2基板を準備する工程と、 前記水中プラズマ処理が施された前記第1基板の前記第1接合面を、前記第2基板の前記第2接合面に貼り合わせる工程と、を含む基板接合方法が提供される。
【図面の簡単な説明】
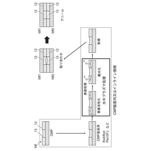
【0007】
接合される基板の模式図。
接合される基板の模式図。
基板の金属表面の状態を説明する模式図。
接合される基板の種類を説明する模式図。
接合される基板の種類を説明する模式図。
一実施形態に係る基板の接合の流れを示す模式図。
一実施形態に係る基板の接合の流れを示す模式図。
一実施形態に係る基板の接合の流れを示すフローチャート。
基板に対する成膜処理及び研磨処理の流れを示す模式図。
一実施形態に係る基板接合システムの模式図。
一実施形態に係る基板接合システムの模式図。
一実施形態に係る基板接合システムの模式図。
一実施形態に係る基板接合システムの平面図。
一実施形態に係る基板接合システムの側面図。
一実施形態に係る水中プラズマ処理モジュールの断面図。
一実施形態に係る水中プラズマ処理モジュールの断面図。
一実施形態に係る水中プラズマ処理モジュールの断面図。
一実施形態に係るプラズマ発生器の断面図である。
一実施形態に係るプラズマ発生器の断面図である。
一実施形態に係るリングノズルの上面断面図。
一実施形態に係るリングノズルの上面断面図。
一実施形態に係るリングノズルの側面断面図。
気液界面での活性種生成を説明する説明図。
一実施形態に係る水中プラズマ処理の流れを示すフローチャート。
発光分光スペクトルに基づくプラズマの制御を実施する水中プラズマ処理モジュールの断面図。
発光分光スペクトルに基づくプラズマの制御の流れを示すフローチャート。
【発明を実施するための形態】
【0008】
以下、本発明の一実施形態について図面を参照して説明する。なお、以下の各実施形態において、同一または相当する部材には同一符号を付して重複した説明を省略する。また、本明細書において「上」、「下」、「左」、「右」等の表現を用いるが、これらは、説明の都合上、例示の図面の紙面上における位置、方向を示すものであり、装置使用時等の実際の配置では異なる場合がある。
【0009】
本実施形態は、少なくとも誘電体表面を含む接合面を有する基板同士の接合に関する。図1A及び図1Bは、接合される基板の模式図を示す。図2は、基板の金属表面の状態を説明する模式図を示す。図3A及び図3Bは、接合される基板の種類を説明する模式図を示す。
【0010】
図1Aは、誘電体表面のみを含む接合面を有する基板Wf1及びWf2を接合する例を示す。同図において、基板Wf1は、基板本体11と、基板本体11上に形成された誘電体膜(誘電体表面)12と、を有する。基板本体11は、Siその他任意の基材を含み、電子回路が形成されたものであっても、電子回路が形成されていないものであってもよい。この例では、基板Wf1の接合面は、誘電体表面12のみ含む。図1Aに示すように、基板Wf2も、基板Wf1と同様の構成を有する。この場合、基板Wf1及びWf2が接合されたとき、基板Wf1及びWf2の誘電体表面12同士が互いに接合される。
(【0011】以降は省略されています)
この特許をJ-PlatPat(特許庁公式サイト)で参照する
関連特許
個人
三重コイル変圧器
今日
APB株式会社
蓄電セル
1か月前
日機装株式会社
加圧装置
5日前
マクセル株式会社
電源装置
1か月前
日新イオン機器株式会社
イオン源
5日前
株式会社東芝
端子台
1か月前
ローム株式会社
半導体装置
今日
富士電機株式会社
電磁接触器
20日前
株式会社GSユアサ
蓄電装置
1か月前
三菱電機株式会社
回路遮断器
28日前
株式会社GSユアサ
蓄電装置
1か月前
株式会社GSユアサ
蓄電装置
20日前
株式会社GSユアサ
蓄電装置
1か月前
北道電設株式会社
配電具カバー
1か月前
大電株式会社
電線又はケーブル
12日前
日本特殊陶業株式会社
保持装置
1か月前
日本特殊陶業株式会社
保持装置
今日
トヨタ自動車株式会社
蓄電装置
12日前
株式会社東芝
電子源
5日前
日新イオン機器株式会社
基板処理装置
1か月前
トヨタ自動車株式会社
蓄電装置
1か月前
株式会社トクミ
ケーブル
6日前
ホシデン株式会社
複合コネクタ
14日前
個人
電源ボックス及び電子機器
5日前
トヨタ自動車株式会社
バッテリ
1か月前
矢崎総業株式会社
バスバー
1日前
株式会社デンソー
電子装置
1か月前
甲神電機株式会社
変流器及び零相変流器
1か月前
ローム株式会社
半導体モジュール
21日前
日本無線株式会社
レーダアンテナ
1か月前
ヒロセ電機株式会社
電気コネクタ
20日前
住友電装株式会社
コネクタ
今日
株式会社レゾナック
冷却器
28日前
住友電装株式会社
コネクタ
20日前
日亜化学工業株式会社
半導体レーザ素子
1か月前
矢崎総業株式会社
コネクタ
20日前
続きを見る
他の特許を見る