TOP
|
特許
|
意匠
|
商標
特許ウォッチ
Twitter
他の特許を見る
10個以上の画像は省略されています。
公開番号
2025165658
公報種別
公開特許公報(A)
公開日
2025-11-05
出願番号
2024069864
出願日
2024-04-23
発明の名称
ウェーハの洗浄方法および洗浄装置
出願人
株式会社荏原製作所
代理人
個人
,
個人
,
個人
主分類
H01L
21/304 20060101AFI20251028BHJP(基本的電気素子)
要約
【課題】ロール洗浄部材でウェーハの形状を強制的に制御することで、再現性の良い洗浄効率を得ることができる洗浄方法を提供する。
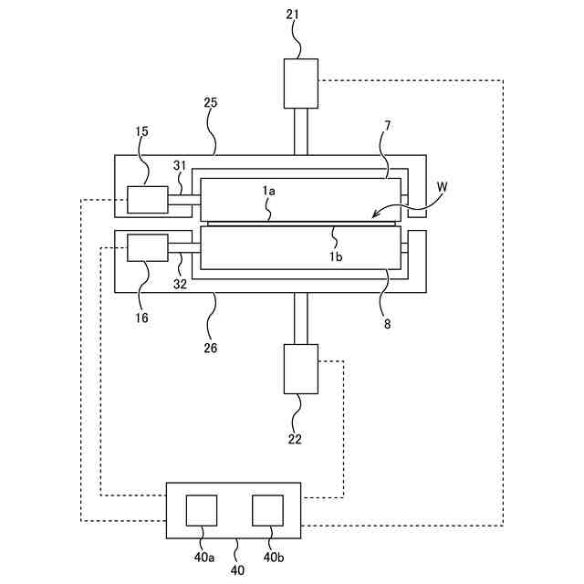
【解決手段】ウェーハWのスクラブ洗浄動作は、基準洗浄位置にある第1ロール洗浄部材7および第2ロール洗浄部材8でウェーハWをスクラブ洗浄する基準洗浄動作と、基準洗浄位置から第1ロール洗浄部材7に向かう方向にずれた第1オフセット洗浄位置にある第1ロール洗浄部材7および第2ロール洗浄部材8でウェーハWをスクラブ洗浄する第1オフセット洗浄動作と、基準洗浄位置から第2ロール洗浄部材8に向かう方向にずれた第2オフセット洗浄位置にある第1ロール洗浄部材7および第2ロール洗浄部材8でウェーハWをスクラブ洗浄する第2オフセット洗浄動作を含む。
【選択図】図7
特許請求の範囲
【請求項1】
ウェーハを洗浄する洗浄方法であって、
前記ウェーハの周縁部に接触する複数の保持ローラーで前記ウェーハを中心軸線を中心に回転させながら、前記ウェーハの第1面および第2面を第1ロール洗浄部材および第2ロール洗浄部材でスクラブ洗浄するスクラブ洗浄動作を行い、
前記スクラブ洗浄動作は、
基準洗浄位置にある前記第1ロール洗浄部材および前記第2ロール洗浄部材で前記ウェーハの前記第1面および前記第2面をスクラブ洗浄する基準洗浄動作と、
前記基準洗浄位置から前記第1ロール洗浄部材に向かう方向にずれた第1オフセット洗浄位置にある前記第1ロール洗浄部材および前記第2ロール洗浄部材で前記ウェーハの前記第1面および前記第2面をスクラブ洗浄する第1オフセット洗浄動作と、
前記基準洗浄位置から前記第2ロール洗浄部材に向かう方向にずれた第2オフセット洗浄位置にある前記第1ロール洗浄部材および前記第2ロール洗浄部材で前記ウェーハの前記第1面および前記第2面をスクラブ洗浄する第2オフセット洗浄動作を含む、洗浄方法。
続きを表示(約 1,900 文字)
【請求項2】
前記基準洗浄動作、前記第1オフセット洗浄動作、および前記第2オフセット洗浄動作は、予め定められた順序で実行される、請求項1に記載の洗浄方法。
【請求項3】
前記スクラブ洗浄動作は、第1中間オフセット位置にある前記第1ロール洗浄部材および前記第2ロール洗浄部材で前記ウェーハの前記第1面および前記第2面をスクラブ洗浄する第1中間オフセット洗浄動作をさらに含み、
前記第1中間オフセット位置は、前記基準洗浄位置と前記第1オフセット洗浄位置との間にある、請求項1に記載の洗浄方法。
【請求項4】
前記スクラブ洗浄動作は、第2中間オフセット位置にある前記第1ロール洗浄部材および前記第2ロール洗浄部材で前記ウェーハの前記第1面および前記第2面をスクラブ洗浄する第2中間オフセット洗浄動作をさらに含み、
前記第2中間オフセット位置は、前記基準洗浄位置と前記第2オフセット洗浄位置との間にある、請求項1に記載の洗浄方法。
【請求項5】
ウェーハを洗浄する洗浄装置であって、
前記ウェーハの周縁部に接触し、前記ウェーハを中心軸線を中心に回転させる回転可能な複数の保持ローラーと、
前記ウェーハの第1面および第2面をスクラブ洗浄する第1ロール洗浄部材および第2ロール洗浄部材と、
前記第1ロール洗浄部材に連結され、前記第1ロール洗浄部材を移動させる第1アクチュエータと、
前記第2ロール洗浄部材に連結され、前記第2ロール洗浄部材を移動させる第2アクチュエータと、
前記第1アクチュエータおよび前記第2アクチュエータの動作を制御する動作制御部を備え、
前記動作制御部は、前記第1アクチュエータおよび前記第2アクチュエータに指令を与えて、前記第1ロール洗浄部材および前記第2ロール洗浄部材を基準洗浄位置、第1オフセット洗浄位置、および第2オフセット洗浄位置に移動させるように構成されており、
前記洗浄装置は、
前記基準洗浄位置にある前記第1ロール洗浄部材および前記第2ロール洗浄部材で前記ウェーハの前記第1面および前記第2面をスクラブ洗浄する基準洗浄動作と、
前記基準洗浄位置から前記第1ロール洗浄部材に向かう方向にずれた前記第1オフセット洗浄位置にある前記第1ロール洗浄部材および前記第2ロール洗浄部材で前記ウェーハの前記第1面および前記第2面をスクラブ洗浄する第1オフセット洗浄動作と、
前記基準洗浄位置から前記第2ロール洗浄部材に向かう方向にずれた前記第2オフセット洗浄位置にある前記第1ロール洗浄部材および前記第2ロール洗浄部材で前記ウェーハの前記第1面および前記第2面をスクラブ洗浄する第2オフセット洗浄動作の組み合わせを含むスクラブ洗浄動作を実行するように構成されている、洗浄装置。
【請求項6】
前記動作制御部は、前記第1アクチュエータおよび前記第2アクチュエータに指令を与えて、前記第1ロール洗浄部材および前記第2ロール洗浄部材を、前記基準洗浄位置、前記第1オフセット洗浄位置、および前記第2オフセット洗浄位置に予め定められた順序に従って移動させるように構成されている、請求項5に記載の洗浄装置。
【請求項7】
前記動作制御部は、前記第1アクチュエータおよび前記第2アクチュエータに指令を与えて、前記第1ロール洗浄部材および前記第2ロール洗浄部材を、前記基準洗浄位置と前記第1オフセット洗浄位置との間にある第1中間オフセット位置に移動させるように構成されており、
前記洗浄装置は、前記第1中間オフセット位置にある前記第1ロール洗浄部材および前記第2ロール洗浄部材で前記ウェーハの前記第1面および前記第2面をスクラブ洗浄する第1中間オフセット洗浄動作をさらに実行するように構成されている、請求項5に記載の洗浄装置。
【請求項8】
前記動作制御部は、前記第1アクチュエータおよび前記第2アクチュエータに指令を与えて、前記第1ロール洗浄部材および前記第2ロール洗浄部材を、前記基準洗浄位置と前記第2オフセット洗浄位置との間にある第2中間オフセット位置に移動させるように構成されており、
前記洗浄装置は、前記第2中間オフセット位置にある前記第1ロール洗浄部材および前記第2ロール洗浄部材で前記ウェーハの前記第1面および前記第2面をスクラブ洗浄する第2中間オフセット洗浄動作をさらに実行するように構成されている、請求項5に記載の洗浄装置。
発明の詳細な説明
【技術分野】
【0001】
本発明は、ウェーハの洗浄方法および洗浄装置に関し、特に積層配線構造を有するウェーハの両面をスクラブ洗浄する洗浄方法および洗浄装置に関する。
続きを表示(約 2,700 文字)
【背景技術】
【0002】
近年、半導体デバイスの高集積化が進むにつれて回路の配線が微細化し、配線間距離もより狭くなりつつある。半導体デバイスの製造では、シリコンウェーハの上に多くの種類の材料が膜状に繰り返し形成され、積層構造が形成される。この積層構造を形成するためには、ウェーハの表面を平坦にする技術が重要となっている。このようなウェーハの表面を平坦化する一手段として、化学機械研磨(CMP)を行う研磨装置(化学的機械的研磨装置ともいう)が広く用いられている。
【0003】
この化学機械研磨(CMP)装置は、一般に、研磨パッドが取り付けられた研磨テーブルと、ウェーハを保持する研磨ヘッドと、研磨液(スラリー)を研磨パッド上に供給するノズルとを備えている。ノズルから研磨液を研磨パッド上に供給しながら、研磨ヘッドによりウェーハを研磨パッドに押し付け、さらに研磨ヘッドと研磨テーブルとを相対移動させることにより、ウェーハを研磨する。
【0004】
CMP後、ウェーハ表面、裏面、および側面(ベベル部)には、研磨液や研磨中の生成物等が残る。半導体ウェーハの製造プロセスでは、デバイス形成面の清浄度が重要である。そこで、研磨されたウェーハは研磨装置から洗浄装置に搬送され、ウェーハは洗浄装置により洗浄される。洗浄装置は、洗浄液をウェーハの両面に供給しながら、ロール洗浄部材でウェーハの両面をスクラブ洗浄する。
【先行技術文献】
【特許文献】
【0005】
特開2023-45821号公報
【発明の概要】
【発明が解決しようとする課題】
【0006】
近年、ウェーハの多層化や三次元化が進み、ウェーハが反ってしまう現象が報告されている。ウェーハが反っていると、ロール洗浄部材がウェーハ表面に適正に接触できず、ウェーハ上の付着物を効率よく除去できないという問題が発生する。ウェーハは、ウェーハの種類や、ウェーハの製造工程により凸形状に反っていたり、凹形状に反っていたりする。現状の洗浄装置は、反り形状の異なるウェーハに対して同一の洗浄レシピに従ってウェーハを洗浄しており、反り具合の異なるすべてのウェーハに対する洗浄効率を確保するのが困難である。
【0007】
本発明の目的は、どのような形状のウェーハであっても、ロール洗浄部材でウェーハの形状を強制的に制御することで、再現性の良い洗浄効率を得ることができる洗浄方法および洗浄装置を提供することにある。
【課題を解決するための手段】
【0008】
一態様では、ウェーハを洗浄する洗浄方法であって、前記ウェーハの周縁部に接触する複数の保持ローラーで前記ウェーハを中心軸線を中心に回転させながら、前記ウェーハの第1面および第2面を第1ロール洗浄部材および第2ロール洗浄部材でスクラブ洗浄するスクラブ洗浄動作を行い、前記スクラブ洗浄動作は、基準洗浄位置にある前記第1ロール洗浄部材および前記第2ロール洗浄部材で前記ウェーハの前記第1面および前記第2面をスクラブ洗浄する基準洗浄動作と、前記基準洗浄位置から前記第1ロール洗浄部材に向かう方向にずれた第1オフセット洗浄位置にある前記第1ロール洗浄部材および前記第2ロール洗浄部材で前記ウェーハの前記第1面および前記第2面をスクラブ洗浄する第1オフセット洗浄動作と、前記基準洗浄位置から前記第2ロール洗浄部材に向かう方向にずれた第2オフセット洗浄位置にある前記第1ロール洗浄部材および前記第2ロール洗浄部材で前記ウェーハの前記第1面および前記第2面をスクラブ洗浄する第2オフセット洗浄動作を含む、洗浄方法が提供される。
【0009】
一態様では、前記基準洗浄動作、前記第1オフセット洗浄動作、および前記第2オフセット洗浄動作は、予め定められた順序で実行される。
一態様では、前記スクラブ洗浄動作は、第1中間オフセット位置にある前記第1ロール洗浄部材および前記第2ロール洗浄部材で前記ウェーハの前記第1面および前記第2面をスクラブ洗浄する第1中間オフセット洗浄動作をさらに含み、前記第1中間オフセット位置は、前記基準洗浄位置と前記第1オフセット洗浄位置との間にある。
一態様では、前記スクラブ洗浄動作は、第2中間オフセット位置にある前記第1ロール洗浄部材および前記第2ロール洗浄部材で前記ウェーハの前記第1面および前記第2面をスクラブ洗浄する第2中間オフセット洗浄動作をさらに含み、前記第2中間オフセット位置は、前記基準洗浄位置と前記第2オフセット洗浄位置との間にある。
【0010】
一態様では、ウェーハを洗浄する洗浄装置であって、前記ウェーハの周縁部に接触し、前記ウェーハを中心軸線を中心に回転させる回転可能な複数の保持ローラーと、前記ウェーハの第1面および第2面をスクラブ洗浄する第1ロール洗浄部材および第2ロール洗浄部材と、前記第1ロール洗浄部材に連結され、前記第1ロール洗浄部材を移動させる第1アクチュエータと、前記第2ロール洗浄部材に連結され、前記第2ロール洗浄部材を移動させる第2アクチュエータと、前記第1アクチュエータおよび前記第2アクチュエータの動作を制御する動作制御部を備え、前記動作制御部は、前記第1アクチュエータおよび前記第2アクチュエータに指令を与えて、前記第1ロール洗浄部材および前記第2ロール洗浄部材を基準洗浄位置、第1オフセット洗浄位置、および第2オフセット洗浄位置に移動させるように構成されており、前記洗浄装置は、前記基準洗浄位置にある前記第1ロール洗浄部材および前記第2ロール洗浄部材で前記ウェーハの前記第1面および前記第2面をスクラブ洗浄する基準洗浄動作と、前記基準洗浄位置から前記第1ロール洗浄部材に向かう方向にずれた前記第1オフセット洗浄位置にある前記第1ロール洗浄部材および前記第2ロール洗浄部材で前記ウェーハの前記第1面および前記第2面をスクラブ洗浄する第1オフセット洗浄動作と、前記基準洗浄位置から前記第2ロール洗浄部材に向かう方向にずれた前記第2オフセット洗浄位置にある前記第1ロール洗浄部材および前記第2ロール洗浄部材で前記ウェーハの前記第1面および前記第2面をスクラブ洗浄する第2オフセット洗浄動作の組み合わせを含むスクラブ洗浄動作を実行するように構成されている、洗浄装置が提供される。
(【0011】以降は省略されています)
この特許をJ-PlatPat(特許庁公式サイト)で参照する
関連特許
株式会社荏原製作所
研磨装置
23日前
株式会社荏原製作所
ポンプ装置
1か月前
株式会社荏原製作所
往復動ポンプ
1か月前
株式会社荏原製作所
モータポンプ
1か月前
株式会社荏原製作所
立形多段ポンプ
1か月前
株式会社荏原製作所
熱媒体供給装置
1か月前
株式会社荏原製作所
蒸気発電プラント
1か月前
株式会社荏原製作所
周波数制御システム
1か月前
株式会社荏原製作所
研磨方法および研磨装置
1か月前
株式会社荏原製作所
研磨装置および研磨方法
23日前
株式会社荏原製作所
研磨方法および研磨システム
1か月前
株式会社荏原製作所
圧縮式冷凍機および冷凍システム
8日前
株式会社荏原製作所
振動検知器及び振動検知システム
1日前
株式会社荏原製作所
基板処理方法および基板処理装置
23日前
株式会社荏原製作所
基板研磨装置および膜厚算出方法
21日前
株式会社荏原製作所
シールリングおよび往復動ポンプ
1か月前
株式会社荏原製作所
基板研磨装置および膜厚算出方法
8日前
株式会社荏原製作所
ウェーハの洗浄方法および洗浄装置
23日前
株式会社荏原製作所
超伝導モータおよびモータシステム
16日前
株式会社荏原製作所
基板接合方法および基板接合システム
1か月前
株式会社荏原製作所
ドレッサ洗浄装置および基板研磨装置
1か月前
株式会社荏原製作所
永久磁石型モータおよびモータシステム
16日前
株式会社荏原製作所
永久磁石型モータおよびモータシステム
16日前
株式会社荏原製作所
永久磁石型モータおよびモータシステム
16日前
株式会社荏原製作所
ポンプシステム及びポンプシステムの制御方法
今日
株式会社荏原製作所
処理ヘッド、基板処理装置、および基板処理方法
24日前
株式会社荏原製作所
パッド表面判定方法およびパッド表面判定システム
8日前
株式会社荏原製作所
ポンプシステムの運転方法、およびポンプシステム
14日前
株式会社荏原製作所
永久磁石型モータ、モータシステム、およびポンプシステム
16日前
株式会社荏原製作所
基板洗浄装置のキャリブレーション方法および基板洗浄方法
1か月前
オリオン機械株式会社
ヒータおよびこれを有する液体温調装置
1か月前
株式会社荏原製作所
情報処理装置、情報処理方法、情報処理プログラム、及び、記録媒体
1か月前
株式会社荏原製作所
情報処理装置、情報処理方法、情報処理プログラム、及び、記録媒体
1日前
株式会社荏原製作所
基板洗浄方法、基板洗浄装置、基板洗浄プログラムおよび基板処理装置
8日前
株式会社荏原製作所
ワークピースの膜厚推定に使用される参照スペクトルライブラリの作成方法
21日前
株式会社荏原製作所
液受け装置、および研磨装置
8日前
続きを見る
他の特許を見る