TOP
|
特許
|
意匠
|
商標
特許ウォッチ
Twitter
他の特許を見る
公開番号
2025156745
公報種別
公開特許公報(A)
公開日
2025-10-15
出願番号
2024059356
出願日
2024-04-02
発明の名称
研磨方法および研磨装置
出願人
株式会社荏原製作所
代理人
個人
,
個人
,
個人
主分類
B24B
37/013 20120101AFI20251007BHJP(研削;研磨)
要約
【課題】フラッシュ光源によって発せられる光の強さを安定させることができ、かつより多くの測定点で膜厚を測定しながら基板を研磨することができる研磨方法を提供する。
【解決手段】研磨方法は、光学センサヘッド7が基板Wを横切って移動する間に、第1フラッシュ光源44Aおよび第2フラッシュ光源44Bを異なるタイミングで複数回発光させて、光を光学センサヘッド7を通じて基板Wに導き、かつ基板Wからの反射光を光学センサヘッド7を通じて分光器47に取り込み、反射光のスペクトルを生成し、スペクトルから基板Wの膜厚を決定する。
【選択図】図4
特許請求の範囲
【請求項1】
基板を研磨するための研磨方法であって、
分光器、第1フラッシュ光源、および第2フラッシュ光源に光学的に連結された光学センサヘッドとともに研磨テーブルを回転させ、
前記光学センサヘッドを基板を横切って移動させながら、前記基板を研磨ヘッドにより前記研磨テーブル上の研磨パッドに押し付けて前記基板を研磨し、
前記光学センサヘッドが前記基板を横切って移動する間に、前記第1フラッシュ光源および前記第2フラッシュ光源を異なるタイミングで複数回発光させて、光を前記光学センサヘッドを通じて前記基板に導き、かつ前記基板からの反射光を前記光学センサヘッドを通じて前記分光器に取り込み、
前記反射光のスペクトルを生成し、
前記スペクトルから前記基板の膜厚を決定する、研磨方法。
続きを表示(約 1,000 文字)
【請求項2】
前記光学センサヘッドが前記基板を横切って移動する間に、前記第1フラッシュ光源および前記第2フラッシュ光源は交互に発光する、請求項1に記載の研磨方法。
【請求項3】
前記光学センサヘッドは、投光光ファイバーケーブルの端部および受光光ファイバーケーブルの端部から構成されており、
前記投光光ファイバーケーブルは、複数の分岐光ファイバーケーブルに接続されており、
前記第1フラッシュ光源および前記第2フラッシュ光源は、前記複数の分岐光ファイバーケーブルにそれぞれ連結されている、請求項1に記載の研磨方法。
【請求項4】
基板を研磨するための研磨装置であって、
研磨パッドを支持するための研磨テーブルと、
前記研磨テーブルを回転させるテーブルモータと、
前記研磨テーブル内に設置された光学センサヘッドと、
前記光学センサヘッドに光学的に連結された分光器、第1フラッシュ光源、および第2フラッシュ光源と、
基板を前記研磨パッドに押し付けて該基板を研磨するための研磨ヘッドと、
前記分光器、前記第1フラッシュ光源、および前記第2フラッシュ光源の動作を制御する動作制御部を備え、
前記動作制御部は、
前記光学センサヘッドが前記基板を横切って移動する間に、前記第1フラッシュ光源および前記第2フラッシュ光源に指令を発して、異なるタイミングで複数回発光させて、光を前記光学センサヘッドを通じて前記基板に導き、かつ前記分光器に指令を発して前記基板からの反射光を前記光学センサヘッドを通じて前記分光器に取り込ませ、
前記反射光のスペクトルを生成し、
前記スペクトルから前記基板の膜厚を決定するように構成されている、研磨装置。
【請求項5】
前記動作制御部は、前記光学センサヘッドが前記基板を横切って移動する間に、前記第1フラッシュ光源および前記第2フラッシュ光源に指令を発して、交互に発光させるように構成されている、請求項4に記載の研磨装置。
【請求項6】
前記光学センサヘッドは、投光光ファイバーケーブルの端部および受光光ファイバーケーブルの端部から構成されており、
前記投光光ファイバーケーブルは、複数の分岐光ファイバーケーブルに接続されており、
前記第1フラッシュ光源および前記第2フラッシュ光源は、前記複数の分岐光ファイバーケーブルにそれぞれ連結されている、請求項4に記載の研磨装置。
発明の詳細な説明
【技術分野】
【0001】
本発明は、ウェーハなどの基板を研磨する研磨方法および研磨装置に関し、特に光学式膜厚測定システムで基板の膜厚を測定しながら、基板を研磨する研磨方法および研磨装置に関する。
続きを表示(約 2,300 文字)
【背景技術】
【0002】
半導体デバイスの製造プロセスには、SiO
2
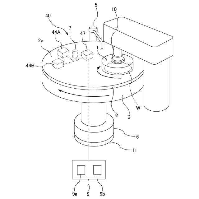
などの絶縁膜を研磨する工程や、銅、タングステンなどの金属膜を研磨する工程などの様々な工程が含まれる。ウェーハの研磨は研磨装置を使用して行われる。研磨装置は、一般に、研磨パッドを支持する研磨テーブルと、ウェーハを研磨パットに押し付ける研磨ヘッドと、スラリーを研磨パッド上に供給するスラリー供給ノズルを備えている。研磨テーブルを回転させながら、研磨テーブル上の研磨パッドにスラリーが供給され、研磨ヘッドは、ウェーハを研磨パットに押し付ける。ウェーハは、スラリーの存在下で研磨パッドと摺接される。ウェーハの表面は、スラリーの化学的作用と、スラリーに含まれる砥粒および研磨パッドの機械的作用との組み合わせにより平坦化される。
【0003】
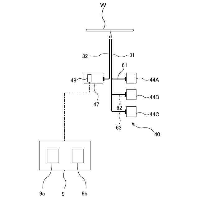
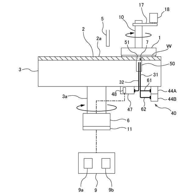
ウェーハの研磨は、その表面を構成する膜(絶縁膜、金属膜、シリコン層など)の厚さが所定の目標値に達したときに終了される。研磨装置は、絶縁膜やシリコン層などの非金属膜の厚さを測定するために、一般に、光学式膜厚測定システムを備える。この光学式膜厚測定システムは、研磨テーブルとともに回転する光学センサヘッドから光をウェーハの表面に導き、ウェーハからの反射光の強度を分光器で測定し、反射光のスペクトルを解析することで、ウェーハの膜厚を測定するように構成される。
【0004】
図7は、光学式膜厚測定システムにより測定される膜厚の複数の測定点の一例を示す模式図である。図7に示すように、光学センサヘッド500は、ウェーハWの表面を横切りながら複数の測定点MPに光を照射する。光学センサヘッド500は、図示しないフラッシュ光源に接続されており、フラッシュ光源によって発せられた光が光学センサヘッド500に伝達される。光学センサヘッド500がウェーハWの表面を横切るたびに、図7に示すように、複数の測定点MPでの膜厚が測定される。
【先行技術文献】
【特許文献】
【0005】
特開2010-23210号公報
【発明の概要】
【発明が解決しようとする課題】
【0006】
図7から分かるように、ウェーハW上の測定点MPが多いほど、より精密な膜厚分布(または膜厚プロファイル)が得られる。しかしながら、フラッシュ光源の発光周期を短くすると、フラッシュ光源の発光原理上、フラッシュ光源の光の強さがばらつくことがある。すなわち、フラッシュ光源の発光周期が短すぎると、発光するためにフラッシュ光源に蓄えられる電力エネルギーが安定せず、結果として、フラッシュ光源から発せられる光の強さが不安定となる。
【0007】
そこで、本発明は、フラッシュ光源によって発せられる光の強さを安定させることができ、かつより多くの測定点で膜厚を測定しながら基板を研磨することができる研磨方法および研磨装置を提供する。
【課題を解決するための手段】
【0008】
一態様では、基板を研磨するための研磨方法であって、分光器、第1フラッシュ光源、および第2フラッシュ光源に光学的に連結された光学センサヘッドとともに研磨テーブルを回転させ、前記光学センサヘッドを基板を横切って移動させながら、前記基板を研磨ヘッドにより前記研磨テーブル上の研磨パッドに押し付けて前記基板を研磨し、前記光学センサヘッドが前記基板を横切って移動する間に、前記第1フラッシュ光源および前記第2フラッシュ光源を異なるタイミングで複数回発光させて、光を前記光学センサヘッドを通じて前記基板に導き、かつ前記基板からの反射光を前記光学センサヘッドを通じて前記分光器に取り込み、前記反射光のスペクトルを生成し、前記スペクトルから前記基板の膜厚を決定する、研磨方法が提供される。
【0009】
一態様では、前記光学センサヘッドが前記基板を横切って移動する間に、前記第1フラッシュ光源および前記第2フラッシュ光源は交互に発光する。
一態様では、前記光学センサヘッドは、投光光ファイバーケーブルの端部および受光光ファイバーケーブルの端部から構成されており、前記投光光ファイバーケーブルは、複数の分岐光ファイバーケーブルに接続されており、前記第1フラッシュ光源および前記第2フラッシュ光源は、前記複数の分岐光ファイバーケーブルにそれぞれ連結されている。
【0010】
一態様では、基板を研磨するための研磨装置であって、研磨パッドを支持するための研磨テーブルと、前記研磨テーブルを回転させるテーブルモータと、前記研磨テーブル内に設置された光学センサヘッドと、前記光学センサヘッドに光学的に連結された分光器、第1フラッシュ光源、および第2フラッシュ光源と、基板を前記研磨パッドに押し付けて該基板を研磨するための研磨ヘッドと、前記分光器、前記第1フラッシュ光源、および前記第2フラッシュ光源の動作を制御する動作制御部を備え、前記動作制御部は、前記光学センサヘッドが前記基板を横切って移動する間に、前記第1フラッシュ光源および前記第2フラッシュ光源に指令を発して、異なるタイミングで複数回発光させて、光を前記光学センサヘッドを通じて前記基板に導き、かつ前記分光器に指令を発して前記基板からの反射光を前記光学センサヘッドを通じて前記分光器に取り込ませ、前記反射光のスペクトルを生成し、前記スペクトルから前記基板の膜厚を決定するように構成されている、研磨装置が提供される。
(【0011】以降は省略されています)
この特許をJ-PlatPat(特許庁公式サイト)で参照する
関連特許
株式会社荏原製作所
研磨装置
26日前
株式会社荏原製作所
ポンプ装置
1か月前
株式会社荏原製作所
往復動ポンプ
1か月前
株式会社荏原製作所
立形多段ポンプ
1か月前
株式会社荏原製作所
蒸気発電プラント
1か月前
株式会社荏原製作所
周波数制御システム
1か月前
株式会社荏原製作所
研磨装置および研磨方法
26日前
株式会社荏原製作所
研磨方法および研磨装置
1か月前
株式会社荏原製作所
研磨方法および研磨システム
1か月前
株式会社荏原製作所
圧縮式冷凍機および冷凍システム
11日前
株式会社荏原製作所
基板研磨装置および膜厚算出方法
11日前
株式会社荏原製作所
基板研磨装置および膜厚算出方法
24日前
株式会社荏原製作所
シールリングおよび往復動ポンプ
1か月前
株式会社荏原製作所
基板処理方法および基板処理装置
26日前
株式会社荏原製作所
振動検知器及び振動検知システム
4日前
株式会社荏原製作所
ウェーハの洗浄方法および洗浄装置
26日前
株式会社荏原製作所
超伝導モータおよびモータシステム
19日前
株式会社荏原製作所
基板接合方法および基板接合システム
1か月前
株式会社荏原製作所
ドレッサ洗浄装置および基板研磨装置
1か月前
株式会社荏原製作所
永久磁石型モータおよびモータシステム
19日前
株式会社荏原製作所
永久磁石型モータおよびモータシステム
19日前
株式会社荏原製作所
永久磁石型モータおよびモータシステム
19日前
株式会社荏原製作所
ポンプシステム及びポンプシステムの制御方法
3日前
株式会社荏原製作所
処理ヘッド、基板処理装置、および基板処理方法
27日前
株式会社荏原製作所
ポンプシステムの運転方法、およびポンプシステム
17日前
株式会社荏原製作所
パッド表面判定方法およびパッド表面判定システム
11日前
株式会社荏原製作所
永久磁石型モータ、モータシステム、およびポンプシステム
19日前
オリオン機械株式会社
ヒータおよびこれを有する液体温調装置
1か月前
株式会社荏原製作所
情報処理装置、情報処理方法、情報処理プログラム、及び、記録媒体
1か月前
株式会社荏原製作所
情報処理装置、情報処理方法、情報処理プログラム、及び、記録媒体
4日前
株式会社荏原製作所
基板洗浄方法、基板洗浄装置、基板洗浄プログラムおよび基板処理装置
11日前
株式会社荏原製作所
ワークピースの膜厚推定に使用される参照スペクトルライブラリの作成方法
24日前
株式会社荏原製作所
液受け装置、および研磨装置
11日前
株式会社荏原製作所
めっき装置、およびめっき方法
1か月前
株式会社荏原製作所
排水機場の主ポンプ装置の残運転時間表示装置及び主ポンプ装置の駆動システム
3日前
株式会社荏原製作所
情報処理装置、基板研磨装置、推論装置、機械学習装置、情報処理方法、推論方法、及び、機械学習方法
1か月前
続きを見る
他の特許を見る