TOP
|
特許
|
意匠
|
商標
特許ウォッチ
Twitter
他の特許を見る
10個以上の画像は省略されています。
公開番号
2025158326
公報種別
公開特許公報(A)
公開日
2025-10-17
出願番号
2024060756
出願日
2024-04-04
発明の名称
ポンプ装置
出願人
株式会社荏原製作所
代理人
個人
,
個人
,
個人
主分類
F04D
7/02 20060101AFI20251009BHJP(液体用容積形機械;液体または圧縮性流体用ポンプ)
要約
【課題】液化ガスを移送するためのポンプが収容される吸込み容器の断熱性を向上させることができ、かつポンプに対してドライアップ、クールダウン、およびホットアップを実行するときに運転停止中のポンプの羽根車の回転を防止することができるポンプ装置を提供する。
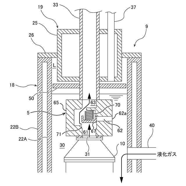
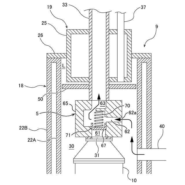
【解決手段】ポンプ装置7は、吸込み容器9内に配置され、かつポンプ10の上方に配置されたバッフル構造体50と、ポンプ10の吐出口31に連結された流路切り替え装置5を備えている。吸込み容器9は、真空断熱容器18と真空断熱蓋19を有し、ポンプ10は、真空断熱容器18と真空断熱蓋19によって形成されたポンプ室30に配置される。真空断熱容器18の内面と、真空断熱蓋19の密閉構造体25の外面との間には、ボイルオフガスからなるガス断熱層を形成するための気層空間Lが形成されている。流路切り替え装置5は、液化ガス吐出管33をポンプ10の吐出口31またはポンプ室30のいずれかに選択的に連通させるように構成されている。
【選択図】図2
特許請求の範囲
【請求項1】
液化ガスを移送するためのポンプ装置であって、
吸込み容器と、
前記吸込み容器内に配置されたポンプと、
前記吸込み容器内に配置され、かつ前記ポンプの上方に配置されたバッフル構造体と、
前記ポンプの吐出口に連結された流路切り替え装置と、
前記流路切り替え装置に連結された液化ガス吐出管を備え、
前記吸込み容器は、
内部に真空が形成された二重壁構造を有する真空断熱容器と、
内部に真空が形成された密閉構造体を有する真空断熱蓋を有し、
前記ポンプは、前記真空断熱容器と前記真空断熱蓋によって形成されたポンプ室に配置され、
前記真空断熱容器の内面と、前記密閉構造体の外面との間には、ボイルオフガスからなるガス断熱層を形成するための気層空間が形成されており、
前記気層空間は、前記ポンプ室に連通しており、
前記流路切り替え装置は、前記液化ガス吐出管を前記ポンプの前記吐出口または前記ポンプ室のいずれかに選択的に連通させるように構成されている、ポンプ装置。
続きを表示(約 760 文字)
【請求項2】
前記流路切り替え装置は、
ポンプ側流路、容器側流路、および流出流路を有する流路構造体と、
前記流路構造体内に配置され、前記流出流路を前記ポンプ側流路または前記容器側流路のいずれかに選択的に連通させる弁体を備えており、
前記ポンプ側流路は、前記ポンプの前記吐出口に連通し、
前記容器側流路は、前記ポンプ室に連通し、
前記流出流路は、前記液化ガス吐出管に連通する、請求項1に記載のポンプ装置。
【請求項3】
前記バッフル構造体は、前記真空断熱蓋と前記流路切り替え装置の間に配置される、請求項1に記載のポンプ装置。
【請求項4】
前記バッフル構造体は、バッフルプレートである、請求項1に記載のポンプ装置。
【請求項5】
前記バッフルプレートは、前記液化ガス吐出管に固定されている、請求項4に記載のポンプ装置。
【請求項6】
前記バッフルプレートは、前記真空断熱容器の内面に固定されている、請求項4に記載のポンプ装置。
【請求項7】
前記バッフルプレートは、前記真空断熱容器内の液化ガスの液面よりも上方に位置している、請求項4に記載のポンプ装置。
【請求項8】
前記バッフルプレートは、前記真空断熱容器内の液化ガスの液面よりも下方に位置している、請求項4に記載のポンプ装置。
【請求項9】
前記バッフル構造体は、前記密閉構造体に固定されている、請求項1に記載のポンプ装置。
【請求項10】
前記バッフル構造体は、ラビリンス流路を形成するラビリンス流路構造体である、請求項1に記載のポンプ装置。
(【請求項11】以降は省略されています)
発明の詳細な説明
【技術分野】
【0001】
本発明は、液体水素、液体窒素、液化アンモニア、液化天然ガス、液化エチレンガス、液化石油ガスなどの液化ガスを移送するためのポンプ装置に関し、特に吸込み容器内に配置されたポンプを備えたポンプ装置に関する。
続きを表示(約 2,200 文字)
【背景技術】
【0002】
図28は、液化ガスを移送するためのポンプ装置の従来例を示す模式図である。ポンプ500は、液化ガスが貯蔵された液化ガス貯槽(図示せず)に接続された縦型吸込み容器505内に設置される。液化ガスは、吸込みポート501を通じて吸込み容器505内に導入され、ポンプ500の全体は液化ガス中に浸漬される。したがって、ポンプ500は、液化ガス中で運転可能な潜没式ポンプである。ポンプ500が運転されると、液化ガスはポンプ500の吸込口500a内に吸い込まれ、ポンプ500によって吐出しポート502を通じて排出される。
【0003】
吸込み容器505内の液化ガスのほとんどは液状であるが、周囲雰囲気の熱はわずかに吸込み容器505の壁を通じて液化ガスに伝わる。その結果、液化ガスの一部はガス化して、ボイルオフガス(BOG)を形成する。そこで、吸込み容器505には、ボイルオフガスを排出するためのボイルオフガス排出ポート503が接続される。吸込み容器505内のボイルオフガスは、ボイルオフガス排出ポート503を通じて吸込み容器505から排出される。
【先行技術文献】
【特許文献】
【0004】
特開昭64-36998号公報
【発明の概要】
【発明が解決しようとする課題】
【0005】
しかしながら、吸込み容器505内に供給される液化ガスは、吸込み容器505内へのわずかな入熱の変化で気化するため、液化ガスの液面に気泡が発生しやすくなる。液化ガスの液面は発生する気泡により波打ち、液面が大きく上下に変動してしまう。このような液面の波打ちが生じると、吸込み容器505の外部である常温域から吸込み容器505の壁面を伝わって液化ガスに伝わる伝熱量が変動することになり、吸込み容器505内に供給される液化ガスは、更に気化して気泡が発生しやすくなる。このようになると、結果的に吸込み容器505内のボイルオフガスが増加する。また、このような液面の波打ちが生じると気層で対流が起こり、液化ガスが更に気化し、気泡が発生しやすくなる。
【0006】
吸込み容器505内のボイルオフガスが増加すると、液化ガスの損失が増加する。また、ポンプ500内に気泡が入ると揚程が立たなくなり、ポンプ500の吐き出し量損失が起こる。従って、ポンプ500の運転が不安定となる。
【0007】
特に、液体水素は、大気圧での沸点が-253℃であるため、非常に気化しやすい。このため、吸込み容器505の断熱性を高めて吸込み容器505内への入熱量を低減して液化ガスの液面の変動を安定化し、吸込み容器505内のボイルオフガスの量をできるだけ少なくすることが求められている。
【0008】
液化ガスを取り扱うポンプ装置では、ポンプ500を運転する前、吸込み容器505から空気をパージガスにより排除するドライアップと、ポンプ500を液化ガスで冷却するクールダウンが行われる。吸込み容器505内に存在する空気が超低温の液化ガスに接触すると、空気中の水分が液化ガスによって冷却されて凝固し、ポンプ500の回転動作を阻害してしまう。また、ポンプ500の始動時にポンプ500が常温であると、超低温の液化ガスがポンプ500に接触したときに液化ガスが気化してしまう。このような事象を防ぐために、ポンプ500の運転前にはドライアップおよびクールダウンが行われる。
【0009】
ドライアップは、吸込み容器505内にパージガス(例えば、窒素ガス)を注入することにより行われ、クールダウンは、吸込み容器505内に液化ガス(例えば、液化天然ガス)を注入することにより行われる。吸込み容器505内に注入されたパージガスまたは液化ガスは、吸込み容器505を満たし、ポンプ500の吸込み口500aからポンプ500内に流入し、そして、吐出しポート502を通って排出される。
【0010】
また、ポンプ500のメンテナンスまたは交換のために、超低温のポンプ500を吸込み容器505から引き上げる前に、ポンプ500を加温ガス(例えば常温の不活性ガス)で加温するホットアップが行われる。このホットアップは、ポンプ500が周囲の空気に接触する前に実行されるので、空気中の窒素などの成分がポンプ500の表面上で液化しない。特に、ホットアップは、液化ガスが液体水素の場合に効果的である。すなわち、液体水素中に浸漬していたポンプ500は、吸込み容器505から引き上げるとき、液体水素と同等の超低温となっている。水素の沸点(-253℃)は酸素の沸点(-183℃)よりも低いので、吸込み容器505から引き上げられた直後のポンプ500に空気が接触すると、空気中の窒素のみならず、酸素も液化し、吸込み容器505内に滴下してしまう。そこで、ポンプ500を吸込み容器505から引き上げる前にホットアップが行われ、ポンプ500は加温ガスによって加温される。したがって、空気がポンプ500に触れたときに、空気中の酸素は液化せず、液化した酸素が吸込み容器505に滴下することがない。
(【0011】以降は省略されています)
この特許をJ-PlatPat(特許庁公式サイト)で参照する
関連特許
株式会社荏原製作所
研磨装置
11日前
株式会社荏原製作所
往復動ポンプ
20日前
株式会社荏原製作所
立形多段ポンプ
26日前
株式会社荏原製作所
研磨装置および研磨方法
11日前
株式会社荏原製作所
研磨方法および研磨システム
20日前
株式会社荏原製作所
基板処理方法および基板処理装置
11日前
株式会社荏原製作所
基板研磨装置および膜厚算出方法
9日前
株式会社荏原製作所
シールリングおよび往復動ポンプ
26日前
株式会社荏原製作所
ウェーハの洗浄方法および洗浄装置
11日前
株式会社荏原製作所
超伝導モータおよびモータシステム
4日前
株式会社荏原製作所
永久磁石型モータおよびモータシステム
4日前
株式会社荏原製作所
永久磁石型モータおよびモータシステム
4日前
株式会社荏原製作所
永久磁石型モータおよびモータシステム
4日前
株式会社荏原製作所
処理ヘッド、基板処理装置、および基板処理方法
12日前
株式会社荏原製作所
ポンプシステムの運転方法、およびポンプシステム
2日前
株式会社荏原製作所
永久磁石型モータ、モータシステム、およびポンプシステム
4日前
株式会社荏原製作所
情報処理装置、情報処理方法、情報処理プログラム、及び、記録媒体
24日前
株式会社荏原製作所
ワークピースの膜厚推定に使用される参照スペクトルライブラリの作成方法
9日前
株式会社荏原製作所
めっき装置、およびめっき方法
17日前
個人
海流製造装置。
2か月前
株式会社スギノマシン
圧縮機
1か月前
株式会社ツインバード
送風装置
1か月前
株式会社ツインバード
送風装置
1か月前
ダイニチ工業株式会社
空調装置
5か月前
日機装株式会社
遠心ポンプ
1か月前
カヤバ株式会社
電動ポンプ
3か月前
カヤバ株式会社
電動ポンプ
9日前
ビッグボーン株式会社
送風装置
2か月前
株式会社不二越
蓄圧装置
3か月前
個人
携帯型扇風機用の送風ノズル
5か月前
株式会社酉島製作所
ポンプ
4か月前
株式会社ニクニ
液封式ポンプ装置
5か月前
株式会社酉島製作所
ポンプ
5か月前
株式会社ノーリツ
ロータリ圧縮機
2か月前
サンデン株式会社
可変容量型圧縮機
17日前
サンデン株式会社
スクロール圧縮機
1か月前
続きを見る
他の特許を見る