TOP
|
特許
|
意匠
|
商標
特許ウォッチ
Twitter
他の特許を見る
公開番号
2025170962
公報種別
公開特許公報(A)
公開日
2025-11-20
出願番号
2024075842
出願日
2024-05-08
発明の名称
圧力検知型ドレン排出構造
出願人
株式会社フクハラ
代理人
個人
主分類
F04B
49/06 20060101AFI20251113BHJP(液体用容積形機械;液体または圧縮性流体用ポンプ)
要約
【課題】検知された圧力の正負により、圧縮手段のロード・アンロード状態を間接的に把握し、インタークーラ内が負圧になった場合においても、排出中のドレンを逆流させることがないドレンの排出構造を提供する。
【解決手段】二以上の圧縮手段とインタークーラを有する圧縮空気圧回路におけるドレン排出構造であって、ドレン送出管と、該ドレン送出管から分岐する分岐継手と、ドレントラップと、圧力検知手段と、から成り、該ドレントラップは、貯留部と、排出部と、制御部と、が備えられ、該制御部は、所定周期ごとに所定微小時間で電磁弁を開弁する減圧開弁制御を行うと共に、該減圧開弁制御以外の期間において、上限検知手段及び下限検知手段による上限検知から下限検知の間で電磁弁を開弁するドレン排出開弁制御を行い、且つ、圧力検知手段における検知結果が負圧であった場合に、減圧開弁制御及びドレン排出開弁制御を行わない手段を採る。
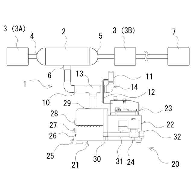
【選択図】図1
特許請求の範囲
【請求項1】
二以上の圧縮手段とインタークーラを有する圧縮空気圧回路におけるドレン排出構造であって、
ドレン送出管と、該ドレン送出管から分岐する分岐継手と、ドレントラップと、圧力検知手段と、から成り、
該ドレン送出管は、ドレンをドレントラップへ送出するものであって、基端が第一の圧縮手段の後段に配設されたインタークーラに接続されると共に、先端がドレントラップに接続され、
該ドレントラップは、ドレン送出管を介して流入するドレンを貯留すると共にドレン水位の上限及び下限を検知する上限検知手段及び下限検知手段を有する貯留部と、電磁弁を有し該貯留部内のドレンを該電磁弁の開閉により排出する排出部と、該電磁弁の開閉制御を行う制御部と、が備えられ、
該圧力検知手段は、ドレン送出管内の圧力を検知するものであって、分岐継手を介してドレン送出管から分岐した配管に備えられ、
該制御部は、所定周期ごとに所定微小時間で電磁弁を開弁する減圧開弁制御を行うと共に、該減圧開弁制御以外の期間において、上限検知手段及び下限検知手段による上限検知から下限検知の間で電磁弁を開弁するドレン排出開弁制御を行い、且つ、圧力検知手段における検知結果が負圧であった場合に、減圧開弁制御及びドレン排出開弁制御を行わないことを特徴とする圧力検知型ドレン排出構造。
続きを表示(約 320 文字)
【請求項2】
前記圧力検知手段における検知結果が負圧であった場合、前記制御部は、当該負圧検知後の所定時間、電磁弁の開弁制御を行うことを特徴とする請求項1に記載の圧力検知型ドレン排出構造。
【請求項3】
前記ドレン送出管に、インタークーラ側からドレントラップ側へ向けた下り傾斜が設けられていることを特徴とする請求項1に記載の圧力検知型ドレン排出構造。
【請求項4】
前記圧力検知手段における検知結果について、所定時間にわたり所定圧が検知され続けた場合に正圧状態、所定時間にわたり所定圧が検知なされなかった場合に負圧状態、をそれぞれ示すことを特徴とする請求項1乃至3のいずれかに記載のドレン検知型ドレン排出構造。
発明の詳細な説明
【技術分野】
【0001】
本発明は、二以上の圧縮手段を有する圧縮空気圧回路において、第一の圧縮手段の後段に配設されたインタークーラに接続されるドレン排出構造に関するものである。
続きを表示(約 3,100 文字)
【背景技術】
【0002】
空気を圧縮する際、その密度が高い方が圧縮効率に優れる。しかしながら、空気は圧縮すると温度が上昇するが、その密度が低下する。すなわち、空気は温度が上昇すると圧縮効率が低下する。
また、生成された圧縮空気は、高温の状態では用途が制限されるため、圧縮手段における製造工程中において、空気は圧縮とほぼ同時に冷却されることが望ましい。
【0003】
従来、圧縮手段のうちスクリュー圧縮手段において、効率的且つ簡便に圧縮空気を冷却する方法として、油冷式が知られている。
スクリュー圧縮手段は、雌雄のスクリュー形状の構造体間に空気導入することで圧縮を行うが、油冷式は、そのスクリュー間のシールのために噴霧されるオイルによって冷却がなされる。そして、当該オイルは、オイルセパレータなどの回収機構によって連続的に回収され、再利用されていくこととなる。
ところが、油冷式の圧縮手段は、当該オイルセパレータによって補捉・回収に至らなかったシール・冷却用のオイルが、製造された圧縮空気の向かう方向、すなわち圧縮空気圧回路側へ逆流してしまう、といった問題があった。それは、圧縮空気の温度低下によって発生するドレン(すなわち本来的に当該圧縮空気に含まれていた水分に由来するドレン)に、当該オイルが含有されてしまうことであり、該オイルを除去するためには、油水分離手段を設ける必要があった。
【0004】
上記問題を解決するものとして、圧縮行程中の空気に一切オイルを接触させない、無給油式の圧縮手段が挙げられる。
しかし、無給油式の圧縮手段は、オイルによる冷却を受けることがないため、そのままでは圧縮空気の温度が上昇し、圧縮効率が低下してしまう。そのため、無給油式の圧縮手段は、複数の圧縮手段を配設することで空気を分割圧縮し、その圧縮行程の所定中間個所において、インタークーラによる圧縮空気の冷却を行っている。
【0005】
ところで、上記圧縮空気を生成する圧縮空気圧回路は、その後段に接続される圧縮空気使用機器の用途によって圧縮空気の使用量が変動するものであるため、その使用量が多いときは、圧縮手段による製造量を増やさなければ、その対応は困難なものとなる。また、逆に使用量が少ないときには、圧縮手段による製造量が多いことは無駄となるばかりか、余剰となった圧縮空気が圧縮空気圧回路内に滞留し、所定適圧より圧力が上昇してしまう、といった問題がある。そのため、圧縮空気の使用量が少ないときには、圧縮手段の運転を停止させることも考えられるが、該圧縮手段の起動時には過大な始動電流が必要となるため、装置寿命や電力効率の観点からすれば、決して経済的になるとは言えず、採用することは難しい。
【0006】
そこで、圧縮手段を停止させるのではなく、無負荷運転(以下、無負荷運転を「アンロード」、負荷運転を「ロード」という場合がある。)として圧縮空気の吸込口を閉弁又は微開させ、該圧縮手段内に残留している圧縮空気、もしくは、吸込口から圧縮手段内へ流入しアンロード中の圧縮手段に圧縮された圧縮空気については、放気弁を介して放気し、その影響をキャンセルさせる技術がある。
しかしながら、その技術も、圧縮手段同士の中間部分に配設されるインタークーラにおいて、吐出口が後段の圧縮手段の吸込口側となることから、後段圧縮手段のアンロードに伴う圧縮作用により、インタークーラの吐出口側が負圧になってしまい、該インタークーラ内にて発生したドレンは元より、インタークーラからドレントラップ等を介して外部へ排出されるドレンまでも、後段圧縮手段側へ逆流してしまう恐れがある、といった問題があった。
【0007】
以上の圧縮手段における問題を解決すべく、特開平09-79160号公報(特許文献1)及び特許5706681号公報(特許文献2)に記載の技術提案がなされている。
すなわち、特許文献1は、二段式乾式圧縮手段の無負荷運転時に三方電磁弁の切り替えを行うことで、正圧力の状態に保つ技術提案である。また、特許文献2は、吸込絞り弁を備えた多段圧縮手段にて、該圧縮手段の起動時に吸込量を制御することで信頼性を向上させる技術提案である。
しかしながら、上記特許文献1の技術提案によれば、従来使用されている二方弁よりも複雑且つ故障の可能性が高い三方弁を使用しているため、安定的な圧縮空気の提供に支障が出てしまう、といった問題が新たに発生してしまう。
また、上記特許文献2の技術提案においても、制御構造が複雑な吸込み絞り弁と共に、配管の分岐構造として前述の特許文献1と同様の三方弁を使用しているため、配管構造が複雑になりやすく、保守作業や装置メンテナンス等にかかる時間が増加してしまう、といった問題も発生してしまう。
【0008】
ところで、圧縮空気圧回路より発生するドレンを外部へ排出するにあたって、タイマー制御による開閉が行われる電磁弁式や、ドレン溜に貯留したドレンの量に応じて上下するフロートが弁を開閉させるフロート式等の排出方法を有するドレントラップが設けられる。
しかしながら、タイマー制御のドレントラップは、ドレンが存在しない場合でも、タイマーの設定通りに電磁弁の開閉動作が行われるため、電磁弁の開弁時に無駄な圧縮空気を放出してしまう、といった問題がある。
さらに、フロート式のドレントラップは、ドレンが所定量貯留しなければ弁が開放されないため、ドレン配管及びドレントラップ内にてエアロックが発生し、ドレンの流入が無くなった場合にフロートが動作しないため、開弁動作もなされない、といった問題がある。
【0009】
そこで、本出願人は、以上のドレントラップにおける問題を解消させる技術を開発し、特許第5703519号公報(特許文献3)に記載の技術提案を行っている。
かかる技術提案によれば、上限極・下限極・コモン極が付されたドレン溜と電磁弁とを備え、所定周期で所定微小時間開弁させることで、エアロックを自動的に解消させることが可能であり、上限極位置まで所定量のドレンが貯留した場合には、下限極位置までドレンを排出させる、といった優れた効果を奏するものであった。
【0010】
しかしながら、上記特許文献3の技術提案によれば、その技術を多段圧縮手段(多くの場合、無給油式)に適用すると、多段圧縮手段がアンロードになり圧縮手段同士の中間に配設されたインタークーラが負圧になった場合、圧縮手段側の問題として既述した通り、外部へ排出させるドレンが後段の圧縮手段側へ逆流してしまう、といった問題があり、また、ドレンと共に排出される圧縮空気や排出口近傍の空気が、アンロードによる負圧に伴いドレン溜内へ侵入し、気泡となってドレン溜内のセンサの誤作動を誘発してしまう、といった問題もあった。
それらを解決させるには、ドレントラップが圧縮手段の運転状態信号を受けて、ドレンが発生し得る状態のみドレントラップを運転させることが考えられるが、当該運転状態信号をドレントラップに接続させることは、内部配線が複雑化することとなり、且つ、装置作業やメンテナンス等においてヒューマンエラーを発生させる恐れを増大させてしまう、といった問題があった。さらに、圧縮手段側にて運転状態信号が発出されない回路構造であると、ドレントラップ単独では検知することができない、といった問題もあった。
(【0011】以降は省略されています)
この特許をJ-PlatPat(特許庁公式サイト)で参照する
関連特許
株式会社フクハラ
圧縮空気圧回路ユニット
1か月前
株式会社フクハラ
圧力検知型ドレン排出構造
3日前
株式会社フクハラ
ドレン検知型ドレン排出構造
3日前
株式会社フクハラ
移動式クーラー用芳香剤パック
19日前
個人
海流製造装置。
2か月前
株式会社スギノマシン
圧縮機
1か月前
株式会社ツインバード
送風装置
2か月前
株式会社ツインバード
送風装置
2か月前
ダイニチ工業株式会社
空調装置
5か月前
日機装株式会社
遠心ポンプ
1か月前
カヤバ株式会社
電動ポンプ
3か月前
カヤバ株式会社
電動ポンプ
16日前
株式会社不二越
蓄圧装置
3か月前
ビッグボーン株式会社
送風装置
2か月前
株式会社ニクニ
液封式ポンプ装置
5か月前
個人
携帯型扇風機用の送風ノズル
5か月前
株式会社酉島製作所
ポンプ
4か月前
株式会社ノーリツ
ロータリ圧縮機
2か月前
小倉クラッチ株式会社
ルーツブロア
3か月前
サンデン株式会社
可変容量型圧縮機
24日前
株式会社ノーリツ
ロータリー圧縮機
4か月前
樫山工業株式会社
真空ポンプ
1か月前
サンデン株式会社
スクロール圧縮機
1か月前
サンデン株式会社
スクロール圧縮機
1か月前
株式会社不二越
ベーンポンプ
3か月前
株式会社坂製作所
スクロール圧縮機
4か月前
サンデン株式会社
スクロール圧縮機
1か月前
株式会社不二越
油圧ユニット
5か月前
株式会社クボタ
作業機
17日前
株式会社コスメック
ピストン型ポンプ
5か月前
株式会社アイシン
ポンプケース
1か月前
株式会社島津製作所
真空ポンプ
2か月前
株式会社豊田自動織機
流体機械
2か月前
個人
連結式螺旋翼体及び流体移送装置
5か月前
エドワーズ株式会社
真空ポンプ
1か月前
株式会社チロル
送風機、送風機付衣服
2か月前
続きを見る
他の特許を見る