TOP
|
特許
|
意匠
|
商標
特許ウォッチ
Twitter
他の特許を見る
公開番号
2025144487
公報種別
公開特許公報(A)
公開日
2025-10-02
出願番号
2024112170
出願日
2024-07-12
発明の名称
エアコンプレッサ
出願人
已久工業股ふん有限公司
代理人
個人
主分類
F04B
39/06 20060101AFI20250925BHJP(液体用容積形機械;液体または圧縮性流体用ポンプ)
要約
【課題】シリンダと、フレームと、ギヤセットと、モータと、ピストンと、第1放熱ファンと、少なくとも1つの第2放熱ファンとを含む、エアコンプレッサを提供する。
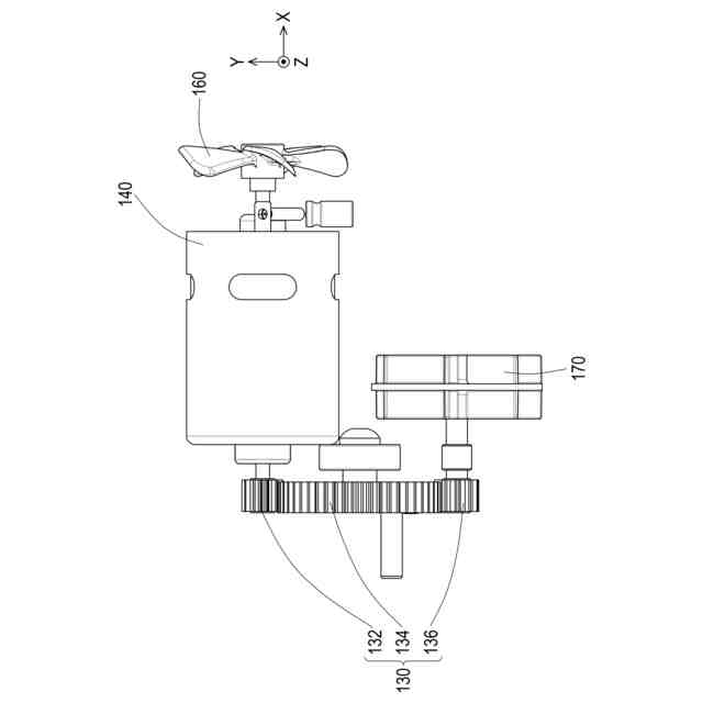
【解決手段】フレーム120はシリンダ110に接続される。ギヤセット130は、第1ギヤ132と、第2ギヤ134と、少なくとも1つの第3ギヤ136とを含む。第2ギヤはフレームに枢接され且つ第1ギヤと第3ギヤとの間に係合し、第3ギヤはフレームに枢接される。モータ140は第1ギヤに接続される。ピストン150の第1端はシリンダに設けられ、ピストンの第2端は第2ギヤに接続される。第1放熱ファン160はモータに接続される。第2放熱ファン170は第3ギヤに接続される。
【選択図】図2
特許請求の範囲
【請求項1】
シリンダと、
前記シリンダに接続されるフレームと、
第1ギヤと、第2ギヤと、少なくとも1つの第3ギヤとを含み、前記第2ギヤは前記フレームに枢接され且つ前記第1ギヤと前記少なくとも1つの第3ギヤとの間に係合し、前記少なくとも1つの第3ギヤは前記フレームに枢接される、ギヤセットと、
前記第1ギヤに接続されるモータと、
第1端が前記シリンダに設けられ、第2端が前記第2ギヤに接続されるピストンと、
前記モータに接続される第1放熱ファンと、
前記少なくとも1つの第3ギヤに接続される少なくとも1つの第2放熱ファンと
を含み、
前記モータは、前記第1放熱ファンを回動させるよう適合され、前記ギヤセットを介して前記ピストンの前記第1端を前記シリンダに沿って往復運動させるよう適合され、且つ前記ギヤセットを介して前記少なくとも1つの第2放熱ファンを回動させるよう適合される、
エアコンプレッサ。
続きを表示(約 920 文字)
【請求項2】
前記少なくとも1つの第2放熱ファンは軸流ファン又は遠心ファンを含む、
請求項1に記載のエアコンプレッサ。
【請求項3】
前記エアコンプレッサの前後方向において、前記ピストンの前記第1端は前記ピストンの前記第2端の前方に位置し、前記第1ギヤと前記少なくとも1つの第3ギヤは前記前後方向において互いに重なる、
請求項1に記載のエアコンプレッサ。
【請求項4】
前記モータと前記第1ギヤはそれぞれ前記フレームの対向する2つの側に位置する、
請求項1に記載のエアコンプレッサ。
【請求項5】
前記少なくとも1つの第2放熱ファンと前記少なくとも1つの第3ギヤはそれぞれ前記フレームの対向する2つの側に位置する、
請求項1に記載のエアコンプレッサ。
【請求項6】
前記第1ギヤと前記少なくとも1つの第3ギヤとを繋ぐ線は前記第2ギヤの中心を通過する、
請求項1に記載のエアコンプレッサ。
【請求項7】
前記第1ギヤと前記少なくとも1つの第3ギヤとを繋ぐ線は前記第2ギヤの中心を通過しない、
請求項1に記載のエアコンプレッサ。
【請求項8】
少なくとも1つの第3放熱ファン
を更に含み、
前記少なくとも1つの第2放熱ファンと前記少なくとも1つの第3放熱ファンはそれぞれ前記少なくとも1つの第3ギヤの対向する2つの側に接続する、
請求項1に記載のエアコンプレッサ。
【請求項9】
前記エアコンプレッサの前後方向において、前記ピストンの前記第1端は前記ピストンの前記第2端の前方に位置し、且つ前記モータは前記少なくとも1つの第2放熱ファンの前方に位置する、
請求項1に記載のエアコンプレッサ。
【請求項10】
前記エアコンプレッサの前後方向において、前記ピストンの前記第1端は前記ピストンの前記第2端の前方に位置し、且つ前記モータは前記少なくとも1つの第2放熱ファンの後方に位置する、
請求項1に記載のエアコンプレッサ。
発明の詳細な説明
【技術分野】
【0001】
本発明はエアコンプレッサに関するものであり、特にピストンエアコンプレッサに関するものである。
続きを表示(約 1,300 文字)
【背景技術】
【0002】
車載用エアコンプレッサは、タイヤシーラントボトルと共に用いることで車両のタイヤに補修又は空気充填を行うことができ、且つタイヤシーラントボトルを用いずに車両のタイヤに空気充填を行うことができる。前記エアコンプレッサはピストンエアコンプレッサであってよく、そのピストンがシリンダ内に前進してシリンダ内の空気を圧縮し、これにより高圧縮空気をシリンダ前端から出力させる。ピストンがシリンダ内で後退すると、シリンダ内の空間は徐々に大きくなって内部の気圧が下降し、次回のピストンの前進時に圧縮される、ということが不断に繰り返される。ピストンエアコンプレッサの動作時には昇温する可能性があり、故に一般的には放熱ファンがピストンを駆動するために用いられるモータと同軸に設けられる。しかし、エアコンプレッサ内部構成はコンパクトであり且つ空間が狭いことから、放熱気流の流動効率が劣り、上述した放熱設計は十分な放熱効果を達成することができない。
【発明の概要】
【発明が解決しようとする課題】
【0003】
本発明は放熱効果に優れたエアコンプレッサを提供する。
【課題を解決するための手段】
【0004】
本発明のエアコンプレッサは、シリンダと、フレームと、ギヤセットと、モータと、ピストンと、第1放熱ファンと、少なくとも1つの第2放熱ファンとを含む。フレームはシリンダに接続される。ギヤセットは、第1ギヤと、第2ギヤと、少なくとも1つの第3ギヤとを含む。第2ギヤはフレームに枢接され且つ第1ギヤと第3ギヤとの間に係合し、第3ギヤはフレームに枢接される。モータは第1ギヤに接続される。ピストンの第1端はシリンダに設けられ、ピストンの第2端は第2ギヤに接続される。第1放熱ファンはモータに接続される。第2放熱ファンは第3ギヤに接続される。モータは、第1放熱ファンを回動させるよう適合され、ギヤセットを介してピストンの第1端をシリンダに沿って往復運動させるよう適合され、且つギヤセットを介して第2放熱ファンを回動させるよう適合される。
【0005】
本発明の1つの実施形態において、上述した第2放熱ファンは軸流ファン又は遠心ファンを含む。
【0006】
本発明の1つの実施形態において、エアコンプレッサの前後方向において、ピストンの第1端はピストンの第2端の前方に位置し、第1ギヤと第3ギヤは前後方向において互いに重なる。
【0007】
本発明の1つの実施形態において、上述したモータと第1ギヤはそれぞれフレームの対向する2つの側に位置する。
【0008】
本発明の1つの実施形態において、上述した第2放熱ファンと第3ギヤはそれぞれフレームの対向する2つの側に位置する。
【0009】
本発明の1つの実施形態において、上述した第1ギヤと第3ギヤとを繋ぐ線は第2ギヤの中心を通過する。
【0010】
本発明の1つの実施形態において、上述した第1ギヤと第3ギヤとを繋ぐ線は第2ギヤの中心を通過しない。
(【0011】以降は省略されています)
この特許をJ-PlatPat(特許庁公式サイト)で参照する
関連特許
已久工業股ふん有限公司
空気圧縮機構造
2か月前
已久工業股ふん有限公司
空気圧縮機構造
2か月前
已久工業股ふん有限公司
エアコンプレッサ
29日前
已久工業股ふん有限公司
エアコンプレッサ
1か月前
已久工業股ふん有限公司
エアコンプレッサ構造
2か月前
已久工業股ふん有限公司
車載用エアコンプレッサ
5か月前
已久工業股ふん有限公司
タイヤ修理装置及び接着剤塗布装置
4か月前
已久工業股ふん有限公司
車載用エアコンプレッサ及びボトルキャップアセンブリ
5か月前
個人
海流製造装置。
1か月前
株式会社スギノマシン
圧縮機
22日前
株式会社ツインバード
送風装置
1か月前
株式会社ツインバード
送風装置
1か月前
カヤバ株式会社
電動ポンプ
2か月前
日機装株式会社
遠心ポンプ
14日前
ビッグボーン株式会社
送風装置
2か月前
株式会社不二越
蓄圧装置
3か月前
株式会社ノーリツ
ロータリ圧縮機
1か月前
株式会社酉島製作所
ポンプ
4か月前
サンデン株式会社
可変容量型圧縮機
1日前
樫山工業株式会社
真空ポンプ
23日前
株式会社ノーリツ
ロータリー圧縮機
4か月前
株式会社坂製作所
スクロール圧縮機
4か月前
サンデン株式会社
スクロール圧縮機
28日前
サンデン株式会社
スクロール圧縮機
28日前
小倉クラッチ株式会社
ルーツブロア
3か月前
サンデン株式会社
スクロール圧縮機
28日前
株式会社不二越
ベーンポンプ
3か月前
エドワーズ株式会社
真空ポンプ
1か月前
株式会社島津製作所
真空ポンプ
1か月前
株式会社アイシン
ポンプケース
1か月前
株式会社豊田自動織機
流体機械
1か月前
株式会社チロル
送風機、送風機付衣服
2か月前
株式会社島津製作所
真空ポンプ
2か月前
株式会社豊田自動織機
電動圧縮機
1か月前
株式会社豊田自動織機
電動圧縮機
1か月前
株式会社ナノバブル研究所
気液駆動装置
1か月前
続きを見る
他の特許を見る