TOP
|
特許
|
意匠
|
商標
特許ウォッチ
Twitter
他の特許を見る
公開番号
2025167055
公報種別
公開特許公報(A)
公開日
2025-11-07
出願番号
2024071341
出願日
2024-04-25
発明の名称
基板研磨装置および膜厚算出方法
出願人
株式会社荏原製作所
代理人
個人
,
個人
,
個人
,
個人
主分類
B24B
37/013 20120101AFI20251030BHJP(研削;研磨)
要約
【課題】基板の研磨中に研磨対象の膜の厚さを精度良く測定する。
【解決手段】基板研磨装置は、渦電流センサが設けられた研磨テーブルであって、回転可能に構成された研磨テーブルと、前記研磨テーブルに対向し、回転可能に構成された研磨ヘッドであって、前記研磨テーブルと対向する面に基板を取り付け可能である研磨ヘッドと、制御部と、を備える。前記制御部は、前記基板の研磨中に前記渦電流センサの出力信号の波形データを取得し、前記波形データ上の極小点または極大点を検出し、前記検出された極小点または極大点に基づいて前記波形データを補正し、前記補正された波形データに基づいて前記基板の表面の膜厚を計算する、ように構成される。
【選択図】図4
特許請求の範囲
【請求項1】
渦電流センサが設けられた研磨テーブルであって、回転可能に構成された研磨テーブルと、
前記研磨テーブルに対向し、回転可能に構成された研磨ヘッドであって、前記研磨テーブルと対向する面に基板を取り付け可能である研磨ヘッドと、
制御部と、
を備える基板研磨装置であって、
前記制御部は、
前記基板の研磨中に前記渦電流センサの出力信号の波形データを取得し、
前記波形データ上の極小点または極大点を検出し、
前記検出された極小点または極大点に基づいて前記波形データを補正し、
前記補正された波形データに基づいて前記基板の表面の膜厚を計算する、
ように構成される、基板研磨装置。
続きを表示(約 1,400 文字)
【請求項2】
前記制御部は、
前記波形データ上の複数の極小点を検出し、
前記波形データ上の前記検出された複数の極小点を、滑らかな曲線、または直線で補間することによって、前記波形データを補正する、
ように構成される、請求項1に記載の基板研磨装置。
【請求項3】
前記制御部は、
前記波形データ上の複数の極大点を検出し、
前記検出された複数の極大点の各々についてのプロミネンスを算出し、
前記算出された各プロミネンスが所定の閾値より大きいか否かを判定し、
前記所定の閾値より大きいと判定されたプロミネンスを有する前記波形データ上の極大点およびその近傍の値を減少させることによって、前記波形データを補正する、
ように構成される、請求項1に記載の基板研磨装置。
【請求項4】
前記波形データは、前記研磨テーブルおよび前記研磨ヘッドの回転に伴って前記渦電流センサが前記基板の被研磨面上の1または複数の軌道を通過した時に前記渦電流センサから得られる一連の出力信号からなるデータである、請求項1から3のいずれか1項に記載の基板研磨装置。
【請求項5】
前記基板は、その表面または内部に局所的に存在する1または複数の金属構造物を有する基板である、請求項1から3のいずれか1項に記載の基板研磨装置。
【請求項6】
前記金属構造物は、基板上に形成された貫通電極または金属配線である、請求項5に記載の基板研磨装置。
【請求項7】
前記基板に対する研磨圧力を調整可能なエアバッグをさらに備え、
前記制御部は、さらに、前記基板の前記計算された膜厚に基づいて前記エアバッグの内部圧力を制御するように構成される、
請求項1から3のいずれか1項に記載の基板研磨装置。
【請求項8】
渦電流センサが設けられた研磨テーブルであって、回転可能に構成された研磨テーブルと、
前記研磨テーブルに対向し、回転可能に構成された研磨ヘッドであって、前記研磨テーブルと対向する面に基板を取り付け可能である研磨ヘッドと、
を備える基板研磨装置における膜厚算出方法であって、
前記基板の研磨中に前記渦電流センサの出力信号の波形データを取得するステップと、
前記波形データ上の極小点または極大点を検出するステップと、
前記検出された極小点または極大点に基づいて前記波形データを補正するステップと、
前記補正された波形データに基づいて前記基板の表面の膜厚を計算するステップと、
を含む方法。
【請求項9】
前記波形データを補正するステップは、前記波形データ上の前記検出された複数の極小点を、滑らかな曲線、または直線で補間するステップを含む、請求項8に記載の方法。
【請求項10】
前記波形データを補正するステップは、
前記検出された複数の極大点の各々についてのプロミネンスを算出するステップと、
前記算出された各プロミネンスが所定の閾値より大きいか否かを判定するステップと、
前記所定の閾値より大きいと判定されたプロミネンスを有する前記波形データ上の極大点およびその近傍の値を減少させるステップと、
を含む、請求項8に記載の方法。
発明の詳細な説明
【技術分野】
【0001】
本発明は、基板研磨装置および膜厚算出方法に関する。
続きを表示(約 1,900 文字)
【背景技術】
【0002】
半導体デバイスの製造装置のひとつに、CMP(Chemical Mechanical Polishing、化学機械研磨)装置がある。代表的なCMP装置は、研磨パッドが取り付けられた研磨テーブルと、基板が取り付けられた研磨ヘッドと、を備える。代表的なCMP装置においては、研磨液を研磨パッドに供給し、研磨パッドと基板とを接触させた状態で研磨テーブルおよび研磨ヘッドの少なくとも一方を回転させることで基板が研磨される。
【先行技術文献】
【特許文献】
【0003】
特開2021-058955号公報
【発明の概要】
【発明が解決しようとする課題】
【0004】
基板の研磨中に研磨対象の膜の厚さを測定するために、渦電流センサを用いることができる。渦電流センサは、例えば研磨テーブルに設けられる。渦電流センサは、研磨テーブルの回転に伴って基板の表面をある軌道に沿って移動し、軌道上の各点の膜厚を測定する(例えば特許文献1参照)。しかし、基板に研磨対象の膜(金属膜)の他に局所的な金属構造物が存在していると、その影響により、本来測定すべき研磨対象の膜の厚さを精度良く測定することが困難となる。
【課題を解決するための手段】
【0005】
一実施形態によれば、渦電流センサが設けられた研磨テーブルであって、回転可能に構成された研磨テーブルと、前記研磨テーブルに対向し、回転可能に構成された研磨ヘッドであって、前記研磨テーブルと対向する面に基板を取り付け可能である研磨ヘッドと、制御部と、を備える基板研磨装置であって、前記制御部は、前記基板の研磨中に前記渦電流センサの出力信号の波形データを取得し、前記波形データ上の極小点または極大点を検出し、前記検出された極小点または極大点に基づいて前記波形データを補正し、前記補正された波形データに基づいて前記基板の表面の膜厚を計算する、ように構成される、基板研磨装置が提供される。
【図面の簡単な説明】
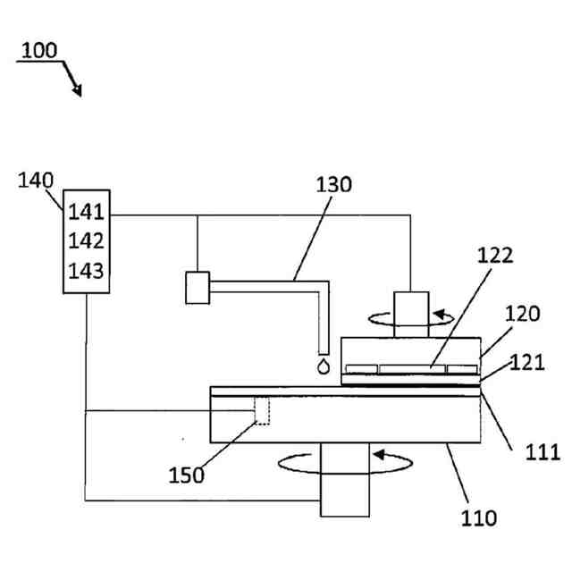
【0006】
一実施形態にかかる基板研磨装置の正面図である。
基板研磨装置による研磨の対象とされる例示的な基板の構造を示す断面模式図である。
本発明の一実施形態に係る方法のアルゴリズムを示すフローチャートである。
渦電流センサの出力信号の波形データに対する補正処理の説明図である。
本発明の別の実施形態に係る方法のアルゴリズムを示すフローチャートである。
プロミネンスの概念を説明する模式図である。
渦電流センサの出力信号の波形データに対する補正処理の説明図である。
【発明を実施するための形態】
【0007】
以下、本発明の実施形態について図面を参照して説明する。以下で説明する図面におい
て、同一の又は相当する構成要素には、同一の符号を付して重複した説明を省略する。
【0008】
図1は、一実施形態にかかる基板研磨装置100の正面図である。図1に示される基板研磨装置100は、CMP(Chemical Mechanical Polishing)装置である。ただし、基板研磨装置100はCMP装置に限られない。基板研磨装置100は、渦電流センサが設けられた研磨テーブルを回転させて基板を研磨する装置であればよい。
【0009】
CMP装置100は、研磨テーブル110と、研磨ヘッド120と、液体供給機構130とを備える。CMP装置100は、各構成要素を制御するための制御部140をさらに備える。制御部140は、たとえば、ストレージデバイス141、プロセッサ142、および入出力装置143を備えてよい。
【0010】
研磨テーブル110の上面には、研磨パッド111が着脱可能に取り付けられている。ここで研磨テーブル110の上面とは、研磨テーブル110のうち研磨ヘッド120と対向する面を指す。したがって、研磨テーブル110の上面は、鉛直上方向に位置する面に限られない。研磨ヘッド120は、研磨テーブル110と対向するように設けられている。研磨ヘッド120のうち研磨テーブル110と対向する面には、基板121が着脱可能に取り付けられている。液体供給機構130は、スラリなどの研磨液を研磨パッド111に供給するよう構成されている。なお、液体供給機構130は、研磨液以外にも、洗浄液または薬液などを供給するように構成されていてもよい。
(【0011】以降は省略されています)
この特許をJ-PlatPat(特許庁公式サイト)で参照する
関連特許
株式会社荏原製作所
振動検知器及び振動検知システム
4日前
株式会社荏原製作所
圧縮式冷凍機および冷凍システム
11日前
株式会社荏原製作所
基板研磨装置および膜厚算出方法
11日前
株式会社荏原製作所
超伝導モータおよびモータシステム
19日前
株式会社荏原製作所
永久磁石型モータおよびモータシステム
19日前
株式会社荏原製作所
永久磁石型モータおよびモータシステム
19日前
株式会社荏原製作所
永久磁石型モータおよびモータシステム
19日前
株式会社荏原製作所
ポンプシステム及びポンプシステムの制御方法
3日前
株式会社荏原製作所
パッド表面判定方法およびパッド表面判定システム
11日前
株式会社荏原製作所
ポンプシステムの運転方法、およびポンプシステム
17日前
株式会社荏原製作所
永久磁石型モータ、モータシステム、およびポンプシステム
19日前
株式会社荏原製作所
情報処理装置、情報処理方法、情報処理プログラム、及び、記録媒体
4日前
株式会社荏原製作所
基板洗浄方法、基板洗浄装置、基板洗浄プログラムおよび基板処理装置
11日前
株式会社荏原製作所
ワークピースの膜厚推定に使用される参照スペクトルライブラリの作成方法
24日前
株式会社荏原製作所
液受け装置、および研磨装置
11日前
株式会社荏原製作所
排水機場の主ポンプ装置の残運転時間表示装置及び主ポンプ装置の駆動システム
3日前
個人
包丁研ぎ器具
4か月前
株式会社松風
研磨用ゴム砥石
1か月前
株式会社SUS
ワーク保持治具
19日前
株式会社東京精密
研削装置
1か月前
株式会社クボタ
管研削装置
4か月前
株式会社タカトリ
ウエハの研削装置
1か月前
株式会社村田製作所
切削装置
5か月前
株式会社ディスコ
被加工物の加工方法
2か月前
株式会社アイオーテック
外周加工装置
5日前
株式会社東京精密
加工方法
1か月前
ノリタケ株式会社
超砥粒ホイール
1か月前
株式会社東京精密
加工装置
1か月前
株式会社ニッチュー
ブラスト装置
4か月前
株式会社東京精密
加工装置
1か月前
不二空機株式会社
可搬型動力工具
5か月前
ノリタケ株式会社
研磨パッド
1か月前
株式会社ディスコ
砥石
5か月前
株式会社荏原製作所
研磨装置
26日前
秀和工業株式会社
処理装置および処理方法
2か月前
トヨタ自動車株式会社
回転砥石の製造方法
3か月前
続きを見る
他の特許を見る