TOP
|
特許
|
意匠
|
商標
特許ウォッチ
Twitter
他の特許を見る
10個以上の画像は省略されています。
公開番号
2025168627
公報種別
公開特許公報(A)
公開日
2025-11-11
出願番号
2024146790
出願日
2024-08-28
発明の名称
ダイヤフラムポンプ
出願人
ミネベアミツミ株式会社
代理人
個人
,
個人
主分類
F04B
45/04 20060101AFI20251104BHJP(液体用容積形機械;液体または圧縮性流体用ポンプ)
要約
【課題】揺動体の支点部とハウジングとの接触箇所における摩耗を抑制することが可能なダイヤフラムポンプを提供する。
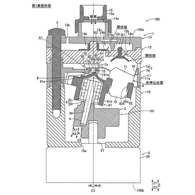
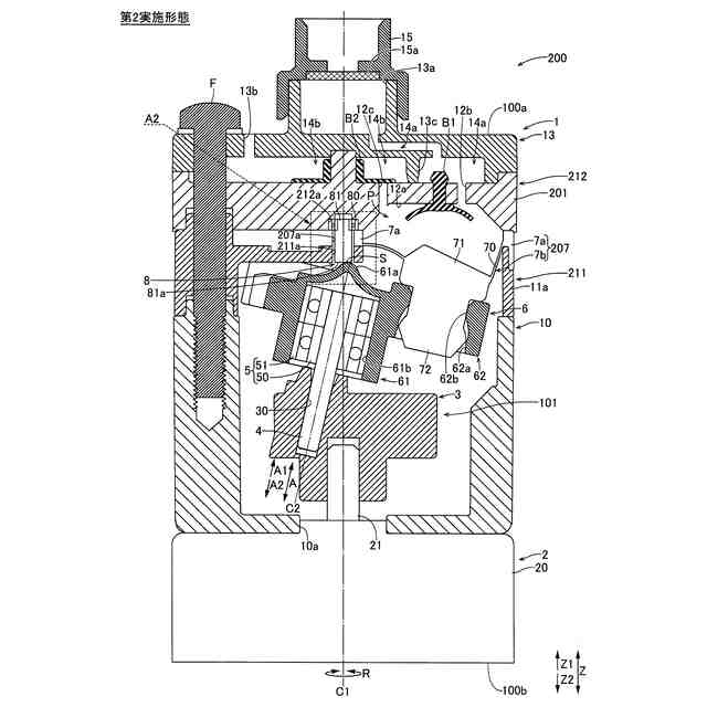
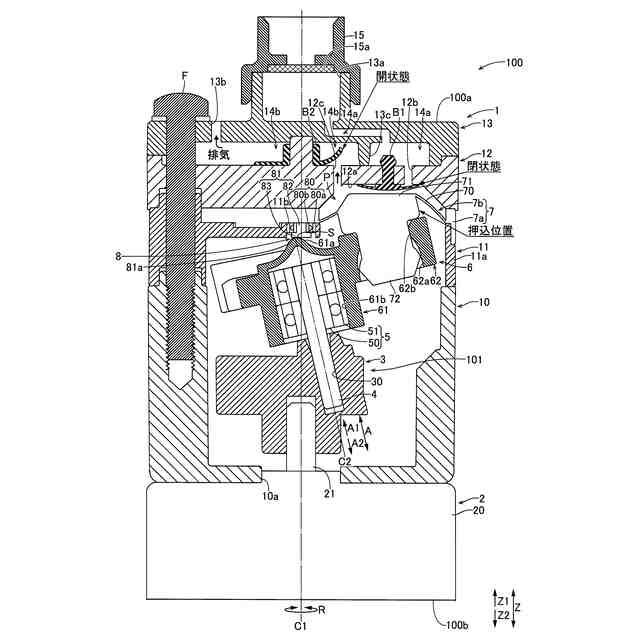
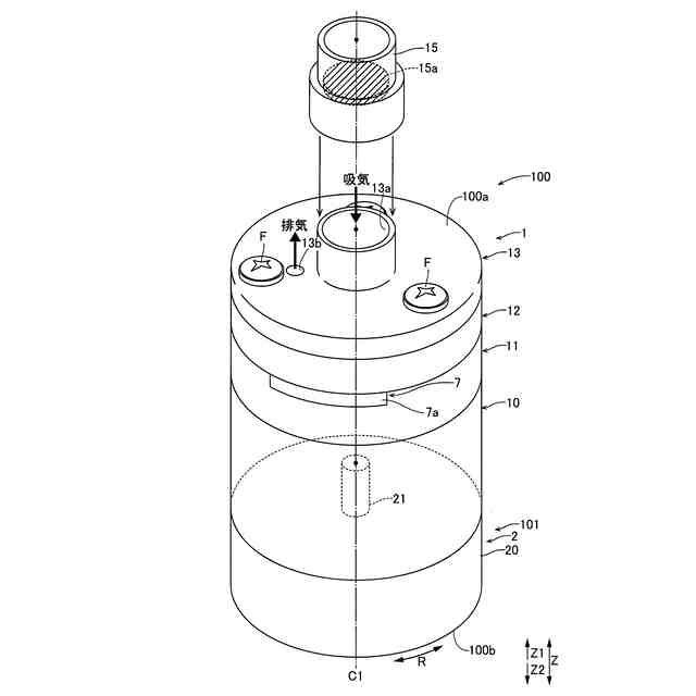
【解決手段】ダイヤフラムポンプ100は、ハウジング1と、ハウジング1に取り付けられ、弾性変形によりポンプ室Pを拡大縮小するダイヤフラム7と、モータ2の駆動力により回転中心軸線C1周りに偏心状態で回転され、回転中心軸線C1に対して傾斜した状態で配置された傾斜シャフト4と、傾斜シャフト4が偏心して回転する際の支点となる支点部61aを有し、傾斜シャフト4が挿入され、回転中心軸線C1周りの傾斜シャフト4の偏心回転に伴い揺動して、ダイヤフラム7を繰り返し押圧して弾性変形させる揺動体6と、ハウジング1と支点部61aとの接触箇所Sに設けられ、揺動体6が揺動する際に接触箇所Sに発生する摩擦力を回転力に変換して回転する回転部8と、を備える。
【選択図】図2
特許請求の範囲
【請求項1】
ハウジングと、
前記ハウジングに取り付けられ、弾性変形によりポンプ室を拡大縮小するダイヤフラムと、
モータの駆動力により所定の回転中心軸線周りに偏心状態で回転され、前記回転中心軸線に対して傾斜した状態で配置された傾斜シャフトと、
前記傾斜シャフトが偏心して回転する際の支点となる支点部を有し、前記傾斜シャフトが挿入され、前記回転中心軸線周りの前記傾斜シャフトの偏心回転に伴い揺動して、前記ダイヤフラムを繰り返し押圧して弾性変形させる揺動体と、
前記ハウジングと前記支点部との接触箇所に設けられ、前記揺動体が揺動する際に前記接触箇所に発生する摩擦力を回転力に変換して回転する回転部と、を備える、ダイヤフラムポンプ。
続きを表示(約 1,200 文字)
【請求項2】
前記ハウジングと前記支点部との前記接触箇所は、所定の中心周りに円状の軌道に沿って移動し、
前記回転部は、回転することにより、前記ハウジングと前記支点部とを前記円状の軌道に沿って転がり接触させるように構成されている、請求項1に記載のダイヤフラムポンプ。
【請求項3】
前記回転部は、転がり軸受と、前記転がり軸受に回転可能に支持された前記接触箇所となる接触部材と、を含む、請求項1に記載のダイヤフラムポンプ。
【請求項4】
前記回転部は、前記支点部に接触する前記ハウジングの一部として設けられ、
前記接触部材は、前記支点部に接触する接触面を有し、前記揺動体の揺動に伴って回転するように前記転がり軸受に回転可能に支持されている、請求項3に記載のダイヤフラムポンプ。
【請求項5】
前記ハウジングは、前記転がり軸受が設けられた支点板を含み、
前記支点板は、前記回転中心軸線上に貫通孔状または凹状に形成され、前記回転部が配置される第1回転部配置部を有する、請求項4に記載のダイヤフラムポンプ。
【請求項6】
前記ハウジングは、
支点板と、
前記転がり軸受が設けられ、前記支点板に対して前記揺動体側とは逆側から取り付けられ、前記ダイヤフラムと共に前記ポンプ室を形成するバルブハウジングと、を含み、
前記バルブハウジングは、前記回転中心軸線上に貫通孔状または凹状に形成され、前記回転部が配置される第2回転部配置部を有し、
前記支点板および前記ダイヤフラムは、前記回転中心軸線上に、前記第2回転部配置部に配置された前記回転部と前記支点部とを接触させるための貫通孔を有する、請求項4に記載のダイヤフラムポンプ。
【請求項7】
前記回転部は、前記ハウジングに接触する前記揺動体の一部として設けられ、
前記接触部材は、前記支点部であり、前記揺動体の揺動に伴って回転するように前記転がり軸受に回転可能に支持されている、請求項3に記載のダイヤフラムポンプ。
【請求項8】
前記揺動体の前記支点部は、前記回転部に接触するように、前記ハウジングとの前記接触箇所に向けて突出して設けられた凸部である、請求項1に記載のダイヤフラムポンプ。
【請求項9】
前記転がり軸受は、ボールベアリングである、請求項3に記載のダイヤフラムポンプ。
【請求項10】
前記傾斜シャフトの外周に配置され、前記揺動体が取り付けられる軸受と、
前記傾斜シャフトに対する前記軸受の相対位置の変動を規制するように相対位置を固定する相対位置固定部と、をさらに備える、請求項1に記載のダイヤフラムポンプ。
(【請求項11】以降は省略されています)
発明の詳細な説明
【技術分野】
【0001】
この発明は、弾性変形によりポンプ室を拡大縮小するダイヤフラムを備えるダイヤフラムポンプに関する。
続きを表示(約 2,400 文字)
【背景技術】
【0002】
従来、弾性変形によりポンプ室を拡大縮小するダイヤフラムを備えるダイヤフラムポンプが知られている(たとえば、特許文献1参照)。
【0003】
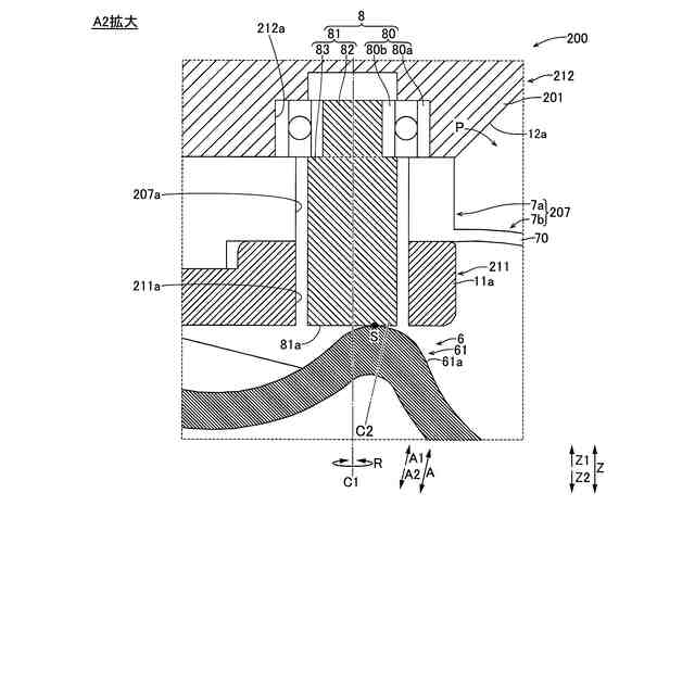
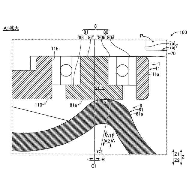
上記特許文献1には、弾性変形によりポンプ室を拡大縮小するダイヤフラムと、揺動によりダイヤフラムを押圧して弾性変形させる揺動体とを備えるダイヤフラムポンプが開示されている。上記ダイヤフラムポンプは、モータと、モータの駆動力を揺動体に伝達するように構成され、モータの出力軸に対して偏心状態で配置された駆動軸(傾斜シャフト)とをさらに備える。揺動体は、駆動軸に取り付けられている。また、揺動体は、ダイヤフラムポンプのハウジングに接触する揺動体の半球状の突起からなる揺動支点を有する。半球状の突起からなる揺動支点は、揺動体が揺動する際に、ハウジングの凹部に接触した状態で保持される。
【先行技術文献】
【特許文献】
【0004】
特開2018-123810号公報
【発明の概要】
【発明が解決しようとする課題】
【0005】
上記特許文献1では、揺動体が揺動する際に、静止状態のハウジングの凹部の表面において、揺動する揺動体の半球状の突起からなる揺動支点がこすられて摩耗が生じやすいという問題点がある。すなわち、静止状態のハウジングの凹状と半球状の突起からなる揺動支点との接触箇所が滑り接触となり、滑り摩擦により摩耗が生じやすいという問題点がある。
【0006】
この発明は、上記のような課題を解決するためになされたものであり、この発明の1つの目的は、揺動体の支点部とハウジングとの接触箇所における摩耗を抑制することが可能なダイヤフラムポンプを提供することである。
【課題を解決するための手段】
【0007】
上記の課題を解決するために、この発明の第1の局面によるダイヤフラムポンプは、ハウジングと、ハウジングに取り付けられ、弾性変形によりポンプ室を拡大縮小するダイヤフラムと、モータの駆動力により所定の回転中心軸線周りに偏心状態で回転され、回転中心軸線に対して傾斜した状態で配置された傾斜シャフトと、傾斜シャフトが偏心して回転する際の支点となる支点部を有し、傾斜シャフトが挿入され、回転中心軸線周りの傾斜シャフトの偏心回転に伴い揺動して、ダイヤフラムを繰り返し押圧して弾性変形させる揺動体と、ハウジングと支点部との接触箇所に設けられ、揺動体が揺動する際に接触箇所に発生する摩擦力を回転力に変換して回転する回転部と、を備える。
【0008】
この発明の第1の局面によるダイヤフラムポンプでは、上記のように、傾斜シャフトが偏心して回転する際の支点となる支点部を有し、傾斜シャフトの偏心回転に伴い揺動して、ダイヤフラムを繰り返し押圧して弾性変形させる揺動体と、ハウジングと支点部との接触箇所に設けられ、揺動体が揺動する際に接触箇所に発生する摩擦力を回転力に変換して回転する回転部を備える。これによって、揺動体が揺動する際に、回転部によって、ハウジングと支点部との接触箇所に発生する摩擦力を、回転部を回転させる回転力に変換することができる。このため、従来のようなハウジングと揺動支点との接触箇所が滑り接触となるのではなく、回転部によって、ハウジングと支点部との接触箇所を転がり接触にすることができる。すなわち、ハウジングの表面において、揺動する揺動体の支点部がこすられる(滑り摩擦が発生する)ことを抑制することができる。その結果、揺動体の支点部とハウジングとの接触箇所における摩耗を抑制することができる。
【0009】
この発明の第2の局面によるダイヤフラムポンプは、ハウジングと、ハウジングに取り付けられ、弾性変形によりポンプ室を拡大縮小するダイヤフラムと、モータの駆動力により所定の回転中心軸線周りに偏心状態で回転され、回転中心軸線に対して傾斜した状態で配置された傾斜シャフトと、傾斜シャフトの外周に配置された軸受と、傾斜シャフトが偏心して回転する際の支点となる支点部を有し、軸受を介して傾斜シャフトに取り付けられ、回転中心軸線周りの傾斜シャフトの偏心回転に伴い揺動して、ダイヤフラムを繰り返し押圧して弾性変形させる揺動体と、傾斜シャフトに対する軸受の相対位置の変動を規制するように相対位置を固定する相対位置固定部と、を備える。
【0010】
この発明の第2の局面によるダイヤフラムポンプでは、上記のように、傾斜シャフトが偏心して回転する際の支点となる支点部を有し、軸受を介して傾斜シャフトに取り付けられ、回転中心軸線周りの傾斜シャフトの偏心回転に伴い揺動して、ダイヤフラムを繰り返し押圧して弾性変形させる揺動体と、傾斜シャフトに対する軸受の相対位置の変動を規制するように相対位置を固定する相対位置固定部とを備える。これによって、相対位置固定部により、傾斜シャフトに対する軸受の相対位置の変動を規制して、軸受を介して、傾斜シャフトに対する揺動体の相対位置の変動を規制することができる。これにより、揺動体が傾斜シャフトの軸方向に移動するのを抑制することができるので、揺動体の支点部とハウジングとの接触箇所における互いの押圧力(接触圧力)を低減することができる。すなわち、揺動体の支点部とハウジングとの間の接触を弱めることができる。その結果、揺動体の支点部とハウジングとの接触箇所における摩耗を抑制することができる。特に、ダイヤフラムポンプにより真空状態を作り出す際に、ポンプ室の真空度が高くなると、揺動体の支点部とハウジングとの接触箇所における接触圧力が増加して摩耗が発生しやすくなるため、接触箇所の接触圧力を弱めることが可能である本発明は有効である。
【発明の効果】
(【0011】以降は省略されています)
この特許をJ-PlatPat(特許庁公式サイト)で参照する
関連特許
個人
海流製造装置。
2か月前
株式会社スギノマシン
圧縮機
1か月前
株式会社ツインバード
送風装置
2か月前
株式会社ツインバード
送風装置
2か月前
カヤバ株式会社
電動ポンプ
4か月前
カヤバ株式会社
電動ポンプ
1か月前
日機装株式会社
遠心ポンプ
1か月前
ビッグボーン株式会社
送風装置
3か月前
株式会社不二越
電動油圧ポンプ
2日前
株式会社不二越
電動油圧ポンプ
2日前
株式会社ノーリツ
ロータリ圧縮機
3か月前
サンデン株式会社
スクロール圧縮機
2か月前
樫山工業株式会社
真空ポンプ
2か月前
サンデン株式会社
スクロール圧縮機
2か月前
サンデン株式会社
可変容量型圧縮機
1か月前
サンデン株式会社
スクロール圧縮機
2か月前
株式会社チロル
送風機、送風機付衣服
3か月前
株式会社豊田自動織機
流体機械
3か月前
株式会社島津製作所
真空ポンプ
2か月前
株式会社島津製作所
真空ポンプ
3か月前
株式会社クボタ
作業機
1か月前
株式会社ニクニ
縦型スクリューポンプ
3日前
エドワーズ株式会社
真空ポンプ
2か月前
株式会社アイシン
ポンプケース
2か月前
株式会社豊田自動織機
電動圧縮機
3か月前
株式会社豊田自動織機
電動圧縮機
3か月前
NTN株式会社
電動オイルポンプ
2か月前
株式会社豊田自動織機
電動圧縮機
2か月前
株式会社豊田自動織機
電動圧縮機
2か月前
株式会社ナノバブル研究所
気液駆動装置
2か月前
株式会社豊田自動織機
電動圧縮機
2か月前
サンデン株式会社
ヘリカルコンプレッサ
4日前
サンデン株式会社
ヘリカルコンプレッサ
4日前
サンデン株式会社
ヘリカルコンプレッサ
4日前
已久工業股ふん有限公司
エアコンプレッサ
2か月前
リンナイ株式会社
遠心ファン
3か月前
続きを見る
他の特許を見る