TOP
|
特許
|
意匠
|
商標
特許ウォッチ
Twitter
他の特許を見る
10個以上の画像は省略されています。
公開番号
2025169165
公報種別
公開特許公報(A)
公開日
2025-11-12
出願番号
2025061052
出願日
2025-04-02
発明の名称
遠心ポンプ用のポンプユニットおよび遠心ポンプ
出願人
レヴィトロニクス ゲーエムベーハー
,
Levitronix GmbH
代理人
弁理士法人浅村特許事務所
主分類
F04D
13/06 20060101AFI20251105BHJP(液体用容積形機械;液体または圧縮性流体用ポンプ)
要約
【課題】遠心ポンプ用のポンプユニット。
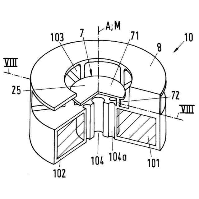
【解決手段】遠心ポンプは、ポンプユニットと、第1の軸方向端部から第2の軸方向端部まで軸方向に延在するステータとを備える。カップ形状の凹部が、第1の軸方向端部に設けられており、ポンプユニットが、カップ形状の凹部内に挿入され得る。ポンプユニットが、ポンプハウジングと、ロータとを有する。ロータのベーンが、ロータの中央入口領域の周りに配置されており、ロータが、入口とは反対側に面するロータの裏側からロータの中央入口領域の方向に誘導される再循環流を生成するための少なくとも1つのリリーフ開口部を備える。ロータが、中央入口領域内に配置された分離要素をさらに有し、該分離要素が、再循環流を軸方向に対して垂直な半径方向に方向転換させる。
【選択図】図3
特許請求の範囲
【請求項1】
遠心ポンプ用のポンプユニットであって、前記遠心ポンプが、前記ポンプユニットと、第1の軸方向端部(110)から第2の軸方向端部(120)まで軸方向(A)に延在するステータ(100)と、を備え、カップ形状の凹部が、前記第1の軸方向端部(110)に設けられており、前記ポンプユニット(1)が、前記カップ形状の凹部内に挿入され得、前記ポンプユニット(1)が、搬送される流体のための入口(21)および出口(22)を有するポンプハウジング(2)と、前記ポンプハウジング(2)内に配置された、前記流体を搬送するための複数のベーン(103)を有するロータ(10)と、を有し、前記ロータ(10)が、前記軸方向(A)を中心として回転させられ得、前記ポンプユニット(1)が、前記ステータ(100)による前記ロータ(10)の非接触磁気浮上および前記ロータ(10)の非接触磁気駆動のために設計されており、前記ロータ(10)の前記ベーン(103)が、前記ロータ(10)の中央入口領域(25)の周りに配置されており、前記ロータ(10)が、前記入口(21)とは反対側に面する前記ロータ(10)の裏側から前記ロータ(10)の前記中央入口領域(25)の方向に誘導される再循環流(RF)を生成するための少なくとも1つのリリーフ開口部(104、104a)を備え、前記ロータ(10)が、前記中央入口領域(25)内に配置された分離要素(7)をさらに有し、前記分離要素(7)が、前記再循環流(RF)を前記軸方向(A)に対して垂直な半径方向に方向転換させる、ポンプユニットにおいて、前記ロータ(10)の前記複数のベーン(103)、前記分離要素(7)、および前記少なくとも1つのリリーフ開口部(104、104a)が、一体型ユニットとして設計されていることを特徴とする、ポンプユニット。
続きを表示(約 1,100 文字)
【請求項2】
前記ロータの前記中央入口領域(25)を前記ロータ(10)の前記裏側に接続する1つのリリーフ開口部(104)が、正確に設けられている、請求項1に記載のポンプユニット。
【請求項3】
いくつかのリリーフ開口部(104、104a)が、前記ロータの中心軸(M)の周りに配置されるように設けられており、各リリーフ開口部(104、104a)が、前記ロータの前記中央入口領域(25)を前記ロータ(10)の前記裏側に接続する、請求項1に記載のポンプユニット。
【請求項4】
前記ロータ(10)が、リング形状またはディスク形状の磁気的有効コア(101)と、前記磁気的有効コア(101)を完全に包囲する被覆材(102)と、を備え、前記被覆材(102)が、前記ベーン(103)と、前記分離要素(7)と、を備える一体型ユニットの構成要素である、請求項1から3のいずれか一項に記載のポンプユニット。
【請求項5】
前記分離要素(7)が、前記少なくとも1つのリリーフ開口部(104、104a)が前記入口から部分的に見えるように設計および配置されている、請求項1から4のいずれか一項に記載のポンプユニット。
【請求項6】
前記分離要素(7)が、分離板(71)と、取付けウェブ(72)と、を備え、前記分離板(71)が、最大で前記ロータ(10)の前記中央入口領域(25)の直径(D1)と同じ大きさである前記半径方向の最大外径(D2)を有し、前記取付けウェブ(72)が、前記分離板(71)を固定するように設計されている、請求項1から5のいずれか一項に記載のポンプユニット。
【請求項7】
前記分離板(71)の前記最大外径(D2)が、前記ロータ(10)の前記中央入口領域(25)の前記直径(D1)よりも小さい、請求項6に記載のポンプユニット。
【請求項8】
各取付けウェブ(72)が、前記分離板(7)から前記被覆材(102)まで延在し、前記再循環流(RF)のための半径方向開口部(73)が、いずれも隣接する取付けウェブ(72)間に設けられている、請求項4および請求項6または7に記載のポンプユニット。
【請求項9】
各取付けウェブ(72)が、前記分離板(71)の下側から前記軸方向(A)に前記被覆材(102)まで延在する、請求項8に記載のポンプユニット。
【請求項10】
各取付けウェブ(72)が、前記分離板(7)の外縁部に配置されておりかつ前記外縁部から前記半径方向に延在する、請求項8に記載のポンプユニット。
(【請求項11】以降は省略されています)
発明の詳細な説明
【技術分野】
【0001】
本発明は、独立請求項の前文による遠心ポンプ用のポンプユニットに関する。本発明はさらに、そのようなポンプユニットを有する遠心ポンプに関する。
続きを表示(約 2,800 文字)
【背景技術】
【0002】
ポンプユニットと、ポンプユニットのロータのための駆動ユニットとして設計されたステータと、を備える遠心ポンプが知られており、ここではポンプユニットのロータは、遠心ポンプの遠心ホイールを形成する。ロータは、接触することなく磁気的に支持され得、ポンプユニット内のステータによって接触することなく駆動されて軸方向を中心として回転することができる。このような遠心ポンプは、例えば、本出願人によってLevitronix(登録商標)BPSポンプという製品名で市販されている。
【0003】
ステータおよびロータは、電磁回転駆動装置を形成する。例えば、Levitronix(登録商標)BPSポンプでは、電磁回転駆動装置はベアリングレスモータの原理に従って設計されている。ベアリングレスモータという用語は、ロータをステータに対して完全に磁気的に支持することができる、別個の磁気軸受が設けられていない電磁回転駆動装置を指す。この目的のために、ステータは、電気駆動装置のステータおよび磁気軸受のステータの両方となる軸受・駆動ステータとして設計されている。ステータの電気巻線を用いて回転磁場を生成することができ、これは一方ではロータ上にトルクを及ぼし、これにより、軸方向によって画定された所望の回転軸を中心としたロータの回転がもたらされ、他方ではロータ上に任意に調整可能な横方向の力を及ぼし、その結果、ロータの半径方向位置を能動的に制御または調整することができる。したがって、ロータの3自由度、すなわちロータの回転およびロータの半径方向位置(2自由度)を能動的に調整することができる。さらなる3自由度、すなわち、ロータの軸方向の位置および所望の回転軸に対して垂直な半径方向平面に対する傾き(2自由度)に関して、ロータは、磁気抵抗力によって受動的に磁気的に支持または安定化され、すなわち、ロータは制御され得ない。ロータの完全な磁気軸受を有する別個の磁気軸受が存在しないことが、ベアリングレスモータにその名称を与える特性である。軸受・駆動ステータでは、軸受機能を駆動機能から分離することはできない。
【0004】
当然ながら、ロータが接触することなく磁気的に支持される遠心ポンプの他の設計、例えば、ロータに別個の磁気軸受が設けられ、その結果、磁気軸受機能が駆動機能から分離されるものも知られている。例えば、この目的のために別個のコイルが設けられ、それによってロータに対する軸受力のみが実現されるが、ロータの駆動には寄与しない。例えば、このような遠心ポンプは、国際公開第2022/004144号に開示されている。
【0005】
非接触で磁気的に支持され駆動されるロータ、例えばベアリングレスモータの原理に従って設計されかつ動作させられるロータを有する遠心ポンプは、多数の用途においてそれ自体が証明されている。機械的軸受が存在しないため、このような遠心ポンプは、例えば血液ポンプなどの非常に繊細な物質が搬送される用途、または例えば半導体産業、製薬産業、バイオテクノロジー産業における純度に関して非常に高い要求がなされる用途、または機械的軸受、例えばスラリ、硫酸、リン酸、もしくは半導体産業における他の化学物質用のポンプが非常に迅速に破壊され得る研磨性もしくは攻撃的な物質が搬送される用途に適している。
【0006】
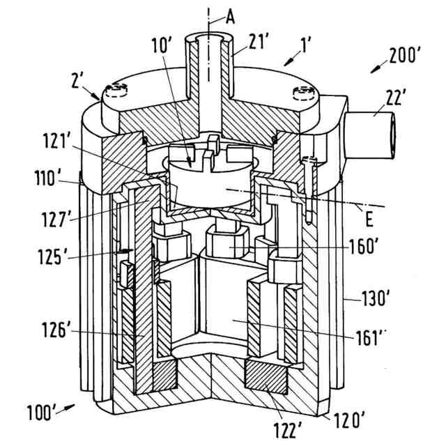
図1は、ベアリングレスモータの原理に従って設計された、最新技術から知られている遠心ポンプ200’の図を示す。これは、例えばLevitronix(登録商標)BPSポンプである。より良く理解するために、図1では、遠心ポンプ200’の内部が見えるようにセグメントが切り取られている。遠心ポンプ200’は、ステータ100’と、ポンプユニット1’と、を備える。
【0007】
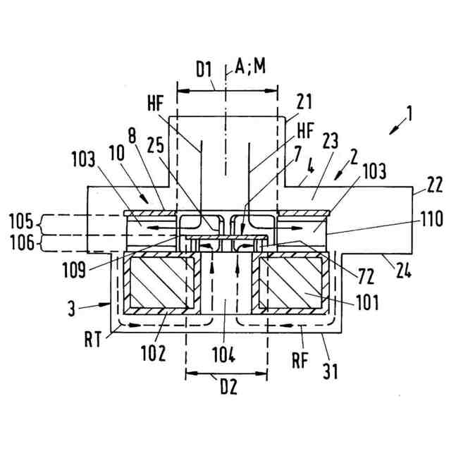
このタイプの遠心ポンプ200’に適したポンプユニット1’は、例えば欧州特許出願公開第2273124号明細書に開示されている。図2は、そのようなポンプユニット1’を断面図で示しており、断面は軸方向Aに沿っている。
【0008】
図1、図2の図が最新技術からのデバイスであることを示すために、参照符号は各々、ここでは逆コンマまたはダッシュでマークされている。遠心ポンプの全体が参照符号200’で指定されている。
【0009】
流体がそれによって搬送される遠心ホイールまたはインペラを形成するロータ10’が、ポンプユニット1’内に配置されている。ステータ100’は、ステータハウジング130’を有しかつ第1の軸方向端部110’から第2の軸方向端部120’まで軸方向Aに延在し、カップ形状の凹部121’が、第1の軸方向端部110’に設けられており、この凹部内にポンプユニット1’を挿入することができる。ステータ100’は、ロータ10’とともに、ロータ10’を軸方向Aを中心として回転させるための電磁回転駆動装置を形成する。ステータ100’は、ベアリングレスモータの原理に従ってロータ10’の非接触磁気軸受用に設計されている。この目的のために、ステータ100’は、軸受・駆動ステータとして設計されており、これによってロータ10’は、接触することなく磁気駆動されて軸方向Aを中心として回転させられ得、かつステータ100’に対して接触することなく磁気的に支持され得、ロータ10’は、軸方向Aに対して受動的に磁気的に安定化され、軸方向Aに対して垂直な半径方向平面内で能動的に磁気的に支持されており、この平面は、図1の線Eによって示されている。
【0010】
ステータ100’と、ロータ10’と、を有する電磁回転駆動装置は、いわゆるテンプルモータとして設計されている。ステータ100’は、複数のコイルコア125’、ここでは8つのコイルコア125’を備え、8つのコイルコア125’の各々は、図に従って図1では下端部にある第1の端部から軸方向Aに第2の端部まで延在する長手方向脚部126’と、長手方向脚部126’の第2の端部に半径方向平面E内に配置された横方向脚部127’と、を備える。各横方向脚部127’は、関連する長手方向脚部126’から半径方向にロータ10’に向かって延在し、半径方向内側に位置する端面によって境界付けられている。コイルコア126’は、周方向に関してカップ形状の凹部121’の周り、したがってロータ10’の周りに配置されており、したがって、ロータ10’は、コイルコア126’の横方向脚部127’の半径方向内側に位置する端面間に配置されている。
(【0011】以降は省略されています)
この特許をJ-PlatPat(特許庁公式サイト)で参照する
関連特許
個人
海流製造装置。
2か月前
株式会社スギノマシン
圧縮機
1か月前
株式会社ツインバード
送風装置
2か月前
ダイニチ工業株式会社
空調装置
5か月前
株式会社ツインバード
送風装置
2か月前
日機装株式会社
遠心ポンプ
1か月前
カヤバ株式会社
電動ポンプ
14日前
カヤバ株式会社
電動ポンプ
3か月前
株式会社不二越
蓄圧装置
3か月前
ビッグボーン株式会社
送風装置
2か月前
株式会社ノーリツ
ロータリ圧縮機
2か月前
株式会社ニクニ
液封式ポンプ装置
5か月前
株式会社酉島製作所
ポンプ
6か月前
株式会社酉島製作所
ポンプ
4か月前
個人
携帯型扇風機用の送風ノズル
5か月前
株式会社不二越
油圧ユニット
5か月前
株式会社ノーリツ
ロータリー圧縮機
4か月前
樫山工業株式会社
真空ポンプ
1か月前
株式会社坂製作所
スクロール圧縮機
4か月前
小倉クラッチ株式会社
ルーツブロア
3か月前
サンデン株式会社
可変容量型圧縮機
22日前
サンデン株式会社
スクロール圧縮機
1か月前
サンデン株式会社
スクロール圧縮機
1か月前
サンデン株式会社
スクロール圧縮機
1か月前
株式会社不二越
ベーンポンプ
3か月前
株式会社島津製作所
真空ポンプ
2か月前
株式会社アイシン
ポンプケース
1か月前
株式会社豊田自動織機
流体機械
2か月前
株式会社島津製作所
真空ポンプ
2か月前
個人
連結式螺旋翼体及び流体移送装置
5か月前
エドワーズ株式会社
真空ポンプ
1か月前
株式会社チロル
送風機、送風機付衣服
2か月前
株式会社コスメック
ピストン型ポンプ
5か月前
株式会社クボタ
作業機
15日前
株式会社豊田自動織機
電動圧縮機
2か月前
株式会社豊田自動織機
電動圧縮機
3か月前
続きを見る
他の特許を見る