TOP
|
特許
|
意匠
|
商標
特許ウォッチ
Twitter
他の特許を見る
10個以上の画像は省略されています。
公開番号
2025175549
公報種別
公開特許公報(A)
公開日
2025-12-03
出願番号
2024081718
出願日
2024-05-20
発明の名称
車両用空調装置
出願人
サンデン株式会社
代理人
個人
,
個人
,
個人
主分類
B60H
1/00 20060101AFI20251126BHJP(車両一般)
要約
【課題】 シート内部の構成を簡素にしつつ、乗員の快適性を向上させることが可能な車両用空調装置を提供する。
【解決手段】 車両用空調装置1は、車室2内に配置されるシート5の内部に設けられた空気の通路50と、通路50に空気を流通させる送風装置70と、シート5の前方下部領域58Aに設けられた前方下部通気孔と、通路50内に設けられ、暖房時において通路内50に流れる空気の一部を前方下部通気孔62Aに向かわせる指向板と、を有する。
【選択図】図14
特許請求の範囲
【請求項1】
車両用空調装置であって、
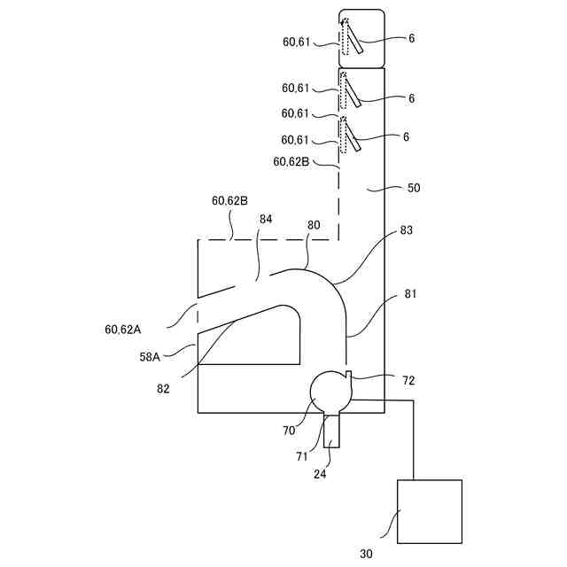
車室内に配置されるシートの内部に設けられ、該シートの下部に設けられた通風口と接続する空気の通路と、
前記通路に空気を流通させる送風装置と、
前記シートの前方下部領域に設けられた通気孔と、
前記通路内に設けられ、暖房時において前記通路内に流れる空気の一部を前記通気孔に向かわせる指向板と、を有する、
ことを特徴とする車両用空調装置。
続きを表示(約 640 文字)
【請求項2】
前記指向板は、前記通風口から上方に立上る起立部と、前記前方下部領域から後方且つ上方に向かう傾斜部と、該起立部と該傾斜部を接続する湾曲部を有し、前記傾斜部の一部に冷房時に空気が通過する開口を有する、
ことを特徴とする請求項1に記載の車両用空調装置。
【請求項3】
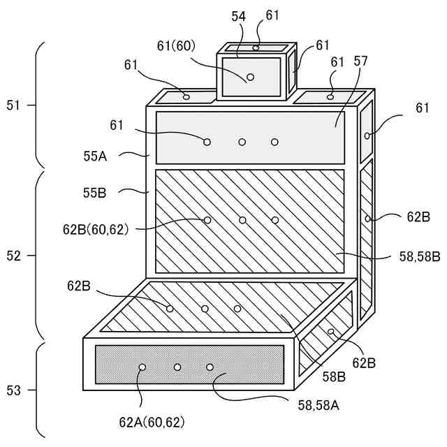
前記シートは前記前方下部領域以外の領域に他の通気孔を有し、
冷房時には、前記通気孔および前記他の通気孔を介して前記車室内の空気を前記シート内に取り込む冷房時空気流れを形成し、
暖房時には、前記通気孔および前記他の通気孔の一部を介して前記シート内の空気を前記車室内に排出する暖房時空気流れを形成する、
ことを特徴とする請求項1に記載の車両用空調装置。
【請求項4】
前記他の通気孔は、前記シートの上部の領域に設けられた上部通気孔を含み、
前記上部通気孔を開閉させる開閉手段を有し、
暖房時に前記開閉手段により前記上部通気孔を閉止する、
ことを特徴とする請求項3に記載の車両用空調装置。
【請求項5】
前記開閉手段は一方向の空気の通過により開放される手段である、
ことを特徴とする請求項4に記載の車両用空調装置。
【請求項6】
前記前方下部領域は、前記シートに着座する乗員の脹脛付近に対向する部位である、
ことを特徴とする請求項1に記載の車両用空調装置。
発明の詳細な説明
【技術分野】
【0001】
本発明は、車両用空調装置に関する。
続きを表示(約 1,700 文字)
【背景技術】
【0002】
従来、シート内に空気の通路を設け、冷房時には足元から空気を吸い込み、暖房時には足元から空気を吐き出す車両用空気調和システムが知られている(例えば、特許文献1参照)。
【先行技術文献】
【特許文献】
【0003】
特開2020-029241号公報
【発明の概要】
【発明が解決しようとする課題】
【0004】
しかしながら、特許文献1に記載の技術は、シートの内部に、風向を切り替えるための流入切替えダンパー、冷房用循環空気吐出口に設置された開閉ルーバー、暖房用循環空気吐出口に設置された開閉ルーバーなどの電装品を備えている。このため、シートの内部に配線が必須となり、シート内における断線の可能性が皆無ではない。また断線を防ぐための機構が必須であったり、シートを調整するための機構が複雑化する。
【0005】
さらにシート内に電装品や配線を配置するため、シートのサイズ及び重量が大きくなり、部品点数が増加する問題もある。
【0006】
また暖房時に足元に吹き出される空気は上昇しやすいため、乗員にとって足元の暖房が不十分と感じる場合も多い。
【0007】
本発明は、斯かる実情に鑑み、シート内部の構成を簡素にしつつ、乗員の快適性を向上させることが可能な車両用空調装置を提供しようとするものである。
【課題を解決するための手段】
【0008】
本発明は、車両用空調装置であって、車室内に配置されるシートの内部に設けられ、該シートの下部に設けられた通風口と接続する空気の通路と、前記通路に空気を流通させる送風装置と、前記シートの前方下部領域に設けられた通気孔と、前記通路内に設けられ、暖房時において前記通路内に流れる空気の一部を前記通気孔に向かわせる指向板と、を有する、ことを特徴とする車両用空調装置にかかるものである。
【発明の効果】
【0009】
本発明によれば、シート内部の構成を簡素にしつつ、乗員の快適性を向上させることが可能な車両用空調装置を提供できるという優れた効果を奏し得る。
【図面の簡単な説明】
【0010】
本発明の実施形態に係る車両用空調装置の全体構成を示す概略図である。
本発明の実施形態に係る車両用空調装置の構成の一部を示す概略図である。
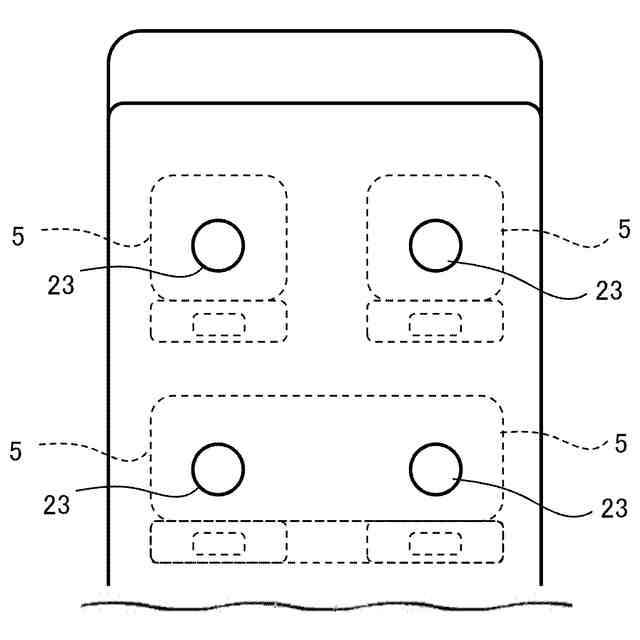
本発明の実施形態に係る車両用空調装置の構成の一部を示す平面概略図である。
本発明の実施形態に係るシートの構成を示す側面図、(B)斜視図である。
本発明の実施形態に係るシートの構成を示す斜視図である。
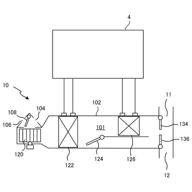
本発明の実施形態に係る車両用空調装置の構成を示すブロック図である。
本発明の実施形態に係る車両用空調装置の機能ブロック図である。
本発明の実施形態に係る車両用空調装置の冷房時における空気の流れの一例を示す概略図である。
本発明の実施形態に係る車両用空調装置の暖房時における空気の流れの一例を示す概略図である。
本発明の実施形態に係る車両用空調装置の暖房時におけるシートの通風状態を示す斜視図である。
本発明の実施形態に係る車両用空調装置の他の例を示す平面概略図である。
本発明の実施形態に係る車両用空調装置の冷房時における空気の流れの他の例を示す概略図である。
本発明の実施形態に係る車両用空調装置の暖房時における空気の流れの他の例を示す概略図である。
本発明の実施形態に係る車両用空調装置の他の例を示す図でありシートの概略側面図である。
本発明の実施形態に係る他の例の車両用空調装置における暖房時の空気の流れを示す概略図である。
本発明の実施形態に係る他の例の車両用空調装置における冷房時の空気の流れを示す概略図である。
【発明を実施するための形態】
(【0011】以降は省略されています)
この特許をJ-PlatPat(特許庁公式サイト)で参照する
関連特許
サンデン株式会社
モータ
今日
サンデン株式会社
モータ
今日
サンデン株式会社
電力変換装置
4か月前
サンデン株式会社
電力変換装置
4か月前
サンデン株式会社
電力変換装置
3か月前
サンデン株式会社
情報処理装置
1か月前
サンデン株式会社
車両用空調装置
6日前
サンデン株式会社
車両用空調装置
5か月前
サンデン株式会社
車両用空調装置
5か月前
サンデン株式会社
車両用空調装置
5か月前
サンデン株式会社
車両用空調装置
5か月前
サンデン株式会社
車両用空調装置
5か月前
サンデン株式会社
車両用空調装置
6日前
サンデン株式会社
車両用空調装置
6日前
サンデン株式会社
車両用空調装置
6日前
サンデン株式会社
インバータ装置
今日
サンデン株式会社
車両用空調装置
1日前
サンデン株式会社
車両用空調装置
1日前
サンデン株式会社
車両用空調装置
1日前
サンデン株式会社
車両用空調装置
6日前
サンデン株式会社
車両用熱管理装置
6日前
サンデン株式会社
可変容量型圧縮機
1か月前
サンデン株式会社
スクロール圧縮機
2か月前
サンデン株式会社
スクロール圧縮機
2か月前
サンデン株式会社
スクロール圧縮機
2か月前
サンデン株式会社
車両用空気調和装置
1か月前
サンデン株式会社
車両用空気調和装置
1か月前
サンデン株式会社
車両用空気調和装置
1か月前
サンデン株式会社
ヘリカルコンプレッサ
1日前
サンデン株式会社
ヘリカルコンプレッサ
1日前
サンデン株式会社
ヘリカルコンプレッサ
1日前
サンデン株式会社
横置型ロータリー圧縮機
5か月前
サンデン株式会社
横置型ロータリー圧縮機
5か月前
サンデン株式会社
熱マネジメントシステム
1か月前
サンデン株式会社
スクロール式コンプレッサ
2か月前
サンデン株式会社
車両用熱マネジメントシステム
2か月前
続きを見る
他の特許を見る