TOP
|
特許
|
意匠
|
商標
特許ウォッチ
Twitter
他の特許を見る
公開番号
2025176425
公報種別
公開特許公報(A)
公開日
2025-12-04
出願番号
2024082584
出願日
2024-05-21
発明の名称
インバータ装置
出願人
サンデン株式会社
代理人
個人
,
個人
,
個人
,
個人
主分類
H02M
7/48 20070101AFI20251127BHJP(電力の発電,変換,配電)
要約
【課題】周波数帯の異なる複数のノイズを低減できる小型かつ低コストのインバータ装置を提供する。
【解決手段】インバータ装置1は、複数のスイッチング素子Q1~Q6を有するインバータ回路11と、インバータ回路11の電源入力部に設けられるフィルタ回路12と、それらを収容する金属製の筐体13と、を備える。フィルタ回路12は、電源入力部を通る電源ラインPL1,PL2上に挿入されたコモンモードコイル12Aと、スイッチング素子Q2およびコモンモードコイル12Aを繋ぐ電源ラインPL2と筐体13との間に直列に接続された少なくとも1組のYコンデンサ12Bおよび抵抗12Cを含み、インバータ回路11から放出されるFM帯のノイズがコモンモードコイル12Aを含む第1経路を通り、かつ、AM帯のノイズがYコンデンサ12Bおよび抵抗12Cを含む第2経路を通るように構成されている。
【選択図】図2
特許請求の範囲
【請求項1】
車両用空気調和装置に備えられる機器を駆動するインバータ装置であって、
複数のスイッチング素子を有するインバータ回路と、
前記インバータ回路の電源入力部に設けられるフィルタ回路と、
前記インバータ回路および前記フィルタ回路を少なくとも収容する金属製の筐体と、を備え、
前記フィルタ回路は、
前記インバータ回路の電源入力部を通る電源ライン上に挿入されたコモンモードコイルと、
前記スイッチング素子および前記コモンモードコイルを繋ぐ前記電源ラインと前記筐体との間に直列に接続された少なくとも1組のYコンデンサおよび抵抗と、を含み、
前記インバータ回路から放出される周波数帯の異なる複数のノイズのうち、相対的に高い周波数帯のノイズが前記コモンモードコイルを含む第1経路を通り、かつ、相対的に低い周波数帯のノイズが前記Yコンデンサおよび前記抵抗を含む第2経路を通るように構成されていることを特徴とするインバータ装置。
続きを表示(約 69 文字)
【請求項2】
前記複数のノイズは、AM帯のノイズとFM帯のノイズとを含むことを特徴とする請求項1に記載のインバータ装置。
発明の詳細な説明
【技術分野】
【0001】
本発明は、車両用空気調和装置に備えられる機器を駆動するインバータ装置に関する。
続きを表示(約 2,500 文字)
【背景技術】
【0002】
一般に、車両用空気調和装置に備えられる機器を駆動するインバータ装置は、電源用スイッチング素子を備えている。インバータ装置のスイッチング素子がON/OFF動作することにより、その動作周波数の高調波がノイズとなって周囲に放射され、当該車両に搭載されているラジオ受信機などに雑音が生じることがある。このようなインバータ装置からの放射ノイズに対処するための従来技術として、電源ライン上にコモンモードコイルを実装したり、電源ラインと基準グランドになるインバータ装置の筐体等との間にYコンデンサを実装したりして放射ノイズを低減するフィルタ回路が周知である(例えば、特許文献1参照)。
【先行技術文献】
【特許文献】
【0003】
特開2023-110520号公報
【発明の概要】
【発明が解決しようとする課題】
【0004】
ところで、上記のようなインバータ装置から放射されるノイズは、例えば、AM帯およびFM帯などの異なる周波数帯に亘って発生する可能性がある。従来のフィルタ回路に使用されているコモンモードコイルは、相対的に低い周波数帯のノイズを低減するのに有効であり、コイルの巻き数を増やすことでそのノイズ低減効果を高めることができる。しかし、巻き数の増加により巻き線間の距離が近くなると、巻き線間の寄生容量が増加するため、相対的に高い周波数帯(FM帯など)のノイズに対してコイルとして機能し難くなり、ノイズを低減する性能が低下してしまう。異なる周波数帯に亘るノイズをコモンモードコイルにより効果的に低減するためには、それぞれの周波数帯に対応した別個のコモンモードコイルを複数用意する必要があり、サイズの増大およびコストの上昇などが課題となる。
【0005】
また、従来のフィルタ回路に使用されているYコンデンサについては、インバータ装置の電源ライン上を伝搬する異なる周波数帯に亘るノイズがYコンデンサを通過してインバータ装置の筐体(基準グランド)に流出する。筐体には、コネクタ等を介して電源ハーネスのシールド線が電気的に接続される場合がある。この場合、電源ハーネス内の電源ラインとシールド線との間で生じる浮遊静電容量に起因して、インバータ装置の筐体に流出したノイズが電源ハーネス内の電源ラインに帰還する可能性があり、この性質は相対的に高い周波数帯のノイズで特に顕著となる。したがって、異なる周波数帯に亘るノイズのうちで相対的に低い周波数帯のノイズは、Yコンデンサによりグランドに逃がすことができるものの、相対的に高い周波数帯のノイズは、インバータ装置の筐体を伝わり電源ハーネスのシールド線を介して電源ラインに帰還しやすくなってしまう。このような帰還経路を伝搬する高周波数帯のノイズは、コモンモードコイルを通ることがないため低減(チョーク)されずにインバータ装置の外部へ放射されることになり、ノイズレベルが悪化する要因になり得るという課題がある。
【0006】
本発明は上記の点に着目してなされたもので、周波数帯の異なる複数のノイズを低減できる小型かつ低コストのインバータ装置を提供することを目的とする。
【課題を解決するための手段】
【0007】
上記の目的を達成するため本発明の一態様は、車両用空気調和装置に備えられる機器を駆動するインバータ装置を提供する。このインバータ装置は、複数のスイッチング素子を有するインバータ回路と、前記インバータ回路の電源入力部に設けられるフィルタ回路と、前記インバータ回路および前記フィルタ回路を少なくとも収容する金属製の筐体と、を備える。前記フィルタ回路は、前記インバータ回路の電源入力部を通る電源ライン上に挿入されたコモンモードコイルと、前記スイッチング素子および前記コモンモードコイルを繋ぐ前記電源ラインと前記筐体との間に直列に接続された少なくとも1組のYコンデンサおよび抵抗と、を含み、前記インバータ回路から放出される周波数帯の異なる複数のノイズのうち、相対的に高い周波数帯のノイズが前記コモンモードコイルを含む第1経路を通り、かつ、相対的に低い周波数帯のノイズが前記Yコンデンサおよび前記抵抗を含む第2経路を通るように構成されている。
【発明の効果】
【0008】
上記のような本発明の一態様によれば、周波数帯の異なる複数のノイズを低減できる小型かつ低コストのインバータ装置を提供することが可能である。
【図面の簡単な説明】
【0009】
本発明の一実施形態に係るインバータ装置が適用された電動圧縮機の概略構成を示す図である。
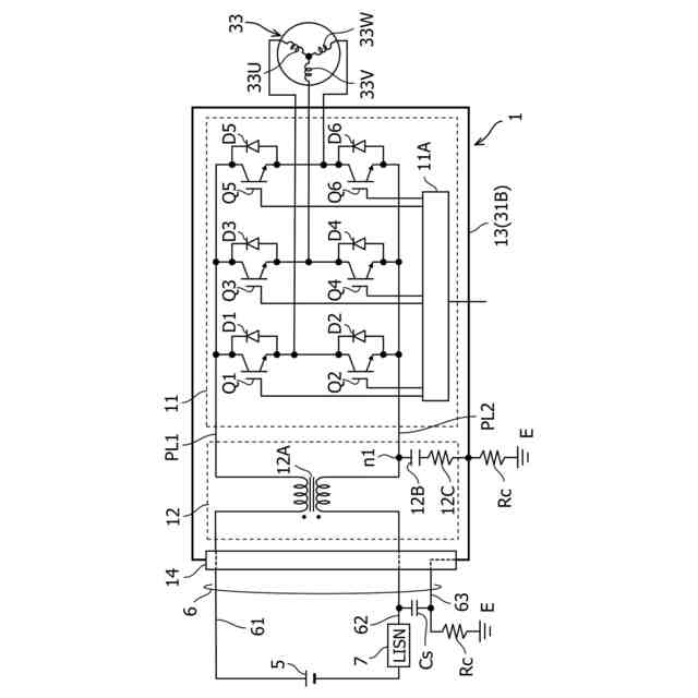
上記実施形態によるインバータ装置の構成例を示す回路図である。
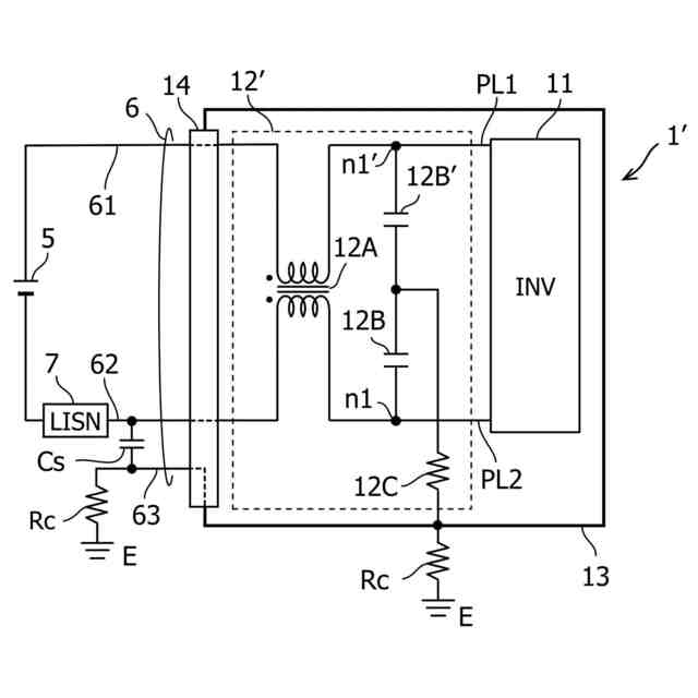
図2のインバータ装置におけるノイズの伝搬経路を説明する図である。
図2のインバータ装置におけるノイズの測定結果の一例を示す図である。
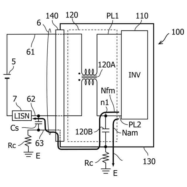
従来のフィルタ回路を用いたインバータ装置におけるノイズの伝搬経路を説明する図である。
上記実施形態に関連したフィルタ回路の変形例を示す回路図である。
上記実施形態に関連したフィルタ回路の別の変形例を示す回路図である。
【発明を実施するための形態】
【0010】
以下、本発明の実施形態について添付図面を参照しながら詳細に説明する。
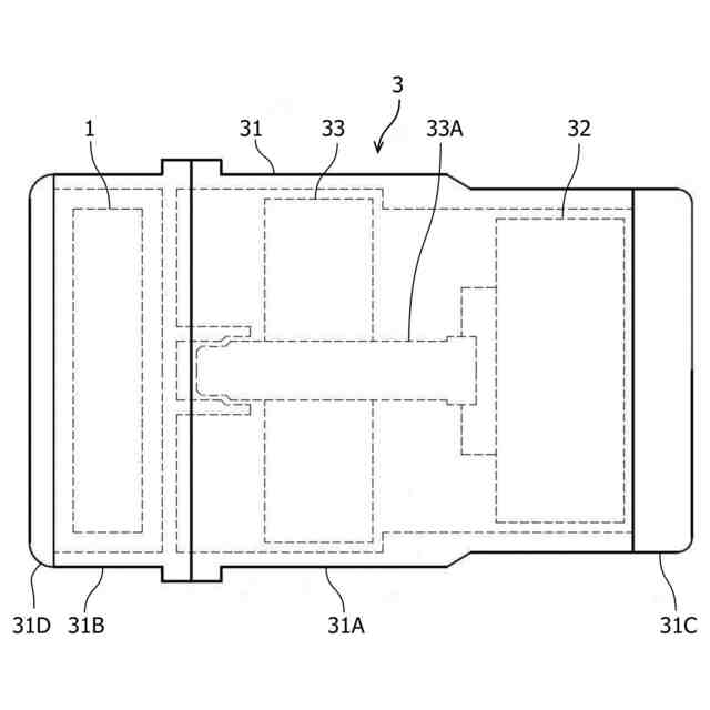
図1は、本発明の一実施形態に係るインバータ装置1が適用された電動圧縮機3の概略構成を示している。図1において、電動圧縮機3は、自動車等の車両に搭載された車両用空気調和装置に備えられる機器の一つである。電動圧縮機3は、金属製のハウジング31を有している。ハウジング31は、メインハウジング31A、インバータハウジング31Bおよび蓋部材31C,31Dを含み、これらが図示省略のボルトなどによって一体的に締結されて構成されている。
(【0011】以降は省略されています)
この特許をJ-PlatPat(特許庁公式サイト)で参照する
関連特許
サンデン株式会社
モータ
今日
サンデン株式会社
モータ
今日
サンデン株式会社
情報処理装置
1か月前
サンデン株式会社
電力変換装置
3か月前
サンデン株式会社
電力変換装置
4か月前
サンデン株式会社
車両用空調装置
1日前
サンデン株式会社
インバータ装置
今日
サンデン株式会社
車両用空調装置
6日前
サンデン株式会社
車両用空調装置
6日前
サンデン株式会社
車両用空調装置
6日前
サンデン株式会社
車両用空調装置
6日前
サンデン株式会社
車両用空調装置
6日前
サンデン株式会社
車両用空調装置
1日前
サンデン株式会社
車両用空調装置
1日前
サンデン株式会社
可変容量型圧縮機
1か月前
サンデン株式会社
スクロール圧縮機
2か月前
サンデン株式会社
車両用熱管理装置
6日前
サンデン株式会社
スクロール圧縮機
2か月前
サンデン株式会社
スクロール圧縮機
2か月前
サンデン株式会社
車両用空気調和装置
1か月前
サンデン株式会社
車両用空気調和装置
1か月前
サンデン株式会社
車両用空気調和装置
1か月前
サンデン株式会社
ヘリカルコンプレッサ
1日前
サンデン株式会社
ヘリカルコンプレッサ
1日前
サンデン株式会社
ヘリカルコンプレッサ
1日前
サンデン株式会社
熱マネジメントシステム
1か月前
サンデン株式会社
スクロール式コンプレッサ
2か月前
サンデン株式会社
車両用熱マネジメントシステム
2か月前
サンデン株式会社
車両用熱マネジメントシステム
2か月前
サンデン株式会社
車両用熱マネジメントシステム
2か月前
サンデン株式会社
車両用熱マネジメントシステム
2か月前
サンデン株式会社
車両用熱マネジメントシステム
2か月前
サンデン株式会社
充電制御システム及び配車管理システム
1か月前
サンデン株式会社
電動圧縮機用モータ及びそれを備えた電動圧縮機
2か月前
個人
電気を重力で発電装置
28日前
個人
高圧電気機器の開閉器
15日前
続きを見る
他の特許を見る