TOP
|
特許
|
意匠
|
商標
特許ウォッチ
Twitter
他の特許を見る
公開番号
2025158909
公報種別
公開特許公報(A)
公開日
2025-10-17
出願番号
2025002085
出願日
2025-01-07
発明の名称
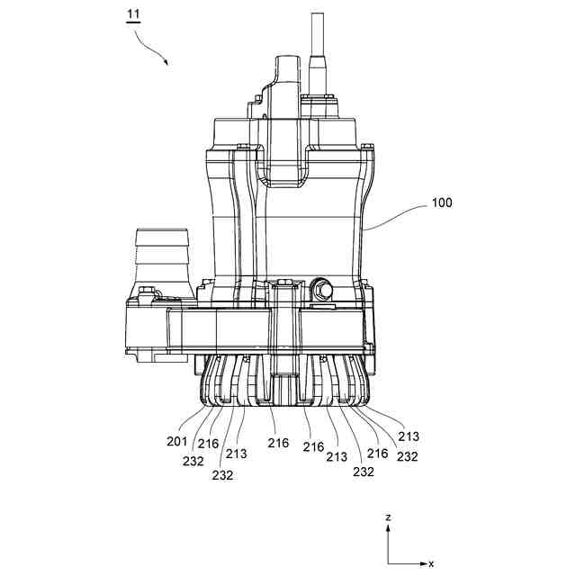
水中ポンプ
出願人
株式会社鶴見製作所
代理人
個人
,
個人
,
個人
主分類
F04D
13/08 20060101AFI20251009BHJP(液体用容積形機械;液体または圧縮性流体用ポンプ)
要約
【課題】水中ポンプ本体の運転を停止した後に水中ポンプ(ストレーナ)内部に残る水を軽減する水中ポンプを提供する。
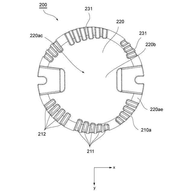
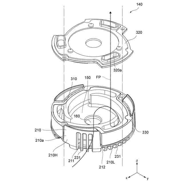
【解決手段】水中ポンプ10は、ポンプ本体100と、ポンプ本体100の吸込口160を覆うように配置されるストレーナ200と、を備え、ストレーナ200は、当該ストレーナ200の外周側面210aから少なくとも底面220bの一部まで延伸して形成されているスリット211及び212を有する。
【選択図】図3
特許請求の範囲
【請求項1】
ポンプ本体と、
前記ポンプ本体の吸込口を覆うように配置されるストレーナと、を備え、
前記ストレーナは、当該ストレーナの外周側面から少なくとも底面の一部まで延伸して形成されている開口部を有する、
水中ポンプ。
続きを表示(約 760 文字)
【請求項2】
前記ストレーナは、前記吸込口と対向し、外周部から中央部に向かうにつれて前記吸込口に近づくように傾斜する対向面を有する、
請求項1に記載の水中ポンプ。
【請求項3】
前記開口部は、複数のスリットによって形成されている、
請求項1に記載の水中ポンプ。
【請求項4】
前記複数のスリットは、前記ストレーナの外周側面において、前記底面に向かうにつれて幅が大きくなるように形成されている、
請求項3に記載の水中ポンプ。
【請求項5】
前記複数のスリットは、前記底面において、所定の幅を有して、外周部から中央部に向かって延伸するように形成されている、
請求項3に記載の水中ポンプ。
【請求項6】
前記複数のスリットは、前記底面において、隣接するスリットの長さが異なるように形成されている、
請求項5に記載の水中ポンプ。
【請求項7】
前記複数のスリットのうち、前記ポンプ本体において前記吸込口から吸い込まれた水を吐出し口まで導くように形成されている流路に対応する位置に形成されるスリットは、その他の位置に形成されるスリットよりも小さい、
請求項3に記載の水中ポンプ。
【請求項8】
前記ストレーナの外周側面に形成されている前記複数のスリットの開口領域は、内周表面に近づくにつれて拡大するように形成されている、
請求項3に記載の水中ポンプ。
【請求項9】
前記ストレーナは、2つの前記スリットの間に設けられ、前記外周側面の一部であって前記底面の反対側の当該一部が切り欠かれた切欠き部をさらに含む、
請求項3に記載の水中ポンプ。
発明の詳細な説明
【技術分野】
【0001】
本発明は、水中ポンプに関する。
続きを表示(約 1,000 文字)
【背景技術】
【0002】
従来、建設現場で湧水排水などの用途で用いられる水中ポンプがある。水中ポンプは、モータを駆動させることによって、釜場(水槽)に溜まった水を吸い上げて排水などを行うが、水を吸い込む際にポンプ本体における吸込口に異物が詰まらないように、当該吸込口を覆うストレーナを備えている。
【0003】
例えば、特許文献1では、ストレーナの側面に複数の同一径の孔が所定の配置で穿孔された開口部を備える水中ポンプが開示されている。そして、当該開口部では、相対的に下側の部分における孔の配置密度を、相対的に上側の部分における孔の配置密度よりも低くなるように設定することによって、孔の詰まりを防止しつつ、小異物の吸い込みを抑制している。
【先行技術文献】
【特許文献】
【0004】
特開2009-287468号公報
【発明の概要】
【発明が解決しようとする課題】
【0005】
しかしながら、特許文献1に開示されている水中ポンプでは、水中ポンプ本体の運転を停止した後、水中ポンプ(ストレーナ)内部に残る水などについて考慮されていない。
【0006】
例えば、ストレーナの底面に水抜き孔を設けることによって、水中ポンプ(ストレーナ)内部に残る水を排水することが考えられるが、水中ポンプを地面に設置すれば、当該孔が塞がれて十分に排水できないという問題がある。
【0007】
水中ポンプ(ストレーナ)内部に水が残れば、例えば、水を吸い込む際に水に含まれて水中ポンプ内部に侵入したセメント及び汚泥が固まって付着し、その結果、水中ポンプの排水機能が低下するおそれがある。
【0008】
そこで、本発明は、水中ポンプ本体の運転を停止した後に水中ポンプ(ストレーナ)内部に残る水を軽減する水中ポンプを提供することを目的とする。
【課題を解決するための手段】
【0009】
本発明の一態様に係る水中ポンプは、ポンプ本体と、ポンプ本体の吸込口を覆うように配置されるストレーナと、を備え、ストレーナは、当該ストレーナの外周側面から少なくとも底面の一部まで延伸して形成されている開口部を有する。
【0010】
上記態様において、ストレーナは、吸込口と対向し、外周部から中央部に向かうにつれて吸込口に近づくように傾斜する対向面を有してもよい。
(【0011】以降は省略されています)
この特許をJ-PlatPat(特許庁公式サイト)で参照する
関連特許
株式会社鶴見製作所
水中ポンプ
5日前
株式会社鶴見製作所
水中ポンプ
5日前
株式会社鶴見製作所
汚泥凝集装置
27日前
個人
海流製造装置。
1か月前
株式会社スギノマシン
圧縮機
13日前
ダイニチ工業株式会社
空調装置
4か月前
株式会社ツインバード
送風装置
1か月前
株式会社ツインバード
送風装置
1か月前
日機装株式会社
遠心ポンプ
5日前
カヤバ株式会社
電動ポンプ
2か月前
株式会社不二越
蓄圧装置
2か月前
ビッグボーン株式会社
送風装置
1か月前
株式会社ニクニ
液封式ポンプ装置
4か月前
株式会社酉島製作所
ポンプ
5か月前
株式会社酉島製作所
ポンプ
3か月前
株式会社ノーリツ
ロータリ圧縮機
1か月前
個人
携帯型扇風機用の送風ノズル
4か月前
樫山工業株式会社
真空ポンプ
14日前
サンデン株式会社
スクロール圧縮機
19日前
小倉クラッチ株式会社
ルーツブロア
2か月前
サンデン株式会社
スクロール圧縮機
19日前
株式会社不二越
ベーンポンプ
2か月前
株式会社坂製作所
スクロール圧縮機
3か月前
株式会社ノーリツ
ロータリー圧縮機
3か月前
サンデン株式会社
スクロール圧縮機
19日前
株式会社不二越
油圧ユニット
4か月前
個人
連結式螺旋翼体及び流体移送装置
4か月前
株式会社島津製作所
真空ポンプ
1か月前
株式会社チロル
送風機、送風機付衣服
1か月前
株式会社アイシン
ポンプケース
26日前
株式会社豊田自動織機
流体機械
1か月前
エドワーズ株式会社
真空ポンプ
27日前
株式会社島津製作所
真空ポンプ
1か月前
株式会社コスメック
ピストン型ポンプ
4か月前
株式会社豊田自動織機
電動圧縮機
1か月前
株式会社豊田自動織機
電動圧縮機
1か月前
続きを見る
他の特許を見る