TOP
|
特許
|
意匠
|
商標
特許ウォッチ
Twitter
他の特許を見る
公開番号
2025158679
公報種別
公開特許公報(A)
公開日
2025-10-17
出願番号
2024061461
出願日
2024-04-05
発明の名称
水中ポンプ
出願人
株式会社鶴見製作所
代理人
個人
,
個人
,
個人
主分類
F04D
13/08 20060101AFI20251009BHJP(液体用容積形機械;液体または圧縮性流体用ポンプ)
要約
【課題】羽根車及びポンプ室のメンテナンスに要する時間を短縮することが可能な水中ポンプを提供する。
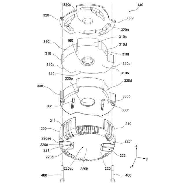
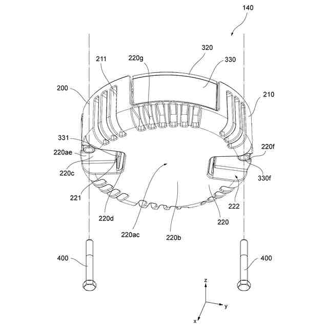
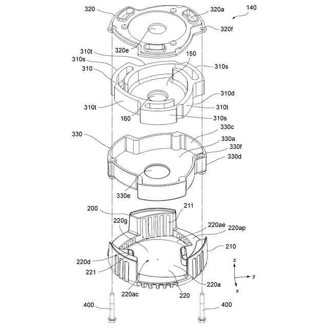
【解決手段】水中ポンプ10は、吸込口160を有し、当該吸込口から水を吸い込むための羽根車130が配置されるポンプ室150を形成するポンプケーシング310と、少なくとも2つの開口部221が形成された底部220を有し、吸込口160を覆うように配置されるストレーナ200と、ポンプケーシング310を覆うように、ストレーナ200とポンプケーシング310との間に配置され、少なくとも2つの開口部221からそれぞれ突出する少なくとも2つの突起部331を有するサクションカバー330と、を備える。
【選択図】図4
特許請求の範囲
【請求項1】
吸込口を有し、当該吸込口から水を吸い込むための羽根車が配置されるポンプ室を形成するポンプケーシングと、
少なくとも2つの開口部が形成された底部を有し、前記吸込口を覆うように配置されるストレーナと、
前記ポンプケーシングを覆うように、前記ストレーナと前記ポンプケーシングとの間に配置され、前記少なくとも2つの開口部からそれぞれ突出する少なくとも2つの突起部を有するサクションカバーと、を備える、
水中ポンプ。
続きを表示(約 890 文字)
【請求項2】
前記ストレーナの前記底部は、第1底面と、前記開口部から外周部にかけて当該第1底面より凹んでいる第2底面と、を含む、
請求項1に記載の水中ポンプ。
【請求項3】
前記ストレーナの前記底部は、前記第1底面と前記第2底面との段差において、中央部に対向するように形成される側面をさらに含む、
請求項2に記載の水中ポンプ。
【請求項4】
前記サクションカバーの前記突起部は、前記ストレーナの前記側面に沿って前記開口部から突出している、
請求項3に記載の水中ポンプ。
【請求項5】
前記サクションカバーの少なくとも2つの前記突起部は、前記ストレーナの前記底部の中央部に対向するように形成されている、
請求項1に記載の水中ポンプ。
【請求項6】
前記サクションカバーの少なくとも2つの前記突起部は、それぞれ対向するように形成されている、
請求項1に記載の水中ポンプ。
【請求項7】
前記サクションカバーの前記突起部の肉厚は、前記サクションカバーの他の部分の肉厚よりも厚い、
請求項1に記載の水中ポンプ。
【請求項8】
前記サクションカバーの前記突起部は、前記ストレーナの前記底部の中央部に向かって凹んでいる凹部を含む、
請求項1に記載の水中ポンプ。
【請求項9】
前記サクションカバー及び前記ポンプケーシングの各々は、コップ形状を有し、
前記サクションカバーの内側の側面と前記ポンプケーシングの外側の側面とは、当接している、
請求項1に記載の水中ポンプ。
【請求項10】
前記ポンプケーシングの前記外側の側面の一部は、前記サクションカバーの底部に対して直交する方向に延在しており、
前記サクションカバーの前記内側の側面は、前記サクションカバーの底部に近づくにつれて先細るテーパ状になっている、
請求項9に記載の水中ポンプ。
(【請求項11】以降は省略されています)
発明の詳細な説明
【技術分野】
【0001】
本発明は、水中ポンプに関する。
続きを表示(約 1,200 文字)
【背景技術】
【0002】
従来、建設現場で湧水排水などの用途で用いられる水中ポンプがある。水中ポンプは、モータを駆動させることによって、釜場(水槽)に溜まった水を吸い上げて排水などを行うが、水を吸い込むための羽根車と、羽根車が格納されるポンプ室を形成するポンプケーシングと、水を吸い込む際にポンプ室における吸込口に異物が詰まらないように、当該吸込口を覆うストレーナと、を備えている。
【0003】
例えば、特許文献1では、ポンプケーシングは中間ケーシングと下部ケーシングとに分割され、中間ケーシングは、ボルトによってモータに取付けられる。ストレーナは、下部ケーシングの外周に隙間狭く内接して、下部ケーシングの側面全体を囲むようにして取付けられる。ストレーナ及び下部ケーシングを下側より支える底板の下方より、ボルトが、下部ケーシングの穴を貫通して延び、中間ケーシングにねじ込まれる。これにより下部ケーシング、ストレーナ及び底板を一括して取付けるようになっている。
【先行技術文献】
【特許文献】
【0004】
特開平7-208383号公報
【発明の概要】
【発明が解決しようとする課題】
【0005】
しかしながら、特許文献1に開示されている水中ポンプでは、ボルトを外してから底板を外し、その後ストレーナ及び下部ケーシングを取り外すことで、ポンプ室及び羽根車が露出する。このため、ポンプ室及び羽根車の確認、清掃又は交換などのメンテナンスに時間がかかるという課題がある。
【0006】
そこで、本発明は、羽根車及びポンプ室のメンテナンスに要する時間を短縮することが可能な水中ポンプを提供することを目的とする。
【課題を解決するための手段】
【0007】
本発明の一態様に係る水中ポンプは、吸込口を有し、当該吸込口から水を吸い込むための羽根車が配置されるポンプ室を形成するポンプケーシングと、少なくとも2つの開口部が形成された底部を有し、吸込口を覆うように配置されるストレーナと、ポンプケーシングを覆うように、ストレーナとポンプケーシングとの間に配置され、少なくとも2つの開口部からそれぞれ突出する少なくとも2つの突起部を有するサクションカバーと、を備える。
【0008】
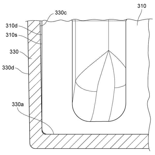
上記態様において、ストレーナの底部は、第1底面と、開口部から外周部にかけて当該第1底面より凹んでいる第2底面と、を含んでもよい。
【0009】
上記態様において、ストレーナの底部は、第1底面と第2底面との段差において、中央部に対向するように形成される側面をさらに含んでもよい。
【0010】
上記態様において、サクションカバーの突起部は、ストレーナの側面に沿って開口部から突出していてもよい。
(【0011】以降は省略されています)
この特許をJ-PlatPat(特許庁公式サイト)で参照する
関連特許
株式会社鶴見製作所
水中ポンプ
1か月前
株式会社鶴見製作所
水中ポンプ
1か月前
個人
海流製造装置。
2か月前
株式会社スギノマシン
圧縮機
1か月前
株式会社ツインバード
送風装置
2か月前
株式会社ツインバード
送風装置
2か月前
カヤバ株式会社
電動ポンプ
3か月前
日機装株式会社
遠心ポンプ
1か月前
カヤバ株式会社
電動ポンプ
15日前
ビッグボーン株式会社
送風装置
2か月前
株式会社不二越
蓄圧装置
3か月前
株式会社ノーリツ
ロータリ圧縮機
2か月前
株式会社不二越
ベーンポンプ
3か月前
サンデン株式会社
可変容量型圧縮機
23日前
小倉クラッチ株式会社
ルーツブロア
3か月前
樫山工業株式会社
真空ポンプ
1か月前
サンデン株式会社
スクロール圧縮機
1か月前
サンデン株式会社
スクロール圧縮機
1か月前
サンデン株式会社
スクロール圧縮機
1か月前
株式会社島津製作所
真空ポンプ
2か月前
株式会社豊田自動織機
流体機械
2か月前
株式会社アイシン
ポンプケース
1か月前
株式会社チロル
送風機、送風機付衣服
2か月前
株式会社島津製作所
真空ポンプ
2か月前
エドワーズ株式会社
真空ポンプ
1か月前
株式会社クボタ
作業機
16日前
株式会社豊田自動織機
電動圧縮機
2か月前
株式会社ナノバブル研究所
気液駆動装置
1か月前
株式会社豊田自動織機
電動圧縮機
3か月前
已久工業股ふん有限公司
空気圧縮機構造
3か月前
株式会社豊田自動織機
電動圧縮機
3か月前
NTN株式会社
電動オイルポンプ
1か月前
株式会社豊田自動織機
電動圧縮機
2か月前
株式会社豊田自動織機
電動圧縮機
3か月前
株式会社豊田自動織機
電動圧縮機
3か月前
株式会社豊田自動織機
電動圧縮機
2か月前
続きを見る
他の特許を見る