TOP
|
特許
|
意匠
|
商標
特許ウォッチ
Twitter
他の特許を見る
公開番号
2025139653
公報種別
公開特許公報(A)
公開日
2025-09-29
出願番号
2024038599
出願日
2024-03-13
発明の名称
チェックバルブ
出願人
カヤバ株式会社
代理人
個人
主分類
F16F
9/34 20060101AFI20250919BHJP(機械要素または単位;機械または装置の効果的機能を生じ維持するための一般的手段)
要約
【課題】通過する液体の流れに与える抵抗を低減しつつも異音の発生を抑制できるチェックバルブを提供する。
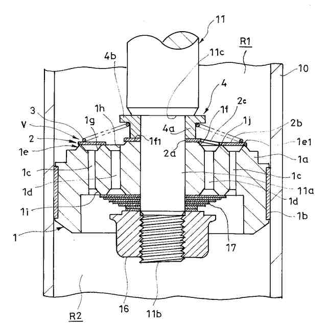
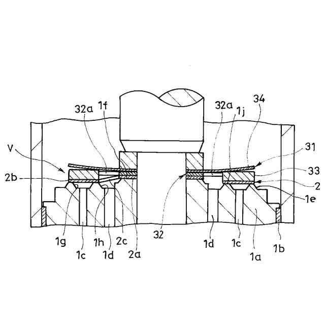
【解決手段】本発明のチェックバルブVは、圧側ポート(ポート)1cと、圧側ポート(ポート)1cの出口端の外周に配置されて圧側ポート(ポート)1cを取り囲む環状の弁座1eと、圧側ポート(ポート)1cの出口端の内周側に配置される環状の内周シート部1fとを有するピストン(弁座部材)1と、環状であって、内周が内周シート部1fに重ねられるとともに外周側の撓みが許容されて、弁座1eに離着座可能なリーフバルブ2と、リーフバルブ2をピストン(弁座部材)1に向けて付勢する円錐コイルばね(付勢部材)3とを備え、ピストン(弁座部材)1の軸方向で弁座1eの高さが内周シート部1fよりも低い。
【選択図】 図2
特許請求の範囲
【請求項1】
ポートと、前記ポートの出口端の外周に配置されて前記ポートを取り囲む環状の弁座と、前記ポートの出口端の内周側に配置される環状の内周シート部とを有する弁座部材と、
環状であって、内周が前記内周シート部に重ねられるとともに外周側の撓みが許容されて、前記弁座に離着座可能なリーフバルブと、
前記リーフバルブを前記弁座部材に向けて付勢する付勢部材とを備え、
前記弁座部材の軸方向で前記弁座の高さが前記内周シート部よりも低い
ことを特徴とするチェックバルブ。
続きを表示(約 450 文字)
【請求項2】
前記リーフバルブは、周方向で不均一な剛性を有する
ことを特徴とする請求項1に記載のチェックバルブ。
【請求項3】
前記リーフバルブの内周は、前記内周シート部に固定される
ことを特徴とする請求項1に記載のチェックバルブ。
【請求項4】
前記リーフバルブは、
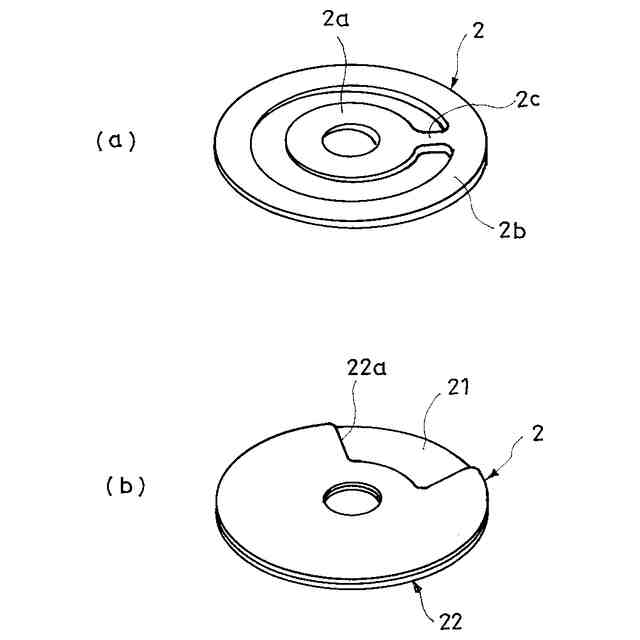
前記内周シート部に重ねられる内環と、
前記内環の外周側に配置されて前記弁座に着座すると前記ポートの出口端を閉塞可能な外環と、
前記内環と前記外環とを接続する1つ以上の腕とを有する
ことを特徴とする請求項2に記載のチェックバルブ。
【請求項5】
前記リーフバルブは、
周方向で180度の範囲内にのみ前記腕を有する
ことを特徴とする請求項3に記載のチェックバルブ。
【請求項6】
前記リーフバルブは、
前記腕を1つのみ有している
ことを特徴とする請求項3に記載のチェックバルブ。
発明の詳細な説明
【技術分野】
【0001】
本発明は、チェックバルブに関する。
続きを表示(約 1,500 文字)
【背景技術】
【0002】
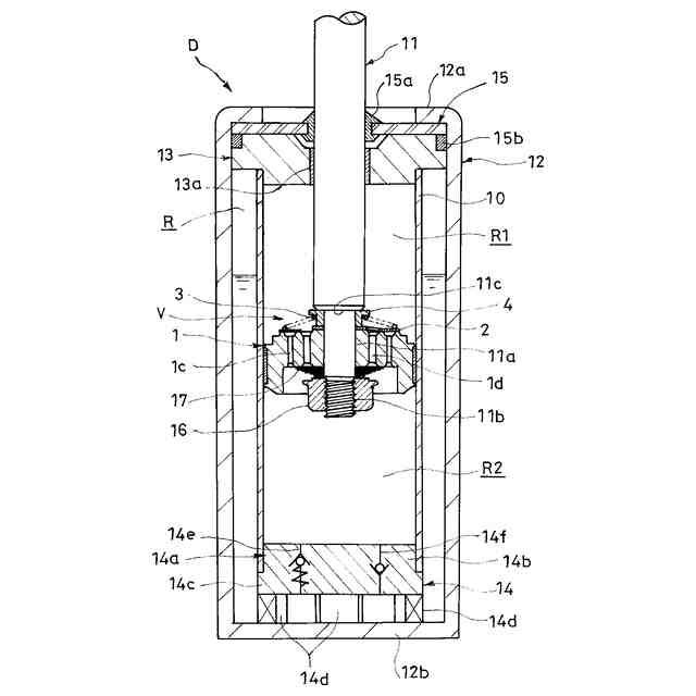
チェックバルブは、たとえば、車両における車体と車輪との間に介装されて伸縮時に減衰力を発生する緩衝器のピストン部に設けられて使用される。このようなチェックバルブは、具体的には、緩衝器内に収容されてシリンダ内を伸側室と圧側室とに区画するピストンを弁座部材として、ピストンの伸側室側に配置される環状のリーフバルブと、リーフバルブをピストンに向けて付勢するコイルばねとを備えており、ピストンに設けられるポートを取り囲む環状の弁座に離着座して前記ポートを開閉する。
【0003】
また、チェックバルブは、緩衝器の収縮作動時にポートを介して作用する圧側室の圧力を受けて、リーフバルブが弁座から離間してポートを開いて圧側室から伸側室へ向かう作動油の流れを許容するが、開弁時に作動油の流れに抵抗を与えると高速で緩衝器が収縮する際に伸側室が大気圧以下になる可能性がある。そのため、チェックバルブには、開弁時に可能な限り作動油の流れに抵抗を与えないことが求められる。
【0004】
このような要望に応えるため、チェックバルブでは、リーフバルブの内周を固定せずに、たとえば、リーフバルブを筒状のガイドの外周に摺動可能に装着することでピストンからリーフバルブの全体が遠近できるようにして、開弁時にポートの出口端を大きく開放して作動油の流れに与える抵抗をごく小さくするものがある(たとえば、特許文献1参照)。
【先行技術文献】
【特許文献】
【0005】
実開平6-69476号公報
【発明の概要】
【発明が解決しようとする課題】
【0006】
このように構成されたチェックバルブは、開弁時にリーフバルブの全体がピストンから離間してポートを大きく開放でき、作動油の流れに与える抵抗を低減できる点で有利であるが、その一方で、開弁時にリーフバルブがピストンに対して斜めに傾いた姿勢になるとリーフバルブとガイドとの間にスティックスリップが生じて異音が発生する可能性がある。
【0007】
そこで、本発明は、通過する液体の流れに与える抵抗を低減しつつも異音の発生を抑制できるチェックバルブの提供を目的としている。
【課題を解決するための手段】
【0008】
前記課題を解決するため、本発明のチェックバルブは、ポートと、ポートの出口端の外周に配置されてポートを取り囲む環状の弁座と、ポートの出口端の内周側に配置される環状の内周シート部とを有する弁座部材と、環状であって、内周が内周シート部に重ねられるとともに外周側の撓みが許容されて、弁座に離着座可能なリーフバルブと、リーフバルブを弁座部材に向けて付勢する付勢部材とを備え、弁座部材の軸方向で弁座の高さが内周シート部よりも低くなっている。
【0009】
このように構成されたチェックバルブによれば、リーフバルブの内周が重ねられる内周シート部よりもリーフバルブの外周が着座する弁座の方が低くなっているので、開弁すると弁座とリーフバルブとの間に大きな隙間を生じさせて液体の流れに与える抵抗を低減でき、さらに、リーフバルブの全体が弁座から離間して開弁すると平らになるのでスティックスリップの発生が抑制される。
【0010】
さらに、チェックバルブにおけるリーフバルブが周方向で不均一な剛性を備えていてもよい。このように構成されたチェックバルブによれば、リーフバルブの周方向で剛性が高い部分から徐々に開弁するため、開弁時に弁座部材を挟んだ2つの室に急激な圧力変動を生じさせずに2つの室同士を速やかに連通させることができる。
(【0011】以降は省略されています)
この特許をJ-PlatPat(特許庁公式サイト)で参照する
関連特許
カヤバ株式会社
減圧弁
1か月前
カヤバ株式会社
緩衝器
1か月前
カヤバ株式会社
緩衝器
1か月前
カヤバ株式会社
ミキサ車
1か月前
カヤバ株式会社
ミキサ車
1か月前
カヤバ株式会社
ミキサ車
1か月前
カヤバ株式会社
防水構造
1か月前
カヤバ株式会社
ギヤポンプ
1か月前
カヤバ株式会社
展開デッキ
1か月前
カヤバ株式会社
電動ポンプ
1か月前
カヤバ株式会社
ギヤポンプ
1か月前
カヤバ株式会社
電動ポンプ
8日前
カヤバ株式会社
ギヤポンプ
1か月前
カヤバ株式会社
苗木抜出装置
1か月前
カヤバ株式会社
苗木植付装置
1か月前
カヤバ株式会社
高所作業装置
1か月前
カヤバ株式会社
苗木植付装置
1か月前
カヤバ株式会社
苗木植付装置
1か月前
カヤバ株式会社
苗木植付装置
1か月前
カヤバ株式会社
シリンダ装置
9日前
カヤバ株式会社
苗木植付装置
1か月前
カヤバ株式会社
筒部材及び緩衝器
1か月前
カヤバ株式会社
筒型リニアモータ
1か月前
カヤバ株式会社
回転機の製造方法
1か月前
カヤバ株式会社
筒部材及び緩衝器
1か月前
カヤバ株式会社
筒部材及び緩衝器
1か月前
カヤバ株式会社
ポンプの取付構造
1か月前
カヤバ株式会社
ブッシュ及び液圧回転機
1か月前
カヤバ株式会社
ステアバイワイヤユニット
1か月前
カヤバ株式会社
ミキサ車及び状態検出装置
1か月前
カヤバ株式会社
ミキサドラムのシール構造
1か月前
カヤバ株式会社
ソレノイドバルブおよび緩衝器
1か月前
カヤバ株式会社
ソレノイドバルブおよび緩衝器
1か月前
カヤバ株式会社
モータ制御装置、及びプログラム
1か月前
カヤバ株式会社
ダンパ減衰力特性生成装置、ダンパ提示装置、及びプログラム
1か月前
個人
留め具
1か月前
続きを見る
他の特許を見る