TOP
|
特許
|
意匠
|
商標
特許ウォッチ
Twitter
他の特許を見る
10個以上の画像は省略されています。
公開番号
2025154637
公報種別
公開特許公報(A)
公開日
2025-10-10
出願番号
2024057752
出願日
2024-03-29
発明の名称
苗木抜出装置
出願人
カヤバ株式会社
代理人
弁理士法人グランダム特許事務所
主分類
A01C
11/00 20060101AFI20251002BHJP(農業;林業;畜産;狩猟;捕獲;漁業)
要約
【課題】簡易な構成によってコンテナから苗木を抜き出すことができる苗木抜出装置を提供する。
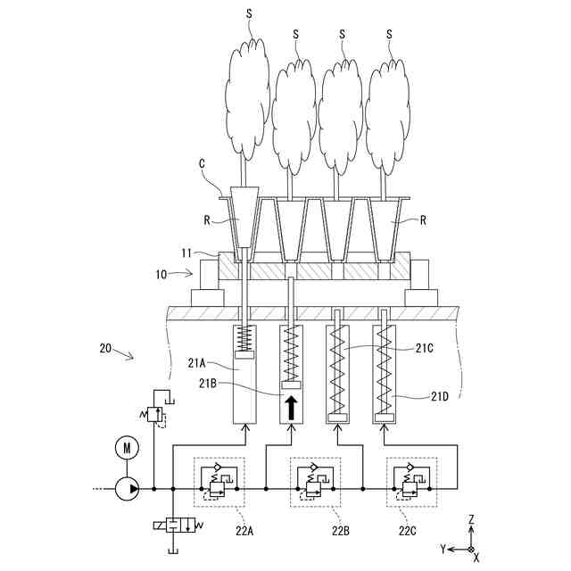
【解決手段】苗木抜出装置20は、苗木Sを収容する複数の育成孔Hを配列形成したコンテナCから苗木Sを抜き出す。苗木抜出装置20は押出部(アクチュエータ21A,21B,21C,21D、シーケンス弁22A,22B,22C)を備えている。押出部は、複数の育成孔Hのそれぞれから苗木Sを押し出す。押出部はアクチュエータ21A,21B,21C,21Dを有する。アクチュエータ21A,21B,21C,21Dは、苗木配置部10の下方に配置されて苗木Sを育成孔Hから上方に押し出す力を苗木Sに付与する。そして、苗木配置部10は、複数の育成孔Hが列毎にアクチュエータ21A,21B,21C,21Dの上方を順次通過するように、コンテナCを移動させる。
【選択図】図6
特許請求の範囲
【請求項1】
苗木を収容する複数の育成孔を配列形成したコンテナから前記苗木を抜き出す苗木抜出装置であって、
前記コンテナを配置する苗木配置部と、
複数の前記育成孔のそれぞれから前記苗木を押し出す押出部と、
を備えており、
前記押出部は、前記苗木配置部の下方に配置されて前記苗木を前記育成孔から上方に押し出す力を前記苗木に付与するアクチュエータを有しており、
前記苗木配置部は、複数の前記育成孔が列毎に前記アクチュエータの上方を順次通過するように、前記コンテナを移動させる、苗木抜出装置。
続きを表示(約 250 文字)
【請求項2】
前記押出部は、流体圧式の複数の前記アクチュエータと、複数の前記アクチュエータよりも1つ少ない数の複数のシーケンス弁と、を有しており、
複数の前記シーケンス弁は、各前記アクチュエータに流体圧を供給する流路に直列に配置されており、
複数の前記アクチュエータのうち、1つは、前記流路における最も上流側に配置された前記シーケンス弁よりも上流側の前記流路に接続されており、他は、各前記シーケンス弁の下流側の前記流路にそれぞれ接続されている、請求項1に記載の苗木抜出装置。
発明の詳細な説明
【技術分野】
【0001】
本発明は苗木抜出装置に関する。
続きを表示(約 3,100 文字)
【背景技術】
【0002】
特許文献1は苗木植付装置を開示している。この装置は、苗木を地面に植え付けるにあたり、植え付け前の苗木を架台上に配置する。
【先行技術文献】
【特許文献】
【0003】
国際公開第2016/171111号
【発明の概要】
【発明が解決しようとする課題】
【0004】
この種の苗木植付装置において、植え付け対象の苗木は、苗木育成用のマルチキャビティーコンテナ(以下、単にコンテナと表記する)から抜き取られたものが使用される。コンテナからの苗木の抜き取りは、通常、人手で行われる。しかし、コンテナ内の苗木は、根鉢がコンテナの育成孔の内壁に密着しているため、人手で抜き出すことは容易でない。また、市販のコンテナ苗抜き取り機を使用して苗木の抜き取りを行うことも考えられる。このような苗木の抜き取り機は、コンテナ上の多くの育成孔内の苗木を抜き出すために比較的大きな力を発生させる必要があり、装置が大がかりになってしまう。
【0005】
本発明は、上記従来の実情に鑑みてなされたものであって、簡易な構成によってコンテナから苗木を抜き出すことができる苗木抜出装置を提供することを解決すべき課題としている。
【課題を解決するための手段】
【0006】
本発明に係る苗木抜出装置は、苗木を収容する複数の育成孔を配列形成したコンテナから苗木を抜き出す。苗木抜出装置は、苗木配置部及び押出部を備えている。苗木配置部はコンテナを配置する。押出部はアクチュエータを有する。アクチュエータは、苗木配置部の下方に配置されて苗木を育成孔から上方に押し出す力を苗木に付与する。そして、苗木配置部は、複数の育成孔が列毎にアクチュエータの上方を順次通過するように、コンテナを移動させる。
【0007】
このような構成によって、苗木抜出装置は、コンテナ内の苗木を押し出すための力を出力するにあたり、全ての苗木を一度に押し出す場合と比較して小さな出力とすることができる。このため、苗木抜出装置は、複数の苗木を同時に押し出す場合のような大出力に対する耐久性を必要とせず、構造の簡略化を図ることができる。また、苗木抜出装置は、一回当たりの出力を小さくできるので、コンテナに作用する力も抑えることができる。その結果、苗木抜出装置は、複数の苗木を同時に押し出す場合と比較して、コンテナの変形、損傷等を抑制できる。また、苗木配置部は、複数の育成孔が列毎にアクチュエータの上方を順次通過するように、コンテナを移動させる。このため、苗木抜出装置は、育成孔1つにつきアクチュエータを1つずつ設ける場合と比較して、アクチュエータの数を抑制でき、構成の簡素化を図ることができる。
【0008】
また、苗木抜出装置において、押出部は流体圧式の複数のアクチュエータと、これら複数のアクチュエータよりも1つ少ない数の複数のシーケンス弁と、を有し得る。そして、複数のシーケンス弁は、各アクチュエータに流体圧を供給する流路に直列に配置されており、複数のアクチュエータのうち、1つは、流路における最も上流側に配置されたシーケンス弁よりも上流側の前記流路に接続されており、他は、各シーケンス弁の下流側の流路にそれぞれ接続されている。この場合、苗木抜出装置は、複数の苗木の1つずつの抜き出しを簡易な構成によって実現できる。
【図面の簡単な説明】
【0009】
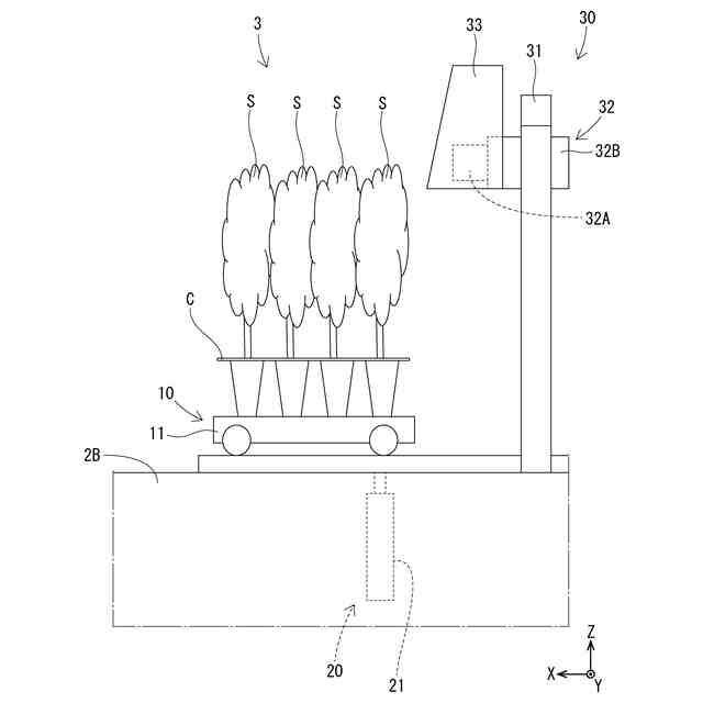
実施形態1に係る苗木植付装置を模式的に示す側面図である。
実施形態1に係る苗木植付装置を模式的に示す背面図である。
実施形態1に係る苗木取出ユニットを模式的に示す側面図である。
実施形態1に係る苗木取出ユニットを模式的に示す平面図である。
実施形態1に係る苗木植付装置に用いられるコンテナの例を模式的に示す斜視図である。
実施形態1に係る苗木抜出装置を説明するための図である。
実施形態1に係る苗木植付ユニットを模式的に示す側面図である。
実施形態1に係る姿勢保持部を説明するための図(その1)である。
実施形態1に係る姿勢保持部を説明するための図(その2)である。
実施形態1に係る姿勢保持部を説明するための図(その3)である。
実施形態1に係る姿勢保持部を説明するための図(その4)である。
実施形態1に係る苗木植付装置の動作を説明するための図(その1)である。
実施形態1に係る苗木植付装置の動作を説明するための図(その2)である。
実施形態1に係る苗木植付装置の動作を説明するための図(その3)である。
実施形態1に係る苗木植付装置の動作を説明するための図(その4)である。
実施形態1に係る苗木植付装置の動作を説明するための図(その5)である。
実施形態1に係る苗木植付装置の動作を説明するための図(その6)である。
実施形態1に係る苗木植付装置の動作を説明するための図(その7)である。
実施形態1に係る苗木植付装置の動作を説明するための図(その8)である。
実施形態1に係る苗木植付装置の動作を説明するための図(その9)である。
実施形態1に係る苗木植付装置の動作を説明するための図(その10)である。
実施形態1に係る苗木植付装置の動作を説明するための図(その11)である。
実施形態1に係る苗木植付装置の動作を説明するための図(その12)である。
実施形態1に係る苗木植付装置の動作を説明するための図(その13)である。
実施形態1に係る苗木植付装置の動作を説明するための図(その14)である。
実施形態2に係る苗木植付装置を模式的に示す側面図である。
実施形態2に係る苗木植付装置を模式的に示す平面図である。
実施形態2に係る苗木植付装置を模式的に示す背面図である。
実施形態2に係る穴形成部を模式的に示す背面図である。
実施形態2に係る穴形成部を模式的に示す平面図である。
実施形態2に係る植付部を模式的に示す背面図である。
実施形態2に係る植付部を模式的に示す平面図である。
実施形態2に係る姿勢保持部を説明するための図(その1)である。
実施形態2に係る姿勢保持部を説明するための図(その2)である。
実施形態2に係る苗木植付装置の動作を説明するための図(その1)である。
実施形態2に係る苗木植付装置の動作を説明するための図(その2)である。
実施形態2に係る苗木植付装置の動作を説明するための図(その3)である。
実施形態2に係る苗木植付装置の動作を説明するための図(その4)である。
実施形態2に係る苗木植付装置の動作を説明するための図(その5)である。
実施形態2に係る苗木植付装置の動作を説明するための図(その6)である。
【発明を実施するための形態】
【0010】
<実施形態1>
本発明の苗木植付装置を具体化した実施形態1について、図面を参照しつつ説明する。以下の説明においては、本発明に係る苗木植付装置として、自走式の苗木植付装置1を例示する。また、以下の説明において参照する各図は、要部以外の構成の一部を省略し、簡略化して示している。
(【0011】以降は省略されています)
この特許をJ-PlatPat(特許庁公式サイト)で参照する
関連特許
カヤバ株式会社
緩衝器
25日前
カヤバ株式会社
減圧弁
1か月前
カヤバ株式会社
緩衝器
25日前
カヤバ株式会社
ミキサ車
23日前
カヤバ株式会社
ミキサ車
23日前
カヤバ株式会社
防水構造
23日前
カヤバ株式会社
ミキサ車
23日前
カヤバ株式会社
ギヤポンプ
23日前
カヤバ株式会社
摩擦試験機
1か月前
カヤバ株式会社
ギヤポンプ
23日前
カヤバ株式会社
電動ポンプ
1か月前
カヤバ株式会社
展開デッキ
23日前
カヤバ株式会社
ギヤポンプ
23日前
カヤバ株式会社
高所作業装置
1か月前
カヤバ株式会社
苗木植付装置
23日前
カヤバ株式会社
冗長システム
2か月前
カヤバ株式会社
苗木植付装置
23日前
カヤバ株式会社
苗木植付装置
23日前
カヤバ株式会社
苗木植付装置
23日前
カヤバ株式会社
苗木抜出装置
23日前
カヤバ株式会社
苗木植付装置
23日前
カヤバ株式会社
流体圧制御装置
1か月前
カヤバ株式会社
チェックバルブ
1か月前
カヤバ株式会社
筒部材及び緩衝器
25日前
カヤバ株式会社
回転機の製造方法
1か月前
カヤバ株式会社
ポンプの取付構造
26日前
カヤバ株式会社
筒部材及び緩衝器
25日前
カヤバ株式会社
筒型リニアモータ
25日前
カヤバ株式会社
筒部材及び緩衝器
25日前
カヤバ株式会社
バルブおよび緩衝器
1か月前
カヤバ株式会社
反力アクチュエータ
1か月前
カヤバ株式会社
バルブおよび緩衝器
1か月前
カヤバ株式会社
アクチュエータユニット
1か月前
カヤバ株式会社
ブッシュ及び液圧回転機
1か月前
カヤバ株式会社
ミキサドラムのシール構造
23日前
カヤバ株式会社
ステアバイワイヤユニット
1か月前
続きを見る
他の特許を見る