TOP
|
特許
|
意匠
|
商標
特許ウォッチ
Twitter
他の特許を見る
公開番号
2025149423
公報種別
公開特許公報(A)
公開日
2025-10-08
出願番号
2024050068
出願日
2024-03-26
発明の名称
ソレノイドバルブおよび緩衝器
出願人
カヤバ株式会社
代理人
個人
主分類
F16K
31/06 20060101AFI20251001BHJP(機械要素または単位;機械または装置の効果的機能を生じ維持するための一般的手段)
要約
【課題】ソフト時に発生する減衰力を低減でき車両における乗心地を向上できるソレノイドバルブおよび緩衝器を提供する。
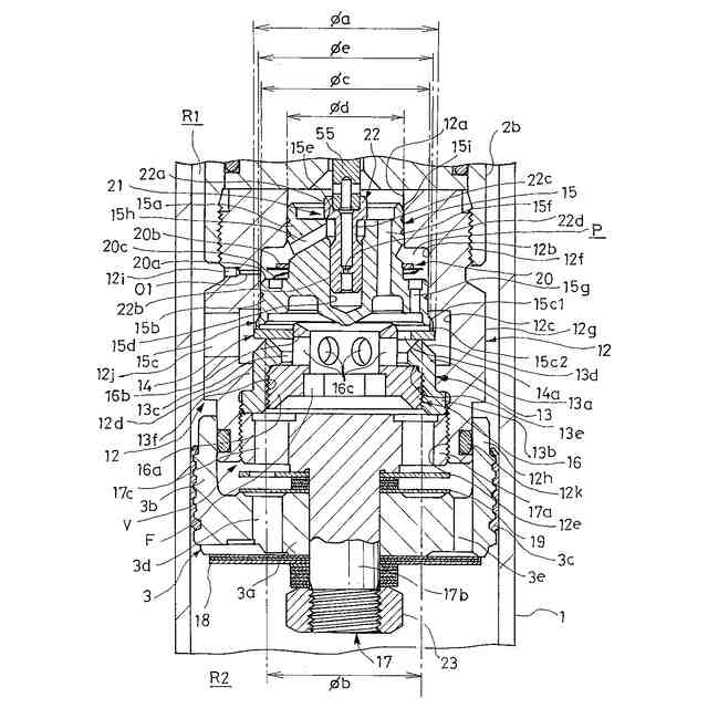
【解決手段】ソレノイドバルブVは、弁座部材13と、環状弁座13dに離着座してポート13cを開閉可能な環状の第1スプール14と、弁座部材13および第1スプール14に対して軸方向へ移動可能であって第1スプール14に離着座してポート13cを開閉可能な第2スプール15と、第2スプール15に弁座部材側へ向けて押圧する推力を与え得るソレノイドSとを備え、第1スプール14と第2スプール15は、ポート13cの一方側の圧力により共に弁座部材13から離間する方向へ付勢され、ポート13cの他方側の圧力により互いに離間する方向へ付勢され、第2スプール15における正面側受圧部の面積が背面側受圧部の面積よりも大きい。
【選択図】 図2
特許請求の範囲
【請求項1】
流路を取り囲む環状弁座を有する弁座部材と、
前記弁座部材に対して軸方向へ移動可能であって、前記環状弁座に離着座して前記流路を開閉可能な環状の第1スプールと、
前記弁座部材および前記第1スプールに対して軸方向へ移動可能であって、前記第1スプールの反弁座部材側に積層されて、前記第1スプールに離着座して前記流路を開閉可能な第2スプールと、
前記第2スプールに弁座部材側へ向けて押圧する推力を与え得るソレノイドとを備え、
前記第1スプールと前記第2スプールは、前記流路の一方側の圧力により共に前記弁座部材から離間する方向へ付勢され、前記流路の他方側の圧力により互いに離間する方向へ付勢され、
前記第2スプールは、弁座部材側を向いて前記流路内の圧力を前記弁座部材から離間させる方向の力として作用させる正面側受圧部と、反弁座側部材側を向いて作用する圧力を前記弁座部材へ接近させる方向の力として作用させる背面側受圧部と、前記流路内の圧力を背面側受圧部に導く通路とを有し、
前記正面側受圧部の面積は、背面側受圧部の面積よりも大きい
ことを特徴とするソレノイドバルブ。
続きを表示(約 860 文字)
【請求項2】
前記第2スプールは、本体部と、前記本体部の外周に設けたフランジ部と、前記フランジ部の正面側から突出して前記第1スプールに当接する環状突起と有し、
前記背面側受圧部は、前記本体部の反弁座部材側端と、前記フランジ部の反弁座部材側端とを含み、
前記通路は、前記本体部の正面側と前記本体部の背面側とを連通する直線状の本体部通路と、前記フランジ部の正面側であって前記環状突起の内側と前記フランジ部の背面側とを連通する直線状のフランジ部通路とを有する
ことを特徴とする請求項1に記載のソレノイドバルブ。
【請求項3】
前記フランジ部の背面側に前記流路の一方側の圧力が導入される背圧室と、
前記ソレノイドからの推力を受けて前記背圧室の圧力を調整する制御弁とを備え、
前記第2スプールは、前記本体部の背面側から開口する弁孔と、前記本体部の背面側に設けられる環状の制御弁弁座とを有し、
前記制御弁は、前記弁孔内に軸方向へ移動可能に挿入されて前記制御弁弁座に離着座可能な制御弁弁体を有し、
前記ソレノイドは、前記制御弁弁座が前記制御弁弁座に着座した状態で前記第2スプールに推力を与える
ことを特徴とする請求項2に記載のソレノイドバルブ。
【請求項4】
前記本体部通路と前記フランジ部通路とは、前記第2スプールの軸線に対して平行に設けられている
ことを特徴とする請求項2に記載のソレノイドバルブ。
【請求項5】
アウターシェルと、
前記アウターシェル内に軸方向へ移動可能に挿入されるピストンロッドと、
前記ピストンロッドに連結されて前記アウターシェル内に軸方向へ移動可能に挿入されるピストンと、
前記アウターシェル内に収容されて前記アウターシェル内に設けられる2つの作動室の間に配置される請求項1から4のいずれか一項に記載のソレノイドバルブとを備えた
ことを特徴とする緩衝器。
発明の詳細な説明
【技術分野】
【0001】
本発明は、ソレノイドバルブおよび緩衝器に関する。
続きを表示(約 1,600 文字)
【背景技術】
【0002】
ソレノイドバルブは、車両の車体と車輪との間に介装される緩衝器の可変減衰バルブとして利用され、緩衝器が発する減衰力を車体の振動の抑制に適するように調整して車両における乗心地を向上する。
【0003】
このようなソレノイドバルブは、たとえば、緩衝器におけるピストン部分に設置されており、伸側室と圧側室とを連通する主通路と、内周側を主通路が通る環状の弁座部材と、弁座部材に離着座して前記主通路を通過する液体の流れに抵抗を与える主弁体と、途中に絞りが設けられて主弁体の背面の背圧室に伸側室の圧力を減圧して導く伸側圧力導入通路と、背圧室に圧側室の圧力を減圧して導く圧側圧力導入通路と、背圧室の圧力を制御する制御弁と、制御弁に推力を与えるソレノイドとを備え、主弁体は、弁座部材に離着座する環状の第1スプールと、第1スプールの反弁座部材側に積層されて第1スプールに離着座する第2スプールとを有し、第1スプールと第2スプールは、伸側室の圧力により弁座部材から離れる方向へ付勢され、第2スプールは、第1スプールの内周側の圧力により第1スプールから離れる方向へ付勢されている。
【0004】
そして、このように構成されたソレノイドバルブでは、作動油が伸側室から圧側室へ移動する際は、伸側室の圧力によって第1スプールと第2スプールとが共に弁座部材から離間させて開弁するが、ソレノイドに与える電流量に応じて背圧室内の圧力を調整することによって開弁圧を調整して減衰力を変化させ得る。また、ソレノイドバルブでは、作動油が圧側室から伸側室へ移動する際は、圧側室の圧力によって第1スプールと第2スプールとが互いに離間して主通路を開放するが、ソレノイドに与える電流量に応じて第2スプールを押圧する推力を調整することによって開弁圧を調整して減衰力を変化させ得る。
【先行技術文献】
【特許文献】
【0005】
特開2019-160994号公報
【発明の概要】
【発明が解決しようとする課題】
【0006】
このようなソレノイドバルブでは、作動油が主通路を圧側室から伸側室へ向けて流れる場合、圧側室の圧力によって第1スプールが弁座部材に押し付けられる一方で、圧側室の圧力によって第2スプールが弁座部材から離間させる方向に押圧される。
【0007】
よって、第2スプールを弁座部材から離間させる方向へ押圧する力がソレノイドの推力および第2スプールを弁座部材に押し付ける力の合力を上回ると、ソレノイドバルブが開弁して主通路を開放する。
【0008】
ところが、従来のソレノイドバルブでは、第2スプールの第1スプールに当接するシート部のシート径が小さく、圧側室の圧力が第2スプールを弁座部材から離間する方向へ押圧するように作用する正面側の受圧面積よりも、圧側室の圧力が第2スプールを弁座部材へ向けて接近させる方向に押圧するように作用する背面側の受圧面積の方がはるかに大きくなっていた。
【0009】
そのため、作動油が主通路を圧側室から伸側室へ向かう際に、第2スプールを第1スプールへ押し付ける力が大きくなりすぎて、第2スプールが第1スプールから離間し難くなってしまう。よって、従来のソレノイドバルブでは、ソレノイドの推力を極小さくしてソフトな減衰力を発生させたい場合でも、減衰力が大きくなって車両における乗心地を損なう可能性があった。
【0010】
そこで、本発明は、ソフト時に発生する減衰力を低減でき車両における乗心地を向上できるソレノイドバルブおよび緩衝器の提供を目的としている。
【課題を解決するための手段】
(【0011】以降は省略されています)
この特許をJ-PlatPat(特許庁公式サイト)で参照する
関連特許
カヤバ株式会社
減圧弁
1か月前
カヤバ株式会社
緩衝器
26日前
カヤバ株式会社
緩衝器
26日前
カヤバ株式会社
防水構造
24日前
カヤバ株式会社
ミキサ車
24日前
カヤバ株式会社
ミキサ車
24日前
カヤバ株式会社
ミキサ車
24日前
カヤバ株式会社
展開デッキ
24日前
カヤバ株式会社
電動ポンプ
1か月前
カヤバ株式会社
摩擦試験機
1か月前
カヤバ株式会社
ギヤポンプ
24日前
カヤバ株式会社
ギヤポンプ
24日前
カヤバ株式会社
ギヤポンプ
24日前
カヤバ株式会社
苗木抜出装置
24日前
カヤバ株式会社
苗木植付装置
24日前
カヤバ株式会社
苗木植付装置
24日前
カヤバ株式会社
苗木植付装置
24日前
カヤバ株式会社
苗木植付装置
24日前
カヤバ株式会社
高所作業装置
1か月前
カヤバ株式会社
苗木植付装置
24日前
カヤバ株式会社
回転機の製造方法
1か月前
カヤバ株式会社
ポンプの取付構造
27日前
カヤバ株式会社
筒部材及び緩衝器
26日前
カヤバ株式会社
筒部材及び緩衝器
26日前
カヤバ株式会社
筒部材及び緩衝器
26日前
カヤバ株式会社
筒型リニアモータ
26日前
カヤバ株式会社
バルブおよび緩衝器
1か月前
カヤバ株式会社
バルブおよび緩衝器
1か月前
カヤバ株式会社
ブッシュ及び液圧回転機
1か月前
カヤバ株式会社
ステアバイワイヤユニット
1か月前
カヤバ株式会社
ミキサ車及び状態検出装置
25日前
カヤバ株式会社
ミキサドラムのシール構造
24日前
カヤバ株式会社
ソレノイドバルブおよび緩衝器
26日前
カヤバ株式会社
ソレノイドバルブおよび緩衝器
26日前
カヤバ株式会社
モータ制御装置、及びプログラム
1か月前
カヤバ株式会社
ダンパ減衰力特性生成装置、ダンパ提示装置、及びプログラム
24日前
続きを見る
他の特許を見る