TOP
|
特許
|
意匠
|
商標
特許ウォッチ
Twitter
他の特許を見る
公開番号
2025145170
公報種別
公開特許公報(A)
公開日
2025-10-03
出願番号
2024045215
出願日
2024-03-21
発明の名称
ステアバイワイヤユニット
出願人
カヤバ株式会社
,
リー オートモーティブ リミテッド
,
REE Automotive Ltd.
代理人
弁理士法人後藤特許事務所
主分類
B62D
5/04 20060101AFI20250926BHJP(鉄道以外の路面車両)
要約
【課題】車両搭載性を高める。
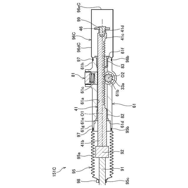
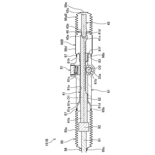
【解決手段】車両の車輪7を転舵する第1ユニット151Aは、第1転舵モータ31と、第1転舵モータ31からの駆動力が入力される第1ピニオンシャフト33と、第1ピニオンシャフト33に噛み合う第1ラックギヤ41aと車両の車輪7に接続される先端部41bとを有し当該車輪7を転舵する第1ラック軸41と、を備え、第1ラック軸41は、先端部41bとは反対側に車両の車輪7に接続されない終端部41cを有する。
【選択図】図1
特許請求の範囲
【請求項1】
車両の車輪を転舵するステアバイワイヤユニットであって、
モータと、
前記モータからの駆動力が入力されるピニオンシャフトと、
前記ピニオンシャフトに噛み合うラックギヤと、前記車両の車輪に接続される先端部と、を有し、当該車輪を転舵するラック軸と、を備え、
前記ラック軸は、前記先端部とは反対側に前記車両の車輪に接続されない終端部を有する、
ことを特徴とするステアバイワイヤユニット。
続きを表示(約 630 文字)
【請求項2】
請求項1に記載のステアバイワイヤユニットであって、
前記ラック軸は、前記車両の左右一方の片輪に接続される、
ことを特徴とするステアバイワイヤユニット。
【請求項3】
請求項1又は2に記載のステアバイワイヤユニットであって、
前記ラック軸の前記終端部を覆うカバーをさらに備える、
ことを特徴とするステアバイワイヤユニット。
【請求項4】
請求項3に記載のステアバイワイヤユニットであって、
前記カバーは、移動する前記ラック軸に追従して変形する変形部を有する、
ことを特徴とするステアバイワイヤユニット。
【請求項5】
請求項1又は2に記載のステアバイワイヤユニットであって、
前記ラック軸の前記終端部を覆うカバーをさらに備え、
前記カバーは、移動する前記ラック軸に追従して変形する変形部と、前記変形部と比べて変形し難い強度部と、を有する、
ことを特徴とするステアバイワイヤユニット。
【請求項6】
請求項1又は2に記載のステアバイワイヤユニットであって、
前記ラック軸を収容するハウジングと、
前記ラック軸の前記終端部に固定される固定部材と、
前記ハウジングの端部に当接して前記ラック軸の移動を規制するストッパと、をさらに備える、
ことを特徴とするステアバイワイヤユニット。
発明の詳細な説明
【技術分野】
【0001】
本発明はステアバイワイヤユニットに関する。
続きを表示(約 1,000 文字)
【背景技術】
【0002】
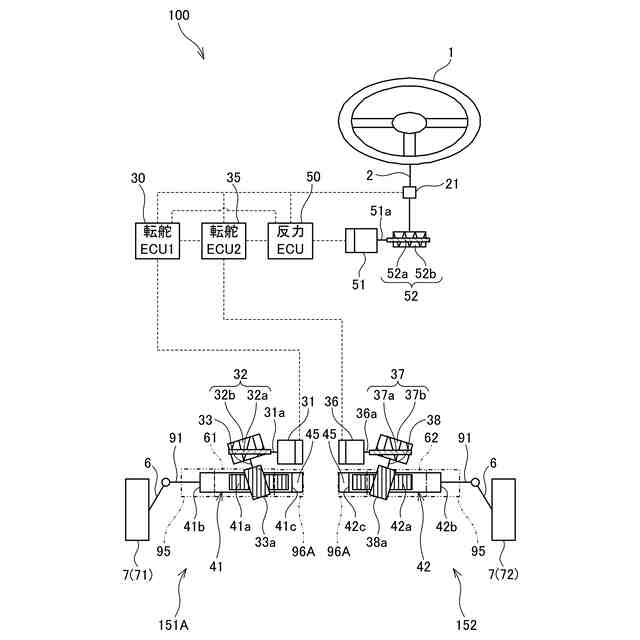
特許文献1には、ステアバイワイヤ構成を有する車両用操舵装置が開示されている。この装置では、ラック軸の両端にボールジョイントを介して連結された左右のタイロッドが転舵輪のナックルアームに連結されている。
【先行技術文献】
【特許文献】
【0003】
特開2010-030368号公報(例えば、図4-7参照)
【発明の概要】
【発明が解決しようとする課題】
【0004】
ラック軸の両端が左右両輪に接続される構造のステアバイワイヤ構成では、ラック軸の中央付近(車両の左右方向中央付近)で車両部品との干渉が発生したり、クリアランスが不十分になったりする恐れがあり、車両搭載性が悪い。
【0005】
本発明はこのような課題に鑑みてなされたもので、車両搭載性を高めることを目的とする。
【課題を解決するための手段】
【0006】
本発明は、車両の車輪を転舵するステアバイワイヤユニットであって、モータと、モータからの駆動力が入力されるピニオンシャフトと、ピニオンシャフトに噛み合うラックギヤと車両の車輪に接続される先端部とを有し当該車輪を転舵するラック軸と、を備え、ラック軸は、先端部とは反対側に車両の車輪に接続されない終端部を有する、ことを特徴とする。
【0007】
この発明によれば、ステアバイワイヤ方式を採用することにより、レイアウト上の制限が緩和されることと相俟って、車両の左右方向中央付近に終端部を配置することにより、当該中央付近にスペースを形成できる。このため、当該中央付近で車両部品と干渉し難くしたり、十分なクリアランスを確保したりすることができ、車両搭載性を高めることができる。
【0008】
また、本発明は、ラック軸は、車両の左右一方の片輪に接続される、ことを特徴とする。
【0009】
この発明によれば、ラック軸と左右一方の片輪とを接続する構造なので、ラック軸を介して左右両輪を接続するリンク機構等の複雑な接続機構に起因して、車両搭載性が悪化することを抑制できる。
【0010】
また、本発明は、ラック軸の終端部を覆うカバーをさらに備える、ことを特徴とする。
(【0011】以降は省略されています)
この特許をJ-PlatPat(特許庁公式サイト)で参照する
関連特許
カヤバ株式会社
減圧弁
1か月前
カヤバ株式会社
緩衝器
1か月前
カヤバ株式会社
緩衝器
1か月前
カヤバ株式会社
ミキサ車
1か月前
カヤバ株式会社
ミキサ車
1か月前
カヤバ株式会社
ミキサ車
1か月前
カヤバ株式会社
防水構造
1か月前
カヤバ株式会社
ギヤポンプ
1か月前
カヤバ株式会社
展開デッキ
1か月前
カヤバ株式会社
ギヤポンプ
1か月前
カヤバ株式会社
電動ポンプ
14日前
カヤバ株式会社
電動ポンプ
1か月前
カヤバ株式会社
ギヤポンプ
1か月前
カヤバ株式会社
苗木植付装置
1か月前
カヤバ株式会社
シリンダ装置
15日前
カヤバ株式会社
苗木植付装置
1か月前
カヤバ株式会社
苗木植付装置
1か月前
カヤバ株式会社
苗木植付装置
1か月前
カヤバ株式会社
苗木植付装置
1か月前
カヤバ株式会社
苗木抜出装置
1か月前
カヤバ株式会社
高所作業装置
1か月前
カヤバ株式会社
回転機の製造方法
1か月前
カヤバ株式会社
筒型リニアモータ
1か月前
カヤバ株式会社
筒部材及び緩衝器
1か月前
カヤバ株式会社
筒部材及び緩衝器
1か月前
カヤバ株式会社
筒部材及び緩衝器
1か月前
カヤバ株式会社
ポンプの取付構造
1か月前
カヤバ株式会社
ブッシュ及び液圧回転機
1か月前
カヤバ株式会社
ミキサドラムのシール構造
1か月前
カヤバ株式会社
ステアバイワイヤユニット
1か月前
カヤバ株式会社
ミキサ車及び状態検出装置
1か月前
カヤバ株式会社
ソレノイドバルブおよび緩衝器
1か月前
カヤバ株式会社
ソレノイドバルブおよび緩衝器
1か月前
カヤバ株式会社
ミキサドラムの積載量測定装置
1日前
カヤバ株式会社
モータ制御装置、及びプログラム
1か月前
カヤバ株式会社
ダンパ減衰力特性生成装置、ダンパ提示装置、及びプログラム
1か月前
続きを見る
他の特許を見る