TOP
|
特許
|
意匠
|
商標
特許ウォッチ
Twitter
他の特許を見る
公開番号
2025149424
公報種別
公開特許公報(A)
公開日
2025-10-08
出願番号
2024050069
出願日
2024-03-26
発明の名称
ソレノイドバルブおよび緩衝器
出願人
カヤバ株式会社
代理人
個人
主分類
F16K
31/06 20060101AFI20251001BHJP(機械要素または単位;機械または装置の効果的機能を生じ維持するための一般的手段)
要約
【課題】第1スプールおよび第2スプールの円滑な移動を補償し得るとともにコストを低減可能なソレノイドバルブおよび車両における乗心地を向上し得る緩衝器を提供する。
【解決手段】ソレノイドバルブVは、弁座部材13と、環状弁座13dに離着座してポート13cを開閉可能な環状の第1スプール14と、弁座部材13および第1スプール14に対して軸方向へ移動可能な第2スプール15と、第2スプール15に弁座部材側へ向けて押圧する推力を与え得るソレノイドSと、弁座部材13に対して不動であって第2スプール15と離間して第1スプール14を径方向へ調心するガイド部材16とを備え、第1スプール14と第2スプール15は、流路Fの一方側の圧力により共に弁座部材13から離間する方向へ付勢され、流路Fの他方側の圧力により互いに離間する方向へ付勢される。
【選択図】 図2
特許請求の範囲
【請求項1】
流路を取り囲む環状弁座を有する弁座部材と、
前記弁座部材に対して軸方向へ移動可能であって、前記環状弁座に離着座して前記流路を開閉可能な環状の第1スプールと、
前記弁座部材および前記第1スプールに対して軸方向へ移動可能であって、前記第1スプールの反弁座部材側に積層されて、前記第1スプールに離着座して前記流路を開閉可能な第2スプールと、
前記第2スプールに弁座部材側へ向けて押圧する推力を与え得るソレノイドと、
前記弁座部材に対して不動であって、前記第1スプールの内周に摺接して前記第1スプールを前記環状弁座に対して径方向へ調心するとともに前記第1スプールの前記弁座部材に対する軸方向への移動をガイドするガイド部材とを備え、
前記第1スプールと前記第2スプールは、前記流路の一方側の圧力により共に前記弁座部材から離間する方向へ付勢され、前記流路の他方側の圧力により互いに離間する方向へ付勢される
ことを特徴とするソレノイドバルブ。
続きを表示(約 640 文字)
【請求項2】
前記ガイド部材は、
前記環状弁座の内周側に配置されて前記第1スプールの内周に摺動可能に挿入されるガイド筒と、
前記ガイド筒に設けれられて前記ガイド筒の外周であって前記第1スプールよりも弁座部材側の空間を前記ガイド筒内に連通する開口部とを有する
ことを特徴とする請求項1に記載のソレノイドバルブ。
【請求項3】
前記ガイド部材は、前記環状弁座の内周側に配置されて前記第1スプールの内周に摺動可能に挿入されるガイド筒を有し、
前記第1スプールは、前記環状弁座に当接する部分よりも内周側を軸方向に貫いて前記ガイド部材の外周側であって前記第1スプールよりも弁座部材側の空間に通じる開口部を有する
ことを特徴とする請求項1に記載のソレノイドバルブ。
【請求項4】
前記第1スプールは、環状の平板で形成される
ことを特徴とする請求項1に記載のソレノイドバルブ。
【請求項5】
アウターシェルと、
前記アウターシェル内に軸方向へ移動可能に挿入されるピストンロッドと、
前記ピストンロッドに連結されて前記アウターシェル内に軸方向へ移動可能に挿入されるピストンと、
前記アウターシェル内に収容されて前記アウターシェル内に設けられる2つの作動室の間に配置される請求項1から3のいずれか一項に記載のソレノイドバルブとを備えた
ことを特徴とする緩衝器。
発明の詳細な説明
【技術分野】
【0001】
本発明は、ソレノイドバルブおよび緩衝器に関する。
続きを表示(約 2,100 文字)
【背景技術】
【0002】
ソレノイドバルブは、車両の車体と車輪との間に介装される緩衝器の可変減衰バルブとして利用され、緩衝器が発する減衰力を車体の振動の抑制に適するように調整して車両における乗心地を向上する。
【0003】
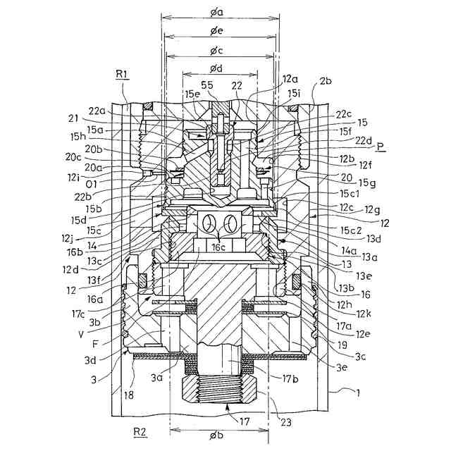
このようなソレノイドバルブは、たとえば、緩衝器におけるピストン部分に設置されており、伸側室と圧側室とを連通する主通路と、内周側を主通路が通る環状の弁座部材と、弁座部材に離着座して前記主通路を通過する液体の流れに抵抗を与える主弁体と、途中に絞りが設けられて主弁体の背面の背圧室に伸側室の圧力を減圧して導く伸側圧力導入通路と、背圧室に圧側室の圧力を減圧して導く圧側圧力導入通路と、背圧室の圧力を制御する制御弁と、制御弁に推力を与えるソレノイドとを備え、主弁体は、弁座部材に離着座する環状の第1スプールと、第1スプールの反弁座部材側に積層されて第1スプールに離着座する第2スプールとを有し、第1スプールと第2スプールは、伸側室の圧力により弁座部材から離れる方向へ付勢され、第2スプールは、第1スプールの内周側の圧力により第1スプールから離れる方向へ付勢されている。
【0004】
そして、このように構成されたソレノイドバルブでは、作動油が伸側室から圧側室へ移動する際は、伸側室の圧力によって第1スプールと第2スプールとが共に弁座部材から離間させて開弁するが、ソレノイドに与える電流量に応じて背圧室内の圧力を調整することによって開弁圧を調整して減衰力を変化させ得る。また、ソレノイドバルブでは、作動油が圧側室から伸側室へ移動する際は、圧側室の圧力によって第1スプールと第2スプールとが互いに離間して主通路を開放するが、ソレノイドに与える電流量に応じて第2スプールを押圧する推力を調整することによって開弁圧を調整して減衰力を変化させ得る。
【先行技術文献】
【特許文献】
【0005】
独国特許公開公報DE102016221896A1
【発明の概要】
【発明が解決しようとする課題】
【0006】
従来のソレノイドバルブでは、第1スプールが第2スプールの下端から突出する軸の外周に装着されて径方向へ位置決めされており、第1スプールに作用する圧力の変動によって第1スプールを径方向へ変位させる力が入力されると、第2スプールに当該力が伝達されて第2スプールと第2スプールを収容するハウジングとの間に摩擦が生じて、第2スプールのスムーズな移動が阻害されてしまう。第2スプールの移動が阻害されると、ソレノイドバルブを搭載した緩衝器の減衰力が安定せず車両における乗心地を損なってしまう場合がある。
【0007】
また、第2スプールの下端に第1スプールを径方向に位置決めするための軸を形成する必要があり、第1スプールが軸の外周に摺接して第1スプールの軸方向への移動を許容する必要がある。そのため、第2スプールに外周面が滑らかな軸を設ける加工が必要となって、ソレノイドバルブの加工コストが嵩んでしまう。
【0008】
そこで、本発明は、第1スプールおよび第2スプールの円滑な移動を補償し得るとともにコストを低減可能なソレノイドバルブおよび車両における乗心地を向上し得る緩衝器の提供を目的としている。
【課題を解決するための手段】
【0009】
前記課題を解決するため、本発明のソレノイドバルブは、流路を取り囲む環状弁座を有する弁座部材と、弁座部材に対して軸方向へ移動可能であって、環状弁座に離着座して流路を開閉可能な環状の第1スプールと、弁座部材および第1スプールに対して軸方向へ移動可能であって、第1スプールの反弁座部材側に積層されて、第1スプールに離着座して流路を開閉可能な第2スプールと、第2スプールに弁座部材側へ向けて押圧する推力を与え得るソレノイドと、弁座部材に対して不動であって、第1スプールの内周に摺接して第1スプールを環状弁座に対して径方向へ調心するとともに第1スプールの弁座部材に対する軸方向への移動をガイドするガイド部材とを備え、第1スプールと第2スプールは、流路の一方側の圧力により共に弁座部材から離間する方向へ付勢され、流路の他方側の圧力により互いに離間する方向へ付勢されることを特徴とする。
【0010】
このように構成されたソレノイドバルブによれば、弁座部材に対して不動なガイド部材によって、第1スプールが環状弁座に対して径方向に位置決めされるので、第1スプールが円滑に軸方向へ移動できるとともに、第1スプールに作用する圧力に偏りが生じて径方向へ移動させる横力が作用しても、第2スプールに対して横力を伝達することがない。さらに、ガイド部材によって第1スプールを径方向へ位置決めしているので、第2スプールに対して第1スプールの径方向の位置決めをする軸を設ける必要がないので、第2スプールの構造が簡素となって第2スプールの加工コストを低減できる。
(【0011】以降は省略されています)
この特許をJ-PlatPat(特許庁公式サイト)で参照する
関連特許
カヤバ株式会社
減圧弁
1か月前
カヤバ株式会社
緩衝器
26日前
カヤバ株式会社
緩衝器
26日前
カヤバ株式会社
ミキサ車
24日前
カヤバ株式会社
ミキサ車
24日前
カヤバ株式会社
防水構造
24日前
カヤバ株式会社
ミキサ車
24日前
カヤバ株式会社
展開デッキ
24日前
カヤバ株式会社
電動ポンプ
1か月前
カヤバ株式会社
ギヤポンプ
24日前
カヤバ株式会社
ギヤポンプ
24日前
カヤバ株式会社
ギヤポンプ
24日前
カヤバ株式会社
苗木植付装置
24日前
カヤバ株式会社
苗木植付装置
24日前
カヤバ株式会社
苗木植付装置
24日前
カヤバ株式会社
苗木抜出装置
24日前
カヤバ株式会社
高所作業装置
1か月前
カヤバ株式会社
苗木植付装置
24日前
カヤバ株式会社
苗木植付装置
24日前
カヤバ株式会社
回転機の製造方法
1か月前
カヤバ株式会社
ポンプの取付構造
27日前
カヤバ株式会社
筒部材及び緩衝器
26日前
カヤバ株式会社
筒部材及び緩衝器
26日前
カヤバ株式会社
筒部材及び緩衝器
26日前
カヤバ株式会社
筒型リニアモータ
26日前
カヤバ株式会社
ブッシュ及び液圧回転機
1か月前
カヤバ株式会社
ステアバイワイヤユニット
1か月前
カヤバ株式会社
ミキサドラムのシール構造
24日前
カヤバ株式会社
ミキサ車及び状態検出装置
25日前
カヤバ株式会社
ソレノイドバルブおよび緩衝器
26日前
カヤバ株式会社
ソレノイドバルブおよび緩衝器
26日前
カヤバ株式会社
モータ制御装置、及びプログラム
1か月前
カヤバ株式会社
ダンパ減衰力特性生成装置、ダンパ提示装置、及びプログラム
24日前
個人
留め具
20日前
個人
鍋虫ねじ
2か月前
個人
ホース保持具
6か月前
続きを見る
他の特許を見る