TOP
|
特許
|
意匠
|
商標
特許ウォッチ
Twitter
他の特許を見る
公開番号
2025149164
公報種別
公開特許公報(A)
公開日
2025-10-08
出願番号
2024049641
出願日
2024-03-26
発明の名称
筒部材及び緩衝器
出願人
カヤバ株式会社
代理人
個人
主分類
F16F
9/32 20060101AFI20251001BHJP(機械要素または単位;機械または装置の効果的機能を生じ維持するための一般的手段)
要約
【課題】バンプラバーの劣化を防止しつつも、バンプキャップの笛吹音の発生を抑制できる緩衝器を提供する。
【解決手段】本実施の形態の緩衝器Dは、アウターシェル1と、アウターシェル1内に出入りするロッド2と、有頂筒状であり頂部3aが環状であってアウターシェル1のロッド側端となる上端の外周に装着されるとともに頂部3aの内周側にロッド2が挿通されるバンプキャップ3と、ロッド2に取り付けられてロッド2の軸方向でバンプキャップ3に対向するバンプラバー4と、ロッド2の外周を覆って上端がロッド2に取り付けられるとともに下端がバンプキャップ3の筒部3bに全周に渡って当接する筒状のダストブーツ5と、バンプキャップ3の頂部3aとロッド2の外周との間からバンプキャップ3の筒部3bの下端とアウターシェル1との間へ至る空気の通り道Pの途中に設けられて空気の流れに抵抗を与える絞り部Cとを備えている。
【選択図】 図2
特許請求の範囲
【請求項1】
アウターシェルと、
前記アウターシェル内に出入りするロッドと、
有頂筒状であり頂部が環状であって、前記アウターシェルのロッド側端となる上端の外周に装着されるとともに頂部の内周側に前記ロッドが挿通されるバンプキャップと、
前記ロッドに取り付けられて前記ロッドの軸方向で前記バンプキャップに対向するバンプラバーと、
前記ロッドの外周を覆って上端が前記ロッドに取り付けられるとともに下端が前記バンプキャップの筒部に全周に渡って当接する筒状のダストブーツと、
前記バンプキャップの頂部と前記ロッドの外周との間から前記バンプキャップの筒部の下端と前記アウターシェルとの間へ至る空気の通り道の途中に設けられて空気の流れに抵抗を与える絞り部とを備えた
ことを特徴とする緩衝器。
続きを表示(約 590 文字)
【請求項2】
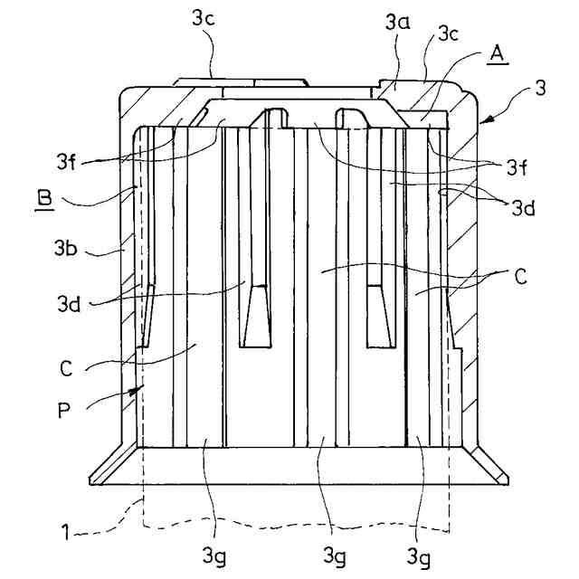
前記バンプキャップは、前記筒部の内側であって周方向の異なる位置に軸方向に沿って設けられて、径方向へ突出して前記アウターシェルの外周に当接する複数の嵌合突起を有し、
前記絞り部は、前記筒部の内側であって隣り合う前記嵌合突起間に突出して隣り合う前記嵌合突起間の空隙の断面積を減じるキャップ側突起によって形成される
ことを特徴とする請求項1に記載の緩衝器。
【請求項3】
前記バンプキャップは、前記筒部の内側であって周方向の異なる位置に軸方向に沿って設けられて、径方向へ突出して前記アウターシェルの外周に当接する複数の嵌合突起を有し、
前記絞り部は、前記アウターシェルの外周であって隣り合う前記嵌合突起間に突出して隣り合う前記嵌合突起間の空隙の断面積を減じるシェル側突起によって形成される
ことを特徴とする請求項1に記載の緩衝器。
【請求項4】
前記アウターシェルの上端の内周に固定される円環状のシール部材を備え、
前記絞り部は、前記シール部材の上端から前記頂部へ向けて突出する環状突起によって形成される
ことを特徴とする請求項1に記載の緩衝器。
【請求項5】
前記キャップ側突起は、前記筒部の軸方向に沿って形成されている
ことを特徴とする請求項2に記載の緩衝器。
発明の詳細な説明
【技術分野】
【0001】
本発明は、筒部材及び緩衝器に関する。
続きを表示(約 1,600 文字)
【背景技術】
【0002】
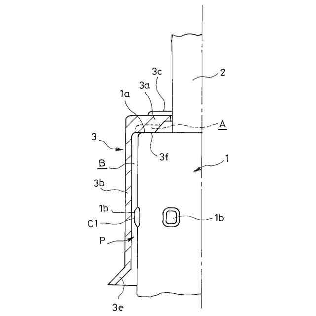
従来、車両用の緩衝器は、ピストンロッドの先端の外周に装着されるバンプストッパラバーと、アウターシェルの上端に装着されるとともにバンプストッパラバーと軸方向で対向する有頂筒状のバンプキャップとを備えており、最圧縮時にバンプストッパラバーとバンプキャップとを衝合させて、圧縮されるバンプストッパラバーが発揮する弾発力によって、最収縮時の底付きの防止や衝撃を緩和している。
【0003】
また、緩衝器は、ピストンロッドの外周を保護するために、ピストンロッドを覆う筒状であって蛇腹を備えたダストカバーを備えている。ダストブーツは、上端がピストンロッドの先端に装着された懸架ばねに取り付けられるとともに、下端をバンプキャップの筒部の下端外周に設けられたフランジ状のスカートに突き当てており、緩衝器が伸縮するとピストンロッドに対して軸ぶれせずに伸縮できる(たとえば、特許文献1参照)。
【先行技術文献】
【特許文献】
【0004】
特開2015-190555号公報
【発明の概要】
【発明が解決しようとする課題】
【0005】
従来の緩衝器では、ダストブーツによってピストンロッドの外周を保護できるが、近年、ピストンロッドの外周への雨滴や埃の付着をより効果的に防止できるように、ダストブーツの下端をバンプキャップのスカートに突き当てるだけでなくスカートに密着させて固定することによって、ダストブーツ内の気密性を高めることが要望されている。
【0006】
ダストブーツの下端をバンプキャップのスカートに固定するとダストブーツ内の気密性が高まりピストンロッドをより効果的に保護できるのであるが、ダストカバーとバンプキャップとの間が閉塞されるため、緩衝器の収縮時にバンプキャップとアウターシェルとの間の隙間を介してダストブーツ内の空気が外部へ流出するようになる。
【0007】
他方、バンプキャップは、内周にピストンロッドが挿通されるとともにバンプラバーに対向する円環状の頂部と、内周にアウターシェルの外周に当接する複数のリブを有する筒部とで構成されており、バンプラバーがバンプキャップに衝突して圧縮された際に、バンプラバーが頂部の内周とロッドとの間で噛み込まれるとバンプラバーが劣化してしまう。よって、バンプラバーの劣化の防止のためには、頂部の内周とピストンロッドの外周との間のクリアランスを狭くする方が好ましい。
【0008】
ところが、頂部の内周とピストンロッドの外周との間のクリアランスを狭くすると、緩衝器の収縮時に前記クリアランスを通過する空気の流速が早くなり、バンプキャップの頂部の内周の上端縁に空気が強く当たる事によって空気が渦を巻いて振動して笛吹音が生じる問題がある。
【0009】
そこで、本願発明は、バンプラバーの劣化を防止しつつも、バンプキャップの笛吹音の発生を抑制できる緩衝器の提供を目的とする。
【課題を解決するための手段】
【0010】
上記課題を解決するため、本発明の緩衝器は、アウターシェルと、アウターシェル内に出入りするロッドと、有頂筒状であり頂部が環状であって、アウターシェルのロッド側端となる上端の外周に装着されるとともに頂部の内周側にロッドが挿通されるバンプキャップと、ロッドに取り付けられてロッドの軸方向でバンプキャップに対向するバンプラバーと、ロッドの外周を覆って上端がロッドに取り付けられるとともに下端がバンプキャップの筒部に全周に渡って当接する筒状のダストブーツと、バンプキャップの頂部とロッドの外周との間からバンプキャップの筒部の下端とアウターシェルとの間へ至る空気の通り道の途中に設けられて空気の流れに抵抗を与える絞り部とを備える。
(【0011】以降は省略されています)
この特許をJ-PlatPat(特許庁公式サイト)で参照する
関連特許
カヤバ株式会社
減圧弁
1か月前
カヤバ株式会社
緩衝器
1か月前
カヤバ株式会社
緩衝器
1か月前
カヤバ株式会社
防水構造
1か月前
カヤバ株式会社
ミキサ車
1か月前
カヤバ株式会社
ミキサ車
1か月前
カヤバ株式会社
ミキサ車
1か月前
カヤバ株式会社
電動ポンプ
3日前
カヤバ株式会社
展開デッキ
1か月前
カヤバ株式会社
電動ポンプ
1か月前
カヤバ株式会社
摩擦試験機
1か月前
カヤバ株式会社
ギヤポンプ
1か月前
カヤバ株式会社
ギヤポンプ
1か月前
カヤバ株式会社
ギヤポンプ
1か月前
カヤバ株式会社
苗木植付装置
1か月前
カヤバ株式会社
苗木植付装置
1か月前
カヤバ株式会社
苗木植付装置
1か月前
カヤバ株式会社
苗木植付装置
1か月前
カヤバ株式会社
苗木植付装置
1か月前
カヤバ株式会社
シリンダ装置
4日前
カヤバ株式会社
高所作業装置
1か月前
カヤバ株式会社
苗木抜出装置
1か月前
カヤバ株式会社
筒部材及び緩衝器
1か月前
カヤバ株式会社
回転機の製造方法
1か月前
カヤバ株式会社
ポンプの取付構造
1か月前
カヤバ株式会社
筒部材及び緩衝器
1か月前
カヤバ株式会社
筒部材及び緩衝器
1か月前
カヤバ株式会社
筒型リニアモータ
1か月前
カヤバ株式会社
バルブおよび緩衝器
1か月前
カヤバ株式会社
バルブおよび緩衝器
1か月前
カヤバ株式会社
ブッシュ及び液圧回転機
1か月前
カヤバ株式会社
ステアバイワイヤユニット
1か月前
カヤバ株式会社
ミキサ車及び状態検出装置
1か月前
カヤバ株式会社
ミキサドラムのシール構造
1か月前
カヤバ株式会社
ソレノイドバルブおよび緩衝器
1か月前
カヤバ株式会社
ソレノイドバルブおよび緩衝器
1か月前
続きを見る
他の特許を見る