TOP
|
特許
|
意匠
|
商標
特許ウォッチ
Twitter
他の特許を見る
公開番号
2025174723
公報種別
公開特許公報(A)
公開日
2025-11-28
出願番号
2024081255
出願日
2024-05-17
発明の名称
減衰力制御システム
出願人
カヤバ株式会社
代理人
個人
主分類
B60G
17/018 20060101AFI20251120BHJP(車両一般)
要約
【課題】車両の速度に減衰力を感応させた制御を行うことができるとともに、車両に対して容易に設置可能な減衰力制御システムの提供をする。
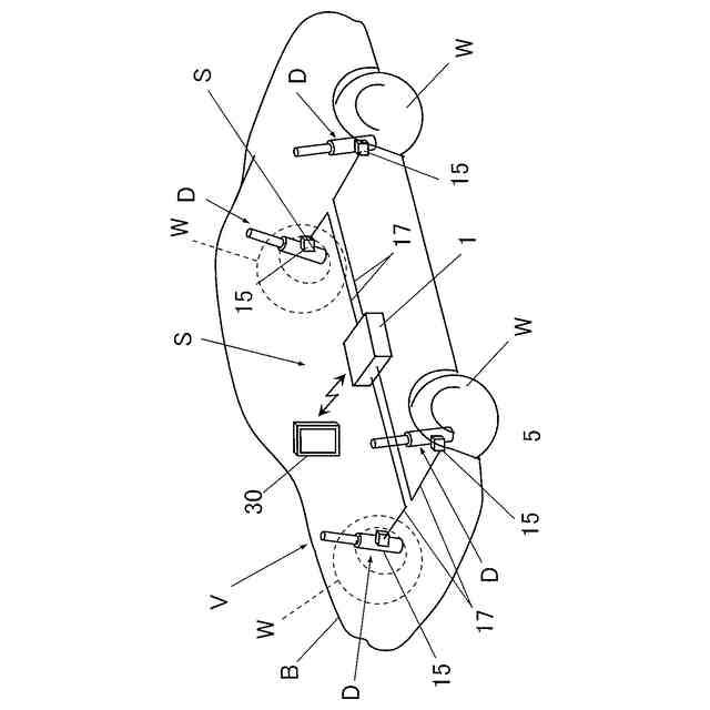
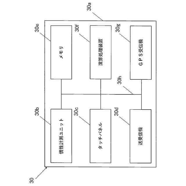
【解決手段】減衰力制御システムSは、車両Vの車体Bの振動を検知するセンサ部2と、車両Vの車体Bと車輪Wとの間に設けられる減衰力調整可能な緩衝器Dの減衰力をセンサ部2で検知した振動情報に基づいて制御する制御部3と、無線通信可能な通信部5とを有する減衰力制御装置1と、減衰力制御装置1と通信可能な携帯端末30とを備え、制御部3は、携帯端末30が検知する位置から求めた速度或いは携帯端末30が検知する速度に基づいて緩衝器Dを制御する。
【選択図】図6
特許請求の範囲
【請求項1】
車両の車体の振動を検知するセンサ部と、前記車両の前記車体と車輪との間に設けられる減衰力調整可能な緩衝器の減衰力を前記センサ部で検知した振動情報に基づいて制御する制御部と、無線通信可能な通信部とを有する減衰力制御装置と、
前記減衰力制御装置と通信可能な携帯端末とを備え、
前記制御部は、前記携帯端末が検知する位置から求めた速度或いは前記携帯端末が検知する速度に基づいて前記緩衝器を制御する
ことを特徴とする減衰力制御システム。
続きを表示(約 170 文字)
【請求項2】
前記センサ部は、前記車体の前後方向の加速度を検知可能であって、
前記制御部は、前記携帯端末から位置或いは前記速度が得られない場合、前記センサ部が検知した前記車体の前後方向の加速度から前記車両の速度を求め、求めた速度に基づいて前記緩衝器を制御する
ことを特徴とする請求項1に記載の減衰力制御システム。
発明の詳細な説明
【技術分野】
【0001】
本発明は、減衰力制御システムに関する。
続きを表示(約 1,400 文字)
【背景技術】
【0002】
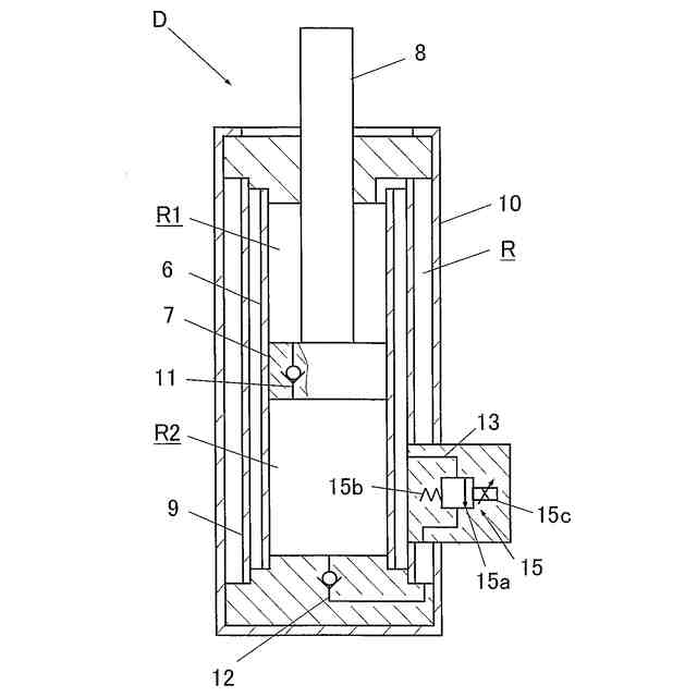
従来、減衰力を調節可能な緩衝器は、車両のばね上部材とばね下部材との間に介装されて伸縮する緩衝器本体と、緩衝器本体内に充填される流体の流れに抵抗を与えるとともにソレノイドで駆動されて発生減衰力を調整する減衰弁とを備えて構成され、ソレノイドに対する制御は、車両に搭載された緩衝器の制御に特化した減衰力制御装置によって行われる。
【0003】
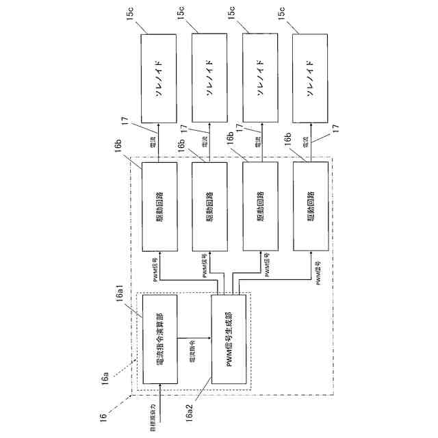
減衰力制御装置は、緩衝器の減衰力を車両の走行状態に応じて最適なものとするため、車両の速度、ばね上加速度やばね下加速度といった走行状態を認識するための各種情報を得るセンサと、当該センサからの情報を基に緩衝器が発生すべき減衰力を求める演算装置とを備えており、緩衝器に求めた減衰力を発生させるように減衰弁のソレノイドへ電流供給する。
【0004】
また、このようなシステムにおいては、減衰力制御装置は、CANバスを介して緩衝器のソレノイドを制御する制御ユニットに指令を出力するようになっているので、緩衝器に出力させる減衰力を車両の速度に感応させる制御を行う場合には車両から車両の走行中の速度を得ることができる(たとえば、特許文献1参照)。
【先行技術文献】
【特許文献】
【0005】
特開2024-015541号公報
【発明の概要】
【発明が解決しようとする課題】
【0006】
このように減衰力制御装置は、車両の速度に感応させて緩衝器の減衰力を制御する場合、CANバスへの接続が必須となっている。よって、減衰力制御装置が元々車両に付属しておらず、車両に対してユーザーが減衰力制御装置を設置する場合、所謂、減衰力制御装置を後付けするような場合、減衰力制御装置を車両へ設置するのは非常に面倒な作業を強いられる。
【0007】
そこで、本発明は、車両の速度に減衰力を感応させた制御を行うことができるとともに、車両に対して容易に設置可能な減衰力制御システムの提供を目的としている。
【課題を解決するための手段】
【0008】
上記した目的を達成するため、本発明の減衰力制御システムは、車両の車体の振動を検知するセンサ部と、車両の車体と車輪との間に設けられる減衰力調整可能な緩衝器の減衰力をセンサ部で検知した振動情報に基づいて制御する制御部と、無線通信可能な通信部とを有する減衰力制御装置と、減衰力制御装置と通信可能な携帯端末とを備え、制御部は、携帯端末が検知する位置から求めた速度或いは携帯端末が検知する速度に基づいて緩衝器を制御する。
【0009】
このように構成された減衰力制御システムによれば、減衰力制御装置は、携帯端末から車両の位置或は車両の速度を入手でき、車両におけるCANバスに接続しなくても、車両の速度に感応させて緩衝器の減衰力を制御できるので、車両に減衰力制御装置を後付けする場合であっても、減衰力制御装置を車両への容易に設置でき、その設置作業も簡単となる。
【0010】
また、減衰力制御システムにおけるセンサ部は、車体の前後方向の加速度を検知可能であって、制御部は、携帯端末から位置或いは速度が得られない場合、センサ部が検知した車体の前後方向の加速度から車両Vの速度を求め、求めた速度に基づいて緩衝器を制御してもよい。
(【0011】以降は省略されています)
この特許をJ-PlatPat(特許庁公式サイト)で参照する
関連特許
カヤバ株式会社
緩衝器
1か月前
カヤバ株式会社
緩衝器
今日
カヤバ株式会社
緩衝器
1か月前
カヤバ株式会社
ミキサ車
1か月前
カヤバ株式会社
防水構造
1か月前
カヤバ株式会社
ミキサ車
1か月前
カヤバ株式会社
ミキサ車
1か月前
カヤバ株式会社
ギヤポンプ
1か月前
カヤバ株式会社
電動ポンプ
21日前
カヤバ株式会社
展開デッキ
1か月前
カヤバ株式会社
ギヤポンプ
1か月前
カヤバ株式会社
ギヤポンプ
1か月前
カヤバ株式会社
苗木植付装置
1か月前
カヤバ株式会社
苗木抜出装置
1か月前
カヤバ株式会社
苗木植付装置
1か月前
カヤバ株式会社
苗木植付装置
1か月前
カヤバ株式会社
苗木植付装置
1か月前
カヤバ株式会社
シリンダ装置
22日前
カヤバ株式会社
苗木植付装置
1か月前
カヤバ株式会社
筒型リニアモータ
1か月前
カヤバ株式会社
筒部材及び緩衝器
1か月前
カヤバ株式会社
筒部材及び緩衝器
1か月前
カヤバ株式会社
減衰力制御システム
今日
カヤバ株式会社
ミキサドラムのシール構造
1か月前
カヤバ株式会社
ミキサ車及び状態検出装置
1か月前
カヤバ株式会社
ソレノイドバルブおよび緩衝器
1か月前
カヤバ株式会社
ソレノイドバルブおよび緩衝器
1か月前
カヤバ株式会社
ミキサドラムの積載量測定装置
8日前
カヤバ株式会社
減衰力制御装置および減衰力制御システム
今日
カヤバ株式会社
減衰力制御装置および減衰力制御システム
今日
カヤバ株式会社
ダンパ減衰力特性生成装置、ダンパ提示装置、及びプログラム
1か月前
カヤバ株式会社
減衰力制御装置、減衰力制御システムおよびセンサ部の補正方法
今日
個人
タイヤレバー
4か月前
個人
前輪キャスター
3か月前
個人
上部一体型自動車
1か月前
個人
空間形成装置
29日前
続きを見る
他の特許を見る