TOP
|
特許
|
意匠
|
商標
特許ウォッチ
Twitter
他の特許を見る
公開番号
2025174721
公報種別
公開特許公報(A)
公開日
2025-11-28
出願番号
2024081253
出願日
2024-05-17
発明の名称
減衰力制御装置および減衰力制御システム
出願人
カヤバ株式会社
代理人
個人
主分類
B60G
17/015 20060101AFI20251120BHJP(車両一般)
要約
【課題】車両へ後付けを可能としつつもユーザーに情報の伝達が可能であってコストを低減できる減衰力制御装置および減衰力制御システムを提供する。
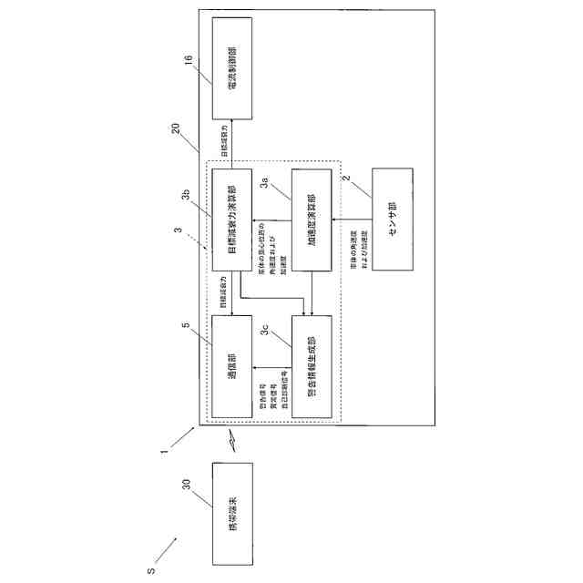
【解決手段】本発明の減衰力制御装置1は、減衰力制御装置1は、車両Vの車体Bの振動を検知するセンサ部2と、車両Vの車体Bと車輪Wとの間に設けられる減衰力調整可能な緩衝器Dの減衰力をセンサ部2で検知した振動情報に基づいて制御する制御部3と、携帯端末30と無線通信可能な通信部5とを備え、振動情報に基づいて得た警告情報を通信部5から携帯端末30へ送信する。
【選択図】図3
特許請求の範囲
【請求項1】
車両の車体の振動を検知するセンサ部と、
前記車両の前記車体と車輪との間に設けられる減衰力調整可能な緩衝器の減衰力を前記センサ部で検知した振動情報に基づいて制御する制御部と、
携帯端末と無線通信可能な通信部とを備え、
前記振動情報に基づいて得た警告情報を前記通信部から前記携帯端末へ送信する
ことを特徴とする減衰力制御装置。
続きを表示(約 610 文字)
【請求項2】
前記振動情報に基づいて異常を検知する異常検知部を有し、
前記異常検知部が異常を検知すると前記通信部から前記携帯端末へ前記警告情報として異常情報を送信する
ことを特徴とする請求項1に記載の減衰力制御装置。
【請求項3】
前記センサ部、前記制御部および前記通信部の全てを収容する筐体を備えた
ことを特徴とする請求項1または2に記載の減衰力制御装置。
【請求項4】
前記制御部は、自己の異常を検知する自己診断部を有し、
前記自己診断部が自己の異常を検知すると前記通信部から前記携帯端末へ前記警告情報として自己異常情報を送信する
ことを特徴とする請求項1または2に記載の減衰力制御装置。
【請求項5】
車両の車体の振動を検知するセンサ部と、前記車両の前記車体と車輪との間に設けられる減衰力調整可能な緩衝器の減衰力を前記センサ部で検知した振動情報に基づいて制御する制御部と、無線通信可能な通信部とを有する減衰力制御装置と、
表示部およびスピーカを有して前記減衰力制御装置と無線通信可能な携帯端末とを備え、
前記携帯端末は、前記減衰力制御装置から前記警告情報を受信すると前記表示部への前記警告情報と前記スピーカーからの警告音の出力との一方または両方を実行する
ことを特徴とする減衰力制御システム。
発明の詳細な説明
【技術分野】
【0001】
本発明は、減衰力制御装置および減衰力制御システムに関する。
続きを表示(約 1,500 文字)
【背景技術】
【0002】
従来、減衰力を調節可能な緩衝器は、車両のばね上部材とばね下部材との間に介装されて伸縮する緩衝器本体と、緩衝器本体内に充填される流体の流れに抵抗を与えるとともにソレノイドで駆動されて発生減衰力を調整する減衰弁とを備えて構成され、ソレノイドに対する制御は、車両に搭載された緩衝器の制御に特化した減衰力制御装置によって行われる。
【0003】
減衰力制御装置は、緩衝器の減衰力を車両の走行状態に応じて最適なものとするため、車両の速度、ばね上加速度やばね下加速度といった走行状態を認識するための各種情報を得るセンサと、当該センサからの情報を基に緩衝器が発生すべき減衰力を求める演算装置とを備えており、緩衝器に求めた減衰力を発生させるように減衰弁のソレノイドへ電流供給する(たとえば、特許文献1参照)。
【先行技術文献】
【特許文献】
【0004】
特開2024-015541号公報
【発明の概要】
【発明が解決しようとする課題】
【0005】
このように構成された減衰力制御装置は、元々車両に付属しておらず車両に対してユーザーが減衰力制御装置を設置する場合、所謂、減衰力制御装置を後付けするような場合、車両Vのシステムと切り離されて使用されるので、自ら得た情報をユーザーに対して伝達できず、伝達するには専用の機器が必要でコストがかかってしまう。
【0006】
そこで、本発明は、車両へ後付けを可能としつつもユーザーに情報の伝達が可能であってコストを低減できる減衰力制御装置および減衰力制御システムの提供を目的としている。
【課題を解決するための手段】
【0007】
上記した目的を達成するため、本発明の減衰力制御装置は、車両の車体の振動を検知するセンサ部と、車両の車体と車輪との間に設けられる減衰力調整可能な緩衝器の減衰力をセンサ部で検知した振動情報に基づいて制御する制御部と、携帯端末と無線通信可能な通信部とを備え、振動情報に基づいて得た警告情報を通信部から携帯端末へ送信する。
【0008】
このように構成された減衰力制御装置によれば、車両に設置された機器へ接続したり、ユーザーに対して警告情報を伝達するための専用機器を有したりしなくても、ユーザーに対して警告が必要な場合にユーザーの携帯端末を介して警告情報を伝達できる。したがって、本実施の形態の減衰力制御装置によれば、車両Vに対して後付けが可能となるとともに、ユーザーに対して自らが得た情報を伝達可能で、コストも低減できる。
【0009】
また、減衰力制御装置は、振動情報に基づいて異常を検知する異常検知部を有し、異常検知部が異常を検知すると通信部から携帯端末へ警告情報として異常情報を送信してもよい。このように構成された減衰力制御装置によれば、振動情報から何らかの異常を検知するとユーザーに異常をタイムリーに知覚させることができる。
【0010】
また、減衰力制御装置は、センサ部、制御部および通信部の全てを収容する筐体を備えてもよい。このように構成された減衰力制御装置によれば、筐体を車体に設置するだけで、車体の振動情報を検知するセンサ部の設置も完了するので、車両への設置が容易である。また、本実施の形態の減衰力制御装置によれば、筐体内にセンサ部が収容されているので、筐体を車体の重心位置付近に設置することによって、精度よく車体の振動情報を検知でき、緩衝器の減衰力の制御に際して良好な制御性を実現できる。
(【0011】以降は省略されています)
この特許をJ-PlatPat(特許庁公式サイト)で参照する
関連特許
カヤバ株式会社
緩衝器
1か月前
カヤバ株式会社
緩衝器
今日
カヤバ株式会社
緩衝器
1か月前
カヤバ株式会社
減圧弁
1か月前
カヤバ株式会社
ミキサ車
1か月前
カヤバ株式会社
ミキサ車
1か月前
カヤバ株式会社
ミキサ車
1か月前
カヤバ株式会社
防水構造
1か月前
カヤバ株式会社
電動ポンプ
1か月前
カヤバ株式会社
展開デッキ
1か月前
カヤバ株式会社
ギヤポンプ
1か月前
カヤバ株式会社
ギヤポンプ
1か月前
カヤバ株式会社
ギヤポンプ
1か月前
カヤバ株式会社
電動ポンプ
21日前
カヤバ株式会社
摩擦試験機
2か月前
カヤバ株式会社
シリンダ装置
22日前
カヤバ株式会社
苗木植付装置
1か月前
カヤバ株式会社
高所作業装置
1か月前
カヤバ株式会社
苗木植付装置
1か月前
カヤバ株式会社
苗木抜出装置
1か月前
カヤバ株式会社
苗木植付装置
1か月前
カヤバ株式会社
苗木植付装置
1か月前
カヤバ株式会社
苗木植付装置
1か月前
カヤバ株式会社
チェックバルブ
2か月前
カヤバ株式会社
回転機の製造方法
1か月前
カヤバ株式会社
筒部材及び緩衝器
1か月前
カヤバ株式会社
ポンプの取付構造
1か月前
カヤバ株式会社
筒型リニアモータ
1か月前
カヤバ株式会社
筒部材及び緩衝器
1か月前
カヤバ株式会社
筒部材及び緩衝器
1か月前
カヤバ株式会社
バルブおよび緩衝器
2か月前
カヤバ株式会社
バルブおよび緩衝器
2か月前
カヤバ株式会社
減衰力制御システム
今日
カヤバ株式会社
ブッシュ及び液圧回転機
1か月前
カヤバ株式会社
ステアバイワイヤユニット
1か月前
カヤバ株式会社
ミキサ車及び状態検出装置
1か月前
続きを見る
他の特許を見る