TOP
|
特許
|
意匠
|
商標
特許ウォッチ
Twitter
他の特許を見る
公開番号
2025174171
公報種別
公開特許公報(A)
公開日
2025-11-28
出願番号
2024080284
出願日
2024-05-16
発明の名称
緩衝器
出願人
カヤバ株式会社
,
カヤバモーターサイクルサスペンション株式会社
代理人
個人
主分類
F16F
9/32 20060101AFI20251120BHJP(機械要素または単位;機械または装置の効果的機能を生じ維持するための一般的手段)
要約
【課題】製造コストを低減し、軽量化を図ることができるとともにメンテナンス作業も容易となる緩衝器を提供する。
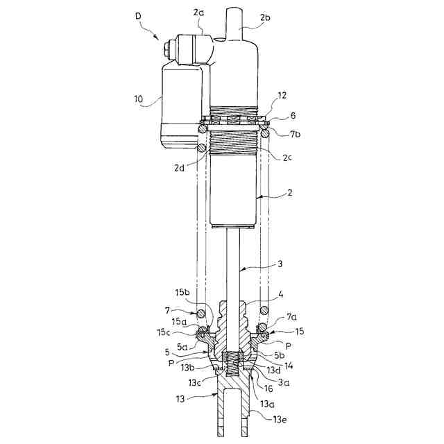
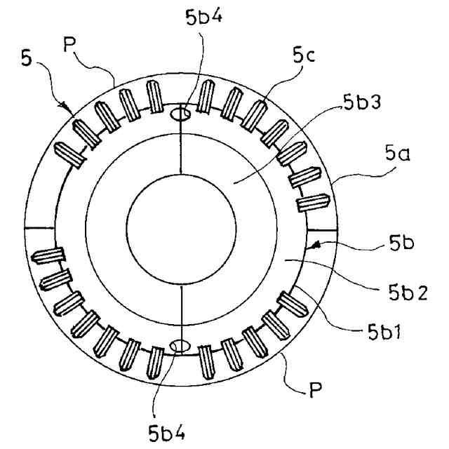
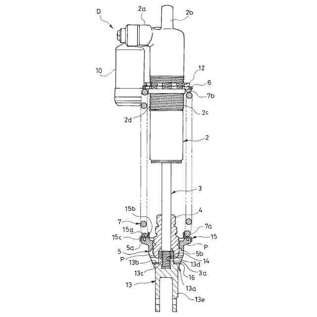
【解決手段】本発明における緩衝器Dは、アウターチューブ2とピストンロッド3とを有する緩衝器本体1と、ピストンロッド3の先端側の外周に配置されるバンプラバー4と、環状であってピストンロッド3に取り付けられてバンプラバー4の外周を保持するピストンロッド側ばね受5と、アウターチューブ2に取り付けられるチューブ側ばね受6と、ピストンロッド側ばね受5とチューブ側ばね受6との間に介装される懸架ばね7とを備え、ピストンロッド側ばね受5は、合成樹脂製であって、懸架ばね7の一端7aを支持する支持部5aと、支持部5aに連なってバンプラバー4の外周を保持する保持部5bとを有して、ピストンロッド3の軸方向に対して垂直な方向に分解可能な複数のピースP,Pによって形成されている。
【選択図】図1
特許請求の範囲
【請求項1】
アウターチューブと、前記アウターチューブ内に軸方向へ移動可能に挿入されるピストンロッドとを有する緩衝器本体と、
前記ピストンロッドの先端側の外周に配置される筒状のバンプラバーと、
環状であって前記ピストンロッドの先端側に取り付けられるとともに前記バンプラバーの外周を保持するピストンロッド側ばね受と、
前記アウターチューブに取り付けられるチューブ側ばね受と、
前記ピストンロッド側ばね受と前記チューブ側ばね受との間に介装される懸架ばねとを備え、
前記ピストンロッド側ばね受は、
合成樹脂製であって、
前記懸架ばねの一端を支持する支持部と、
前記支持部の反アウターチューブ側に連なって前記バンプラバーの外周を保持する保持部とを有して、
前記ピストンロッドの軸方向に対して垂直な方向に分解可能な複数のピースによって形成されている
ことを特徴とする緩衝器。
続きを表示(約 510 文字)
【請求項2】
前記ピストンロッド側ばね受は、内外を連通する孔を有し、
前記ピースのそれぞれは、
隣り合う前記ピース同士の合わせ面の一方あるいは両方に連なる前記孔を形成する切欠を有する
ことを特徴とする請求項1に記載の緩衝器。
【請求項3】
前記ピースは、それぞれ同一の形状を備えている
ことを特徴とする請求項1に記載の緩衝器。
【請求項4】
前記ピストンロッドの先端に装着されるとともに、前記ピストンロッド側ばね受の反アウターチューブ側端に軸方向で対向する環状の対向面と、前記対向面の内周からピストンロッド側に突出して前記ピストンロッド側ばね受の内周に嵌合する凸部とを有するブラケットと、
前記対向面に積層される環状のプレートとを備え、
前記ピストンロッド側ばね受は、反アウターチューブ側に前記ブラケットの対向面と軸方向で対向してプレートに当接する環状のプレート対向面を有し、
前記プレートと前記プレート対向面との内径は等しく、前記プレートの外径は前記プレート対向面以上となっている
ことを特徴とする請求項1に記載の緩衝器。
発明の詳細な説明
【技術分野】
【0001】
本発明は、緩衝器に関する。
続きを表示(約 1,600 文字)
【背景技術】
【0002】
緩衝器は、たとえば、鞍乗車両における車両の車体と後輪との間に介装されて使用され、伸縮時に発生する減衰力で車体と後輪の振動を抑制する。
【0003】
具体的には、緩衝器は、アウターチューブとアウターチューブ内に軸方向へ移動自在に挿入されるピストンロッドとを有して伸縮時に伸縮を妨げる減衰力を発生する緩衝器本体を備える他、ピストンロッドの先端側の外周に配置されるバンプラバーと、バンプラバーを保持するとともにピストンロッドに取り付けられる環状の保持部材と、保持部材に下端によって支持されるC形のピストンロッド側ばね受と、アウターチューブの外周に装着されたチューブ側ばね受と、ピストンロッド側ばね受とチューブ側ばね受けとの間に介装されるコイルばねでなる懸架ばねとを備えている(たとえば、特許文献1参照)。
【0004】
従来の緩衝器では、チューブ側ばね受を装着したアウターチューブを懸架ばねの内周側に挿入した後、C形のピストンロッド側ばね受の内方にピストンロッドを挿入してピストンロッド側ばね受を懸架ばねの一端に嵌合させ、バンプラバーを保持した保持部材の内方にピストンロッドとピストンロッド側ばね受を挿入してから、ピストンロッドの先端にブラケットを取り付けると、ピストンロッド側ばね受、保持部材およびバンプラバーがピストンロッドに固定されるとともに懸架ばねがピストンロッド側ばね受とチューブ側ばね受との間で圧縮された状態で介装される。
【0005】
このように構成された緩衝器は、前記鞍乗車両の車体と後輪との間に介装されると懸架ばねが発揮する弾発力で車体を弾性支持するとともに、伸縮時に緩衝器本体が減衰力を発生して車体の振動の抑制できる。
【先行技術文献】
【特許文献】
【0006】
特開2019-52671号公報
【発明の概要】
【発明が解決しようとする課題】
【0007】
従来の緩衝器では、前述のように懸架ばねを支持するピストンロッド側ばね受と、バンプラバーを保持する保持部材とを備えており、ピストンロッド側ばね受と保持部材とが金属製であって鋳造或いは鍛造後に切削加工して形成する必要があり、製造コストと重量が嵩むという問題がある。
【0008】
また、緩衝器のメンテナンス時の分解の際に、懸架ばねを押し縮めて保持部材からピストンロッド側ばね受を分離させてピストンロッド側ばね受けを取り外すとともに、ブラケットをピストンロッドから取り外して保持部材をピストンロッドから抜かなければならず、メンテナンス作業が煩雑となっていた。
【0009】
そこで、本発明は、製造コストを低減し、軽量化を図ることができるとともにメンテナンス作業も容易な緩衝器の提供を目的としている。
【課題を解決するための手段】
【0010】
前記した課題を解決するために、本発明の緩衝器は、アウターチューブと、アウターチューブ内に軸方向へ移動可能に挿入されるピストンロッドとを有する緩衝器本体と、ピストンロッドの先端側の外周に配置される筒状のバンプラバーと、環状であってピストンロッドの先端側に取り付けられるとともにバンプラバーの外周を保持するピストンロッド側ばね受と、アウターチューブに取り付けられるチューブ側ばね受と、ピストンロッド側ばね受とチューブ側ばね受との間に介装される懸架ばねとを備え、ピストンロッド側ばね受は、合成樹脂製であって、懸架ばねの一端を支持する支持部と、支持部の反アウターチューブ側に連なってバンプラバーの外周を保持する保持部とを有して、ピストンロッドの軸方向に対して垂直な方向に分解可能な複数のピースによって形成されている。
(【0011】以降は省略されています)
この特許をJ-PlatPat(特許庁公式サイト)で参照する
関連特許
カヤバ株式会社
緩衝器
1か月前
カヤバ株式会社
緩衝器
今日
カヤバ株式会社
緩衝器
1か月前
カヤバ株式会社
減圧弁
1か月前
カヤバ株式会社
ミキサ車
1か月前
カヤバ株式会社
ミキサ車
1か月前
カヤバ株式会社
防水構造
1か月前
カヤバ株式会社
ミキサ車
1か月前
カヤバ株式会社
ギヤポンプ
1か月前
カヤバ株式会社
展開デッキ
1か月前
カヤバ株式会社
電動ポンプ
1か月前
カヤバ株式会社
ギヤポンプ
1か月前
カヤバ株式会社
ギヤポンプ
1か月前
カヤバ株式会社
電動ポンプ
21日前
カヤバ株式会社
摩擦試験機
2か月前
カヤバ株式会社
苗木植付装置
1か月前
カヤバ株式会社
高所作業装置
1か月前
カヤバ株式会社
苗木植付装置
1か月前
カヤバ株式会社
苗木植付装置
1か月前
カヤバ株式会社
苗木抜出装置
1か月前
カヤバ株式会社
苗木植付装置
1か月前
カヤバ株式会社
苗木植付装置
1か月前
カヤバ株式会社
シリンダ装置
22日前
カヤバ株式会社
チェックバルブ
2か月前
カヤバ株式会社
筒部材及び緩衝器
1か月前
カヤバ株式会社
回転機の製造方法
1か月前
カヤバ株式会社
ポンプの取付構造
1か月前
カヤバ株式会社
筒型リニアモータ
1か月前
カヤバ株式会社
筒部材及び緩衝器
1か月前
カヤバ株式会社
筒部材及び緩衝器
1か月前
カヤバ株式会社
バルブおよび緩衝器
2か月前
カヤバ株式会社
バルブおよび緩衝器
2か月前
カヤバ株式会社
減衰力制御システム
今日
カヤバ株式会社
ブッシュ及び液圧回転機
1か月前
カヤバ株式会社
アクチュエータユニット
2か月前
カヤバ株式会社
ステアバイワイヤユニット
1か月前
続きを見る
他の特許を見る