TOP
|
特許
|
意匠
|
商標
特許ウォッチ
Twitter
他の特許を見る
公開番号
2025147887
公報種別
公開特許公報(A)
公開日
2025-10-07
出願番号
2024048381
出願日
2024-03-25
発明の名称
ポンプの取付構造
出願人
カヤバ株式会社
代理人
弁理士法人後藤特許事務所
主分類
F04C
15/00 20060101AFI20250930BHJP(液体用容積形機械;液体または圧縮性流体用ポンプ)
要約
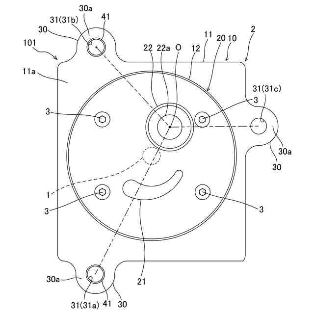
【課題】被取付体に対するポンプの取り付け精度を低コストで高めること。
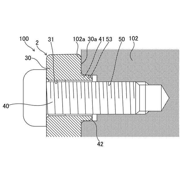
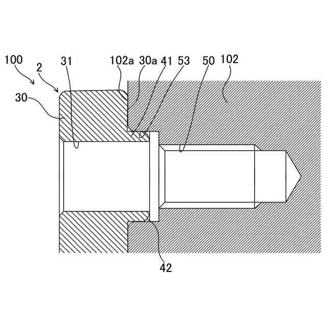
【解決手段】ポンプのハウジング2は、本体部10と、ボルト40により被取付体102と固定されるフランジ30と、を有し、フランジ30には、ボルト40が挿通する挿通孔31と、フランジ30の端面から突出してフランジ30と一体に形成され、ボルト40が挿通するカラー41と、を有し、被取付体102は、ハウジング2の挿通孔31に対応して形成され、ボルト40が締結される締結穴50と、カラー41が嵌合する嵌合穴53と、を備える。
【選択図】図4
特許請求の範囲
【請求項1】
締結部材を介して被取付体にポンプのハウジングを取り付けるための取付構造であって、
前記ハウジングは、
本体部と、
前記本体部に形成され、前記締結部材により前記被取付体と固定される固定部と、を有し、
前記固定部は、
前記締結部材が挿通する挿通孔と、
前記固定部の端面から突出して前記固定部と一体に形成され、前記締結部材が挿通する円筒部と、を有し、
前記被取付体は、
前記ハウジングの前記挿通孔に対応して形成され、前記締結部材が締結される締結穴と、
前記締結穴と連続して形成され、前記ハウジングの前記円筒部が嵌合する嵌合穴と、を有することを特徴とするポンプの取付構造。
続きを表示(約 670 文字)
【請求項2】
請求項1に記載のポンプの取付構造であって、
前記ハウジングは、樹脂製であることを特徴とするポンプの取付構造。
【請求項3】
請求項2に記載のポンプの取付構造であって、
前記ハウジングは、前記ポンプに液体を導く吸込口又は前記ポンプから吐出される液体を導く吐出口が設けられ前記本体部から突出して形成される突出部をさらに有し、
前記被取付体は、
前記ハウジングの前記本体部の一部を収容する収容凹部と、
前記ハウジングの前記突出部が挿入される挿入穴と、をさらに有し、
前記ハウジングは、前記本体部又は前記突出部により前記被取付体に対して位置決めされることを特徴とするポンプの取付構造。
【請求項4】
請求項1に記載のポンプの取付構造であって、
前記ハウジングは、前記ポンプに液体を導く吸込口又は前記ポンプから吐出される液体を導く吐出口が設けられ前記本体部から突出して形成される突出部をさらに有し、
互いに対応する前記挿通孔及び前記締結穴は、複数設けられ、
前記円筒部及び前記嵌合穴は、複数の互いに対応する前記挿通孔及び前記締結穴のうち、前記突出部から最も遠い前記挿通孔及び前記締結穴に設けられることを特徴とするポンプの取付構造。
【請求項5】
請求項1に記載のポンプの取付構造であって、
前記円筒部は、先端部に向かうにつれて外径が小さくなるテーパ部を有することを特徴とするポンプの取付構造。
発明の詳細な説明
【技術分野】
【0001】
本発明は、ポンプの取付構造に関するものである。
続きを表示(約 1,200 文字)
【背景技術】
【0002】
特許文献1には、電動ポンプ装置と、電動ポンプ装置が取り付けられる被取付体と、を備える、電動ポンプ装置の取付構造が開示されている。この取付構造では、電動ポンプ装置の位置決め部が、被取付体の取付面の位置決め部と嵌合することにより、被取付体に対する電動ポンプ装置の取り付け精度を確保している。
【先行技術文献】
【特許文献】
【0003】
特開2021-4604号公報
【発明の概要】
【発明が解決しようとする課題】
【0004】
特許文献1において、電動ポンプ装置の位置決め部は、フランジ部の端面に形成された穴部に圧入により固定されるピン部である。そのため、ピン部が圧入される穴部の専用の加工が必要となるため、加工工数が増加してしまう。結果として、電動ポンプの製造コストが嵩んでしまう。
【0005】
本発明は、上記の問題点に鑑みてなされたものであり、被取付体に対するポンプの取り付け精度を低コストで高めることを目的とする。
【課題を解決するための手段】
【0006】
本発明は、締結部材を介して被取付体にポンプのハウジングを取り付けるための取付構造であって、前記ハウジングは、本体部と、前記本体部に形成され、前記締結部材により前記被取付体と固定される固定部と、を有し、前記固定部は、前記締結部材が挿通する挿通孔と、前記固定部の端面から突出して前記固定部と一体に形成され、前記締結部材が挿通する円筒部と、を有し、前記被取付体は、前記ハウジングの前記挿通孔に対応して形成され、前記締結部材が締結される締結穴と、前記ハウジングの前記円筒部が嵌合する嵌合穴と、を有することを特徴とする。
【0007】
この発明では、円筒部は固定部と一体に形成される。また、円筒部が嵌合する嵌合穴は締結部材が締結される締結穴と連続して形成されるため、嵌合穴及び締結穴の加工を一緒に行うことができる。よって、被取付体に対するポンプの取り付け精度を低コストで高めることができる。
【0008】
また、本発明は、前記ハウジングは、樹脂製であることを特徴とする。
【0009】
この発明では、ハウジングの固定部と一体に形成される円筒部が樹脂で形成されるため、円筒部の寸法の精度が向上する。よって、被取付体に対するポンプの取り付け精度をより高めることができる。
【0010】
また、本発明は、前記ハウジングは、前記ポンプに液体を導く吸込口又は前記ポンプから吐出される液体を導く吐出口が設けられ前記本体部から突出して形成される突出部をさらに有し、前記被取付体は、前記ハウジングの前記本体部の一部を収容する収容凹部と、前記ハウジングの前記突出部が挿入される挿入穴と、をさらに有し、前記ハウジングは、前記本体部又は前記突出部により前記被取付体に対して位置決めされることを特徴とする。
(【0011】以降は省略されています)
この特許をJ-PlatPat(特許庁公式サイト)で参照する
関連特許
カヤバ株式会社
緩衝器
1か月前
カヤバ株式会社
減圧弁
1か月前
カヤバ株式会社
緩衝器
1か月前
カヤバ株式会社
ミキサ車
28日前
カヤバ株式会社
防水構造
28日前
カヤバ株式会社
ミキサ車
28日前
カヤバ株式会社
ミキサ車
28日前
カヤバ株式会社
電動ポンプ
今日
カヤバ株式会社
摩擦試験機
1か月前
カヤバ株式会社
ギヤポンプ
28日前
カヤバ株式会社
ギヤポンプ
28日前
カヤバ株式会社
ギヤポンプ
28日前
カヤバ株式会社
電動ポンプ
1か月前
カヤバ株式会社
展開デッキ
28日前
カヤバ株式会社
高所作業装置
1か月前
カヤバ株式会社
シリンダ装置
1日前
カヤバ株式会社
冗長システム
2か月前
カヤバ株式会社
苗木植付装置
28日前
カヤバ株式会社
苗木植付装置
28日前
カヤバ株式会社
苗木植付装置
28日前
カヤバ株式会社
苗木植付装置
28日前
カヤバ株式会社
苗木抜出装置
28日前
カヤバ株式会社
苗木植付装置
28日前
カヤバ株式会社
流体圧制御装置
1か月前
カヤバ株式会社
チェックバルブ
1か月前
カヤバ株式会社
筒型リニアモータ
1か月前
カヤバ株式会社
回転機の製造方法
1か月前
カヤバ株式会社
筒部材及び緩衝器
1か月前
カヤバ株式会社
ポンプの取付構造
1か月前
カヤバ株式会社
筒部材及び緩衝器
1か月前
カヤバ株式会社
筒部材及び緩衝器
1か月前
カヤバ株式会社
バルブおよび緩衝器
1か月前
カヤバ株式会社
反力アクチュエータ
1か月前
カヤバ株式会社
バルブおよび緩衝器
1か月前
カヤバ株式会社
ブッシュ及び液圧回転機
1か月前
カヤバ株式会社
アクチュエータユニット
1か月前
続きを見る
他の特許を見る