TOP
|
特許
|
意匠
|
商標
特許ウォッチ
Twitter
他の特許を見る
公開番号
2025149167
公報種別
公開特許公報(A)
公開日
2025-10-08
出願番号
2024049644
出願日
2024-03-26
発明の名称
筒型リニアモータ
出願人
カヤバ株式会社
代理人
個人
主分類
H02K
41/025 20060101AFI20251001BHJP(電力の発電,変換,配電)
要約
【課題】ロッドの先端から配線の引き出しを許容できるとともに質量が大きくなるのを避けて実用性を向上できる筒型リニアモータを提供する。
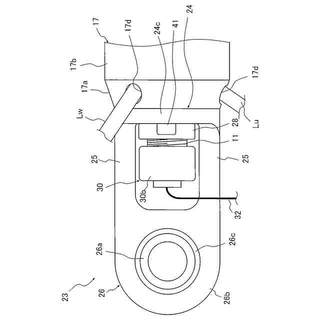
【解決手段】筒型リニアモータ1は、ロッド11と、ロッド11の外周に装着される電機子2と、筒状であって内方にロッド11および電機子2が軸方向へ移動自在に挿入される界磁6と、ロッド11内部に設けられるストロークセンサSと、巻線用配線Lu,Lv,Lwと、信号線32と、ロッド11の先端に設けられたブラケット23とを備え、ブラケット23は、ロッド11の先端に装着される基部24と、基部24の中央を避けた位置から立ち上がる複数の脚部25,25と、脚部25,25のそれぞれに接続されてロッド11の軸線上に配置される連結部26とを有し、巻線用配線Lu,Lv,Lwと信号線32との少なくとも一方は、ロッド11の先端から脚部25,25の間を介して外部へ引き出されている。
【選択図】図1
特許請求の範囲
【請求項1】
中空なロッドと、
筒状であって前記ロッドの外周に装着されるコアと、前記コアの外周に設けられたスロットに装着される巻線とを有する電機子と、
筒状であって内方に前記ロッドおよび前記電機子が軸方向へ移動自在に挿入されて軸方向にN極とS極とが交互に配置される界磁と、
前記ロッド内部に設けられ、前記界磁に対する前記電機子の位置を検知するストロークセンサと、
前記巻線に接続される巻線用配線と、
前記ストロークセンサに接続される信号線と、
前記ロッドの先端に設けられたブラケットとを備え、
前記ブラケットは、前記ロッドの先端に装着される環状の基部と、前記基部の反ロッド側であって中央を避けた位置から立ち上がる複数の脚部と、前記脚部のそれぞれに接続されて、前記基部の反ロッド側であって前記ロッドの軸線上に配置されるとともに外部機器に連結可能な連結部とを有し、
前記巻線用配線と前記信号線との少なくとも一方は、前記ロッドの先端から前記脚部の間を介して外部へ引き出される
ことを特徴とする筒型リニアモータ。
続きを表示(約 390 文字)
【請求項2】
前記ロッドの外周を覆って前記ロッドとの間に前記巻線用配線と前記信号線との他方を収容する空間を形成するとともに前記巻線用配線と前記信号線との他方を外方へ引き出すための導出孔を有する筒状のカバーを備えた
ことを特徴とする請求項1に記載の筒型リニアモータ。
【請求項3】
前記界磁の内周に設けた非磁性体のインナーチューブと、
前記ロッドの外周に固定されるスライダとを備え、
前記カバーの一端は、前記ブラケットにおける前記基部に対してボルトによって周方向へ回転不能に固定され、
前記スライダは、前記カバーの他端の内周に嵌合する嵌合部と、前記嵌合部の反カバー側に連なるとともに前記嵌合部よりも外径が大径であって前記インナーチューブの内周に摺接する摺接部とを有する
ことを特徴とする請求項2に記載の筒型リニアモータ。
発明の詳細な説明
【技術分野】
【0001】
本発明は、筒型リニアモータに関する。
続きを表示(約 1,400 文字)
【背景技術】
【0002】
筒型リニアモータは、たとえば、外筒の内周に軸方向にS極とN極とが交互に並ぶように収容される複数の永久磁石を有する界磁と、界磁の内周に移動自在に挿入される筒状のロッドとロッドの外周に装着されるU相、V相およびW相の三相の巻線とを有する電機子とを備えるものがある。
【0003】
このように構成された筒型リニアモータでは、巻線は同相同士で直列に接続されており、各相の巻線の一端がそれぞれ配線に接続される。そして、各相巻線にそれぞれ接続された三つの配線は、筒状のロッド内を介してロッドの先端から外方へ引き出されて外部電源に接続される(たとえば、特許文献1参照)。
【先行技術文献】
【特許文献】
【0004】
特開2013-029159号公報
【発明の概要】
【発明が解決しようとする課題】
【0005】
従来の筒型リニアモータは、前述のようにロッドの先端から電機子に接続された配線が外方へ引き出されているため、動力を必要とする外部機器に連結するためのブラケットをロッドの先端に設けることができない。
【0006】
推力がさほど大きくない筒型リニアモータでは、推力荷重が作用するロッドの軸線上にブラケットを配置しなくても問題がない場合があるものの、大きな推力の発生が見込まれる筒型リニアモータでは、推力荷重の作用線から径方向に偏心した位置にブラケットを設けると、ブラケットに過大なモーメントが作用することになる。
【0007】
このようにブラケットに過大なモーメントが作用する構造を採用する場合、ブラケットが大型化して質量が大きくなって、筒型リニアモータの質量当たりの推力が小さくなり、筒型リニアモータの実用性が低下してしまう。
【0008】
そこで、本発明は、ロッドの先端から配線の引き出しを許容できるとともに質量が大きくなるのを避けて実用性を向上できる筒型リニアモータの提供を目的としている。
【課題を解決するための手段】
【0009】
上記の目的を達成するため、本発明の筒型リニアモータは、中空なロッドと、筒状であってロッドの外周に装着されるコアと、コアの外周に設けられたスロットに装着される巻線とを有する電機子と、筒状であって内方にロッドおよび電機子が軸方向へ移動自在に挿入されて軸方向にN極とS極とが交互に配置される界磁と、ロッド内部に設けられ界磁に対する電機子の位置を検出するストロークセンサと、巻線に接続される巻線用配線と、ストロークセンサに接続される信号線と、ロッドの先端に設けられたブラケットとを備え、ブラケットは、ロッドの先端に装着される環状の基部と、基部の反ロッド側であって中央を避けた位置から立ち上がる複数の脚部と、脚部のそれぞれに接続されて、基部の反ロッド側であってロッドの軸線上に配置されるとともに外部機器に連結可能な連結部とを有し、巻線用配線と信号線との少なくとも一方は、ロッドの先端から脚部の間を介して外部へ引き出される。
【0010】
このように構成された筒型リニアモータによれば、ロッドの先端側から巻線用配線或いは信号線を外方へ引き出すようにしても、自己が発生する推力荷重の作用線上にブラケットを配置してブラケットに過大なモーメントが負荷するのを回避できるので、ブラケットの大型化を回避できる。
(【0011】以降は省略されています)
この特許をJ-PlatPat(特許庁公式サイト)で参照する
関連特許
カヤバ株式会社
緩衝器
2日前
カヤバ株式会社
緩衝器
2日前
カヤバ株式会社
減圧弁
9日前
カヤバ株式会社
電動ポンプ
2か月前
カヤバ株式会社
摩擦試験機
11日前
カヤバ株式会社
電動ポンプ
7日前
カヤバ株式会社
冗長システム
1か月前
カヤバ株式会社
高所作業装置
7日前
カヤバ株式会社
流体圧制御装置
23日前
カヤバ株式会社
チェックバルブ
11日前
カヤバ株式会社
筒部材及び緩衝器
2日前
カヤバ株式会社
筒部材及び緩衝器
2日前
カヤバ株式会社
筒部材及び緩衝器
2日前
カヤバ株式会社
ポンプの取付構造
3日前
カヤバ株式会社
回転機の製造方法
7日前
カヤバ株式会社
筒型リニアモータ
2日前
カヤバ株式会社
反力アクチュエータ
1か月前
カヤバ株式会社
バルブおよび緩衝器
11日前
カヤバ株式会社
バルブおよび緩衝器
11日前
カヤバ株式会社
ステアバイワイヤ装置
2か月前
カヤバ株式会社
アクチュエータユニット
21日前
カヤバ株式会社
ブッシュ及び液圧回転機
7日前
カヤバ株式会社
ステアバイワイヤユニット
7日前
カヤバ株式会社
ミキサ車及び状態検出装置
1日前
カヤバ株式会社
ソレノイドバルブおよび緩衝器
2日前
カヤバ株式会社
ソレノイドバルブおよび緩衝器
2日前
カヤバ株式会社
モータ制御装置、及びプログラム
8日前
カヤバ株式会社
インレットブロック及びバルブ装置
21日前
個人
電源装置
22日前
個人
バッテリ内蔵直流電源
21日前
株式会社FUJI
制御盤
11日前
西部電機株式会社
充電装置
3日前
オムロン株式会社
電源回路
15日前
オムロン株式会社
電源回路
15日前
オムロン株式会社
電源回路
15日前
西部電機株式会社
充電装置
3日前
続きを見る
他の特許を見る