TOP
|
特許
|
意匠
|
商標
特許ウォッチ
Twitter
他の特許を見る
公開番号
2025152566
公報種別
公開特許公報(A)
公開日
2025-10-10
出願番号
2024054512
出願日
2024-03-28
発明の名称
ミキサドラムのシール構造
出願人
カヤバ株式会社
代理人
弁理士法人後藤特許事務所
主分類
B60P
3/16 20060101AFI20251002BHJP(車両一般)
要約
【課題】ミキサドラムの外周面への生コンクリートの到達を抑制する。
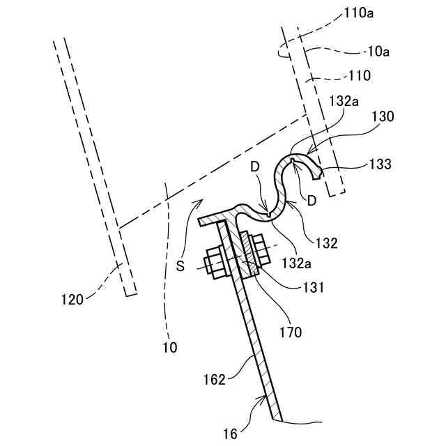
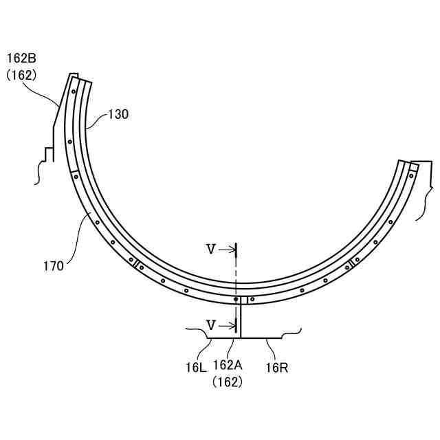
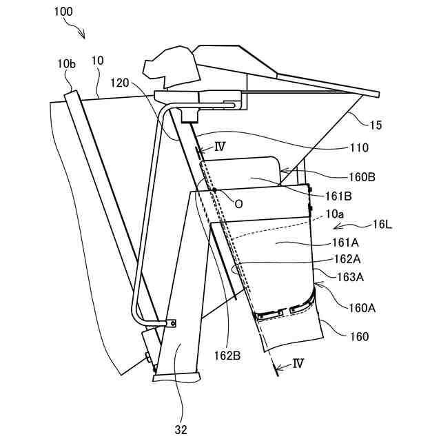
【解決手段】ミキサ車100に搭載されるミキサドラム10のシール構造は、ミキサドラム10の開口部10aから排出される生コンを受けるフローガイド16と、開口部10aの周囲に設けられるエンドリング110と、フローガイド16に取り付けられるとともにエンドリング110に接触して設けられるシール部材130と、を備え、シール部材130は、エラストマで形成されフローガイド16とエンドリング110の間で反発力を発生する撓み部132を有する。
【選択図】図5
特許請求の範囲
【請求項1】
ミキサ車に搭載されるミキサドラムのシール構造であって、
ミキサドラムの開口部から排出される生コンクリートを受けるフローガイドと、
前記開口部の周囲に設けられるエンドリングと、
前記フローガイドに取り付けられるとともに前記エンドリングに接触して設けられるシール部材と、を備え、
前記シール部材は、弾性材料で形成され前記フローガイドと前記エンドリングの間で反発力を発生する撓み部を有することを特徴とするミキサドラムのシール構造。
続きを表示(約 250 文字)
【請求項2】
請求項1に記載のミキサドラムのシール構造であって、
前記撓み部は、湾曲部を有する、ことを特徴とするミキサドラムのシール構造。
【請求項3】
請求項2に記載のミキサドラムのシール構造であって、
前記湾曲部は、内側に溝を有する、ことを特徴とするミキサドラムのシール構造。
【請求項4】
請求項2に記載のドラムのシール構造であって、
前記シール部材は、前記エンドリングと接触する凸部を有する、ことを特徴とするミキサドラムのシール構造。
発明の詳細な説明
【技術分野】
【0001】
本発明はミキサドラムのシール構造に関する。
続きを表示(約 1,100 文字)
【背景技術】
【0002】
特許文献1には、生コンクリートを混錬するドラムが車体フレーム後部に回転自在に支持されたミキサ車が開示されている。
【先行技術文献】
【特許文献】
【0003】
特開2022-102284号公報
【発明の概要】
【発明が解決しようとする課題】
【0004】
ミキサドラムの開口部から排出される生コンクリートを受けるフローガイドは、回転体であるミキサドラムから離れて設置される。このため、ミキサドラムの開口部から排出される生コンクリートの一部や、ミキサ車後端部の洗浄中に発生する洗浄排水(生コンクリートを含む洗浄排水)が、ミキサドラムとフローガイドとの間を通じてミキサドラムの外周面に到達し、外周面を汚してしまうおそれがある。
【0005】
本発明はこのような課題に鑑みてなされたもので、ミキサドラムの外周面への生コンクリートの到達を抑制することを目的とする。
【課題を解決するための手段】
【0006】
本発明は、ミキサ車に搭載されるミキサドラムのシール構造であって、ミキサドラムの開口部から排出される生コンクリートを受けるフローガイドと、開口部の周囲に設けられるエンドリングと、フローガイドに取り付けられるとともにエンドリングに接触して設けられるシール部材と、を備え、シール部材は、弾性材料で形成されフローガイドとエンドリングの間で反発力を発生する撓み部を有することを特徴とする。
【0007】
この発明によれば、撓み部の反発力により、シール部材をエンドリングに押し付けることができる。また、撓み部は、撓んで変形するので、エンドリングに追従して変形し易い。このため、フローガイド及びエンドリング間の寸法にばらつきや変化があっても、エンドリングに対するシール部材の密着性を高めることができ、シール部材とエンドリングとの間を通じて、生コンクリートがミキサドラムの外周面に到達することを抑制できる。
【0008】
また、本発明は、撓み部は湾曲部を有する、ことを特徴とする。
【0009】
この発明によれば、湾曲部によって撓み部がより撓み易くなるので、フローガイド及びエンドリング間の寸法のばらつきや変化が大きい場合でも、エンドリングに対するシール部材の密着性を高めることができる。
【0010】
また、本発明は、湾曲部は、内側に溝を有する、ことを特徴とする。
(【0011】以降は省略されています)
この特許をJ-PlatPat(特許庁公式サイト)で参照する
関連特許
カヤバ株式会社
緩衝器
25日前
カヤバ株式会社
減圧弁
1か月前
カヤバ株式会社
緩衝器
25日前
カヤバ株式会社
ミキサ車
23日前
カヤバ株式会社
ミキサ車
23日前
カヤバ株式会社
防水構造
23日前
カヤバ株式会社
ミキサ車
23日前
カヤバ株式会社
ギヤポンプ
23日前
カヤバ株式会社
摩擦試験機
1か月前
カヤバ株式会社
ギヤポンプ
23日前
カヤバ株式会社
電動ポンプ
1か月前
カヤバ株式会社
展開デッキ
23日前
カヤバ株式会社
ギヤポンプ
23日前
カヤバ株式会社
高所作業装置
1か月前
カヤバ株式会社
苗木植付装置
23日前
カヤバ株式会社
冗長システム
2か月前
カヤバ株式会社
苗木植付装置
23日前
カヤバ株式会社
苗木植付装置
23日前
カヤバ株式会社
苗木植付装置
23日前
カヤバ株式会社
苗木抜出装置
23日前
カヤバ株式会社
苗木植付装置
23日前
カヤバ株式会社
流体圧制御装置
1か月前
カヤバ株式会社
チェックバルブ
1か月前
カヤバ株式会社
筒部材及び緩衝器
25日前
カヤバ株式会社
回転機の製造方法
1か月前
カヤバ株式会社
ポンプの取付構造
26日前
カヤバ株式会社
筒部材及び緩衝器
25日前
カヤバ株式会社
筒型リニアモータ
25日前
カヤバ株式会社
筒部材及び緩衝器
25日前
カヤバ株式会社
バルブおよび緩衝器
1か月前
カヤバ株式会社
反力アクチュエータ
1か月前
カヤバ株式会社
バルブおよび緩衝器
1か月前
カヤバ株式会社
アクチュエータユニット
1か月前
カヤバ株式会社
ブッシュ及び液圧回転機
1か月前
カヤバ株式会社
ミキサドラムのシール構造
23日前
カヤバ株式会社
ステアバイワイヤユニット
1か月前
続きを見る
他の特許を見る