TOP
|
特許
|
意匠
|
商標
特許ウォッチ
Twitter
他の特許を見る
10個以上の画像は省略されています。
公開番号
2025174720
公報種別
公開特許公報(A)
公開日
2025-11-28
出願番号
2024081252
出願日
2024-05-17
発明の名称
減衰力制御装置および減衰力制御システム
出願人
カヤバ株式会社
代理人
個人
主分類
B60G
17/015 20060101AFI20251120BHJP(車両一般)
要約
【課題】減衰力を調整するためのパラメータを容易に変更でき、路面状況等に適した制御やユーザーの好みに応じた制御が可能な減衰力制御装置および減衰力制御システムを提供する。
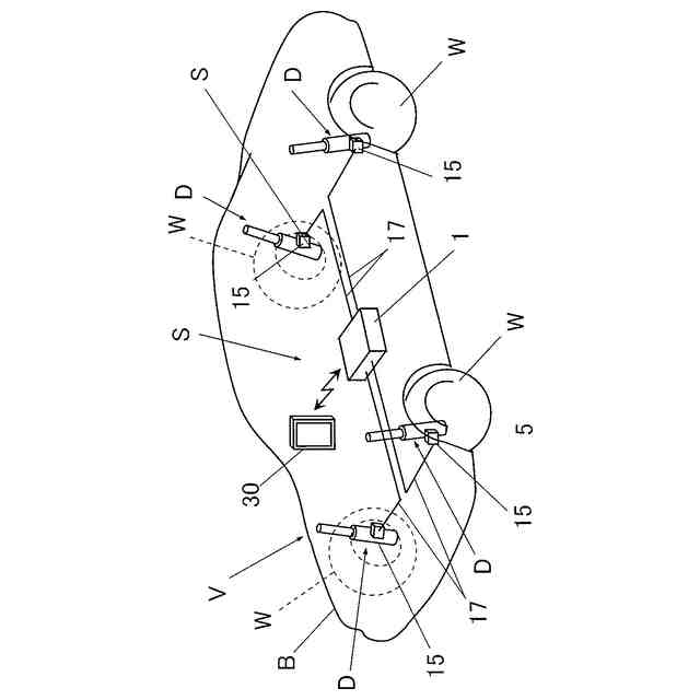
【解決手段】本発明の減衰力制御装置1は、車両Vの車体Bの振動を検知するセンサ部2と、車両Vの車体Bと車輪Wとの間に設けられる減衰力調整可能な緩衝器Dの減衰力をセンサ部2で検知した振動情報に基づいて制御する制御部3と、携帯端末30と無線通信可能な通信部5とを備え、制御部3は、減衰力の調整に用いるパラメータの携帯端末30の操作による設定を許容する。また、本発明の減衰力制御システムSは、減衰力制御装置1と携帯端末30とを備えている。
【選択図】図4
特許請求の範囲
【請求項1】
車両の車体の振動を検知するセンサ部と、
前記車両の前記車体と車輪との間に設けられる減衰力調整可能な緩衝器の減衰力を前記センサ部で検知した振動情報に基づいて制御する制御部と、
携帯端末と無線通信可能な通信部とを備え、
前記制御部は、前記減衰力の調整に用いるパラメータの前記携帯端末の操作による設定を許容する
ことを特徴とする減衰力制御装置。
続きを表示(約 1,000 文字)
【請求項2】
前記センサ部、前記制御部および前記通信部を収容する筐体を備えた
ことを特徴とする請求項1に記載の減衰力制御装置。
【請求項3】
前記制御部は、自身が使用するプログラムを前記携帯端末から無線通信により入手して更新可能である
ことを特徴とする請求項1または2に記載の減衰力制御装置。
【請求項4】
前記制御部は、前記携帯端末からの要求により前記振動情報を前記携帯端末に送信可能である
ことを特徴とする請求項1または2に記載の減衰力制御装置。
【請求項5】
車両の車体の振動を検知するセンサ部と、前記車両の前記車体と車輪との間に設けられる減衰力調整可能な緩衝器の減衰力を前記センサ部で検知した振動情報に基づいて制御する制御部と、無線通信可能な通信部とを有する減衰力制御装置と、
前記減衰力制御装置と通信可能な携帯端末とを備え、
前記制御部は、前記減衰力の調整に用いるパラメータの前記携帯端末の操作による設定を許容し、
前記携帯端末は、
タッチパネルと、
前記タッチパネルに表示されて前記タッチパネルの操作によって前記減衰力制御装置のパラメータを調整可能な調整部とを有する
ことを特徴とする減衰力制御システム。
【請求項6】
前記携帯端末における前記タッチパネルに前記パラメータの設定情報を表示させる表示部を備えた
ことを特徴とする請求項5に記載の減衰力制御システム。
【請求項7】
前記携帯端末は、
前記パラメータの設定情報を記憶する記憶部を有し、
前記記憶部に記憶された前記パラメータの設定情報を調整部におけるパラメータの値に反映可能である
ことを特徴とする請求項5に記載の減衰力制御システム。
【請求項8】
前記携帯端末は、
インターネット通信を介して前記パラメータの設定情報を取得するとともに前記記憶部に記憶可能であって、
前記記憶部に記憶された前記パラメータの設定情報を調整部におけるパラメータの値に反映可能である
ことを特徴とする請求項5に記載の減衰力制御システム。
【請求項9】
前記調整部は、前記タッチパネルに表示させた乗心地に関連するパラメータを調整する第1スライダと走行性向上に関連するパラメータを調整する第2スライダとを有する
ことを特徴とする請求項5に記載の減衰力制御システム。
発明の詳細な説明
【技術分野】
【0001】
本発明は、減衰力制御装置および減衰力制御システムに関する。
続きを表示(約 1,800 文字)
【背景技術】
【0002】
従来、減衰力を調節可能な緩衝器は、車両のばね上部材とばね下部材との間に介装されて伸縮する緩衝器本体と、緩衝器本体内に充填される流体の流れに抵抗を与えるとともにソレノイドで駆動されて発生減衰力を調整する減衰弁とを備えて構成され、ソレノイドに対する制御は、車両に搭載された緩衝器の制御に特化した減衰力制御装置によって行われる。
【0003】
減衰力制御装置は、緩衝器の減衰力を車両の走行状態に応じて最適なものとするため、車両の速度、ばね上加速度やばね下加速度といった走行状態を認識するための各種情報を得るセンサと、当該センサからの情報を基に緩衝器が発生すべき減衰力を求める演算装置とを備えており、緩衝器に求めた減衰力を発生させるように減衰弁のソレノイドへ電流供給する。
【0004】
このようなシステムにおいては、減衰力制御装置は、車体の振動を抑制するため、予め決められた演算式にセンサから得られた情報を入力することによって、各緩衝器が出力すべき減衰力を求めるのが一般的である。演算式は、採用する制御則に基づいて決定される。たとえば、スカイフック制御則を採用する場合には、スカイフック減衰係数に車体の上下方向の速度を乗じると緩衝器が出力すべきスカイフック減衰力を求めることができる。よって、この場合の減衰力Fsを求める演算式は、制御に使用されるパラメータとしてのスカイフック減衰係数Csとセンサから得られる情報としての車体の上下方向の速度Vsとを乗じればよいので、Fs=Cs×Vsとなる。このように演算式には、センサが適時に検知する車体の状態を示す情報の他にも、減衰力を決定するために利用されるパラメータが必要となる。パラメータは、制御ゲインや前述の減衰係数といった緩衝器の減衰力を求めるために利用され、車体の状態に対して緩衝器の操作量をどの程度の大きさにするかを決定するものであって、パラメータの設定によって車両における乗心地や車体の姿勢が変化する。
【先行技術文献】
【特許文献】
【0005】
特開2024-015541号公報
【発明の概要】
【発明が解決しようとする課題】
【0006】
前記したシステムでは、パラメータが予め設定されていて変更することができないか、或いは、パラメータの変更が可能であっても専用の操作装置を介して専門性の高い操作が要求されていて、容易にパラメータの変更を行うことができず、路面状況等に適した制御やユーザーの好みに応じた制御を行うことができなかった。
【0007】
そこで、本発明は、減衰力を調整するためのパラメータを容易に変更でき、路面状況等に適した制御やユーザーの好みに応じた制御が可能な減衰力制御装置および減衰力制御システムの提供を目的としている。
【課題を解決するための手段】
【0008】
上記した目的を達成するため、本発明の減衰力制御装置は、車両の車体の振動を検知するセンサ部と、車両の車体と車輪との間に設けられる減衰力調整可能な緩衝器の減衰力をセンサ部で検知した振動情報に基づいて制御する制御部と、携帯端末と無線通信可能な通信部とを備え、制御部は、減衰力の調整に用いるパラメータの携帯端末の操作による設定を許容する。
【0009】
このように構成された減衰力制御装置によれば、ユーザーは専用の操作装置を用いることなく、また、減衰力制御装置をわざわざ車体から取り外す必要もなく、日頃から携帯して操作に慣れたスマートフォン、タブレット端末といったスマートデバイスを含む携帯端末を用いて減衰力制御装置の減衰力の制御に使用するためのパラメータを容易に変更することができ、車両がこれから走行する路面状況に適した制御やユーザーの好みに応じた制御を実行し得る。
【0010】
また、減衰力制御装置では、車体の振動情報を検知するセンサ部を備えているので、携帯端末から車体の振動情報を得る場合と比較して、減衰力の制御に必要な振動情報を減衰力の制御にて要求される高いサンプリングレートで入手できるので、応答性良く緩衝器の減衰力を制御できる。
(【0011】以降は省略されています)
この特許をJ-PlatPat(特許庁公式サイト)で参照する
関連特許
カヤバ株式会社
緩衝器
1か月前
カヤバ株式会社
減圧弁
1か月前
カヤバ株式会社
緩衝器
今日
カヤバ株式会社
緩衝器
1か月前
カヤバ株式会社
防水構造
1か月前
カヤバ株式会社
ミキサ車
1か月前
カヤバ株式会社
ミキサ車
1か月前
カヤバ株式会社
ミキサ車
1か月前
カヤバ株式会社
ギヤポンプ
1か月前
カヤバ株式会社
ギヤポンプ
1か月前
カヤバ株式会社
ギヤポンプ
1か月前
カヤバ株式会社
電動ポンプ
21日前
カヤバ株式会社
摩擦試験機
2か月前
カヤバ株式会社
電動ポンプ
1か月前
カヤバ株式会社
展開デッキ
1か月前
カヤバ株式会社
シリンダ装置
22日前
カヤバ株式会社
苗木植付装置
1か月前
カヤバ株式会社
苗木植付装置
1か月前
カヤバ株式会社
苗木抜出装置
1か月前
カヤバ株式会社
高所作業装置
1か月前
カヤバ株式会社
苗木植付装置
1か月前
カヤバ株式会社
苗木植付装置
1か月前
カヤバ株式会社
苗木植付装置
1か月前
カヤバ株式会社
チェックバルブ
2か月前
カヤバ株式会社
流体圧制御装置
2か月前
カヤバ株式会社
筒部材及び緩衝器
1か月前
カヤバ株式会社
筒部材及び緩衝器
1か月前
カヤバ株式会社
筒部材及び緩衝器
1か月前
カヤバ株式会社
ポンプの取付構造
1か月前
カヤバ株式会社
筒型リニアモータ
1か月前
カヤバ株式会社
回転機の製造方法
1か月前
カヤバ株式会社
バルブおよび緩衝器
2か月前
カヤバ株式会社
バルブおよび緩衝器
2か月前
カヤバ株式会社
減衰力制御システム
今日
カヤバ株式会社
反力アクチュエータ
2か月前
カヤバ株式会社
ブッシュ及び液圧回転機
1か月前
続きを見る
他の特許を見る