TOP
|
特許
|
意匠
|
商標
特許ウォッチ
Twitter
他の特許を見る
10個以上の画像は省略されています。
公開番号
2025174722
公報種別
公開特許公報(A)
公開日
2025-11-28
出願番号
2024081254
出願日
2024-05-17
発明の名称
減衰力制御装置、減衰力制御システムおよびセンサ部の補正方法
出願人
カヤバ株式会社
代理人
個人
主分類
B60G
17/018 20060101AFI20251120BHJP(車両一般)
要約
【課題】センサ部のキャリブレーションが容易で車両に対して容易に設置可能な減衰力制御装置および減衰力制御システムの提供と、減衰力制御装置および減衰力制御システムに適するセンサ部の補正方法の提供とを目的としている。
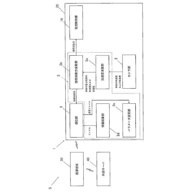
【解決手段】減衰力制御装置1は、車両Vの車体Bの所定位置における振動を検知するセンサ部2と、車両Vの車体Bと車輪Wとの間に設けられる減衰力調整可能な緩衝器の減衰力をセンサ部2で検知した振動情報に基づいて制御する制御部3と、携帯端末30と無線通信可能な通信部5とを備え、携帯端末30からの指示によりセンサ部2のキャリブレーションを行うよう構成されている。
【選択図】図9
特許請求の範囲
【請求項1】
車両の車体の所定位置における振動を検知するセンサ部と、
前記車両の前記車体と車輪との間に設けられる減衰力調整可能な緩衝器の減衰力を前記センサ部で検知した振動情報に基づいて制御する制御部と、
携帯端末と無線通信可能な通信部とを備え、
前記携帯端末からの指示により前記センサ部のキャリブレーションを行う
ことを特徴とする減衰力制御装置。
続きを表示(約 1,100 文字)
【請求項2】
車両の車体の所定位置における振動を検知するセンサ部と、前記車両の前記車体と車輪との間に設けられる減衰力調整可能な緩衝器の減衰力を前記センサ部で検知した振動情報に基づいて制御する制御部と、無線通信可能な通信部とを有する減衰力制御装置と、
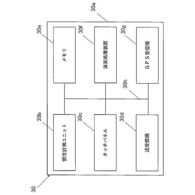
慣性計測ユニットを有して、前記減衰力制御装置と無線通信可能な携帯端末とを備え、
前記センサ部で検知する振動情報と、前記携帯端末で検知する振動情報との誤差に基づいて前記センサ部のキャリブレーションを行う
ことを特徴とする減衰力制御システム。
【請求項3】
車両の車体の振動を検知するセンサ部と、前記車両の前記車体と車輪との間に設けられる減衰力調整可能な緩衝器の減衰力を前記センサ部で検知した振動情報に基づいて制御する制御部と、無線通信可能な通信部とを有する減衰力制御装置と、
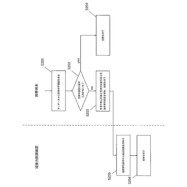
タッチパネルを有して、前記減衰力制御装置と無線通信可能な携帯端末とを備え、
前記携帯端末は、前記タッチパネルに表示されて前記センサ部の前記車体に対する設置位置を入力可能な位置入力部を有し、
前記位置入力部を利用して入力された前記設置位置に基づいて前記センサ部のキャリブレーションを行う
ことを特徴とする減衰力制御システム。
【請求項4】
前記携帯端末を前記車体の所定位置に設置した状態で前記センサ部のキャリブレーションを行う
ことを特徴とする請求項2に記載の減衰力制御システム。
【請求項5】
車両の車体の所定位置における前後左右および上下方向の3軸の加速度とピッチ、ロールおよびヨー方向の3軸の角速度とを検知するセンサ部をキャリブレーションするセンサ部の補正方法であって、
前記車両を水平な路面に停車させて前記センサ部で検知する3軸の加速度の検知結果と、前記車両を直進させて前記センサ部で検知する3軸の加速度の検知結果とに基づいて前記センサ部の前記車体に対する姿勢を補正する回転行列を求める手順と、
前記所定位置に設置された携帯端末で検知する3軸の角速度および3軸の加速度と前記センサ部で検知する3軸の角速度と3軸の加速度との誤差、或いは、前記携帯端末で指定された前記センサ部の前記車体に対する設置位置と前記所定位置との幾何学的誤差に基づいて前記センサ部が検知する3軸の角速度および3軸の加速度を前記所定位置における3軸の角速度および3軸の加速度に補正する補正係数を求める手順とを備えた
ことを特徴とするセンサ部の補正方法。
発明の詳細な説明
【技術分野】
【0001】
本発明は、減衰力制御装置、減衰力制御システムおよびセンサ部の補正方法に関する。
続きを表示(約 1,600 文字)
【背景技術】
【0002】
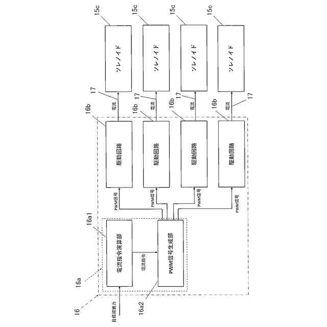
従来、減衰力を調節可能な緩衝器は、車両のばね上部材とばね下部材との間に介装されて伸縮する緩衝器本体と、緩衝器本体内に充填される流体の流れに抵抗を与えるとともにソレノイドで駆動されて発生減衰力を調整する減衰弁とを備えて構成され、ソレノイドに対する制御は、車両に搭載された緩衝器の制御に特化した減衰力制御装置によって行われる。
【0003】
減衰力制御装置は、緩衝器の減衰力を車両の走行状態に応じて最適なものとするため、車両の速度、ばね上加速度やばね下加速度といった走行状態を認識するための各種情報を得るセンサと、当該センサからの情報を基に緩衝器が発生すべき減衰力を求める演算装置とを備えており、緩衝器に求めた減衰力を発生させるように減衰弁のソレノイドへ電流供給する。
【0004】
このようなシステムにおいては、減衰力制御装置は、車体の振動を抑制するため、車体に設置された3つのセンサから得られた加速度から車体における車輪直上の4箇所の上下方向の速度を求め、車体の上下方向の速度にスカイフック減衰係数を乗じて、車体の振動を抑制するために4輪各所に設置された緩衝器に求められる目標減衰力を得て、各緩衝器の減衰力を目標減衰力となるように制御する(たとえば、特許文献1参照)。
【先行技術文献】
【特許文献】
【0005】
特開2024-015541号公報
【発明の概要】
【発明が解決しようとする課題】
【0006】
前記したシステムでは、センサで得られる加速度と実際の車体の上下方向の加速度とが正確に一致していないと、緩衝器が発生する減衰力が大きすぎたり小さすぎたりして車体の振動を抑制する効果が減殺されてしまうので、センサを車体に対して決められた位置に正確に設置する必要があり、また、センサのキャリブレーションも必須となる。
【0007】
ところが、減衰力制御装置が元々車両に付属しておらず、車両に対してユーザーが減衰力制御装置を設置する場合、所謂、減衰力制御装置を後付けするような場合、車体に対してセンサの設置位置が区々になってしまうとともに、センサのキャリブレーションの作業も減衰力制御装置に対して専用の操作装置によって実施する必要があるなど、キャリブレーション作業が非常に煩雑となってしまう。
【0008】
そこで、本発明は、センサ部のキャリブレーションを容易に実施でき、車両に対して容易に設置可能な減衰力制御装置および減衰力制御システムの提供と、これら減衰力制御装置および減衰力制御システムに適するセンサ部の補正方法の提供とを目的としている。
【課題を解決するための手段】
【0009】
上記した目的を達成するため、本発明の減衰力制御装置は、車両の車体の所定位置における振動を検知するセンサ部と、車両の車体と車輪との間に設けられる減衰力調整可能な緩衝器の減衰力をセンサ部で検知した振動情報に基づいて制御する制御部と、携帯端末と無線通信可能な通信部とを備え、携帯端末からの指示によりセンサ部のキャリブレーションを行うよう構成されている。
【0010】
このように構成された減衰力制御装置によれば、ユーザーは専用の操作装置を用いることなく、日頃から携帯して操作に慣れたスマートフォン、タブレット端末といったスマートデバイスを含む携帯端末を用いて減衰力制御装置におけるセンサ部のキャリブレーションを容易に指示することができるとともに、キャリブレーションによってセンサ部が検知する振動の情報を補正できるから車体の任意の位置に設置すればよく、車両への設置も容易となる。
(【0011】以降は省略されています)
この特許をJ-PlatPat(特許庁公式サイト)で参照する
関連特許
カヤバ株式会社
緩衝器
今日
カヤバ株式会社
防水構造
1か月前
カヤバ株式会社
ミキサ車
1か月前
カヤバ株式会社
ミキサ車
1か月前
カヤバ株式会社
ミキサ車
1か月前
カヤバ株式会社
ギヤポンプ
1か月前
カヤバ株式会社
ギヤポンプ
1か月前
カヤバ株式会社
ギヤポンプ
1か月前
カヤバ株式会社
展開デッキ
1か月前
カヤバ株式会社
電動ポンプ
21日前
カヤバ株式会社
苗木植付装置
1か月前
カヤバ株式会社
苗木植付装置
1か月前
カヤバ株式会社
シリンダ装置
22日前
カヤバ株式会社
苗木抜出装置
1か月前
カヤバ株式会社
苗木植付装置
1か月前
カヤバ株式会社
苗木植付装置
1か月前
カヤバ株式会社
苗木植付装置
1か月前
カヤバ株式会社
減衰力制御システム
今日
カヤバ株式会社
ミキサ車及び状態検出装置
1か月前
カヤバ株式会社
ミキサドラムのシール構造
1か月前
カヤバ株式会社
ミキサドラムの積載量測定装置
8日前
カヤバ株式会社
減衰力制御装置および減衰力制御システム
今日
カヤバ株式会社
減衰力制御装置および減衰力制御システム
今日
カヤバ株式会社
ダンパ減衰力特性生成装置、ダンパ提示装置、及びプログラム
1か月前
カヤバ株式会社
減衰力制御装置、減衰力制御システムおよびセンサ部の補正方法
今日
個人
タイヤレバー
4か月前
個人
前輪キャスター
3か月前
個人
上部一体型自動車
1か月前
個人
ルーフ付きトライク
3か月前
個人
タイヤ脱落防止構造
3か月前
個人
空間形成装置
29日前
日本精機株式会社
表示装置
3か月前
日本精機株式会社
表示装置
3か月前
日本精機株式会社
照明装置
24日前
日本精機株式会社
表示装置
3か月前
日本精機株式会社
表示装置
3か月前
続きを見る
他の特許を見る