TOP
|
特許
|
意匠
|
商標
特許ウォッチ
Twitter
他の特許を見る
公開番号
2025176589
公報種別
公開特許公報(A)
公開日
2025-12-04
出願番号
2024082847
出願日
2024-05-21
発明の名称
プラグ取付装置
出願人
カヤバ株式会社
代理人
弁理士法人後藤特許事務所
主分類
F16L
55/11 20060101AFI20251127BHJP(機械要素または単位;機械または装置の効果的機能を生じ維持するための一般的手段)
要約
【課題】プラグのシール性を向上させることができるプラグ取付装置を提供する。
【解決手段】ポート110を封止するプラグ200を取り付けるプラグ取付装置1は、持手部10と、挿入部201に嵌め込まれるピン20と、持手部10とピン20との間に設けられ、両者を連結する連結部30と、外径がピン20の外径よりも大きく、連結部30が挿通してピン20と持手部10の間で移動自在に配置され、プラグ200の鍔部202を外面101に押圧するためのスリーブ40と、持手部10とスリーブ40との間に圧縮して設けられるスプリング50と、を備え、持手部10とスリーブ40との間、及び連結部30の外周面とスリーブ40の内周面との間には、隙間S1,S2が形成される。
【選択図】図3
特許請求の範囲
【請求項1】
取付対象物の外面に形成される開口部に挿入される挿入部と、前記外面に接触する鍔部と、を有するプラグを前記取付対象物の前記開口部に取り付けるためのプラグ取付装置であって、
持手部と、
前記挿入部に嵌め込まれるピンと、
前記持手部と前記ピンとの間に設けられ、両者を連結する連結部と、
外径が前記ピンの外径よりも大きく、前記連結部が挿通して前記ピンと前記持手部の間で移動自在に配置され、前記プラグの前記鍔部を前記外面に押圧するためのスリーブと、
前記持手部と前記スリーブとの間に圧縮して設けられる付勢部材と、を備え、
前記持手部と前記スリーブとの間、及び前記連結部の外周面と前記スリーブの内周面との間には、隙間が形成されることを特徴とするプラグ取付装置。
発明の詳細な説明
【技術分野】
【0001】
本発明は、プラグ取付装置に関する。
続きを表示(約 1,600 文字)
【背景技術】
【0002】
特許文献1には、ケーシングの基端側をシールする際に用いられるシール栓と、シール栓をケーシングに押込む押込治具とが開示されている。押込治具は、シール栓の刳貫孔に挿入される軸部と、軸部から直行方向に伸びるフランジ部と、を有する。押込治具を用いてシール栓を圧入すると、シール栓がケーシングに押込まれるとともに、フランジ部の先端面がシール栓の基端側の鍔部に当接し、これにより、シール栓をケーシングに圧入しつつ、シール栓の刳貫孔を押込治具が突き抜けることが防止される。
【先行技術文献】
【特許文献】
【0003】
特開平02-180330号公報
【発明の概要】
【発明が解決しようとする課題】
【0004】
特許文献1に記載のような押込治具では、押込治具によるシール栓の押込方向がシール栓に対して斜めになってしまうことがある。この場合、シール栓がケーシングに斜めに圧入されてしまい、シール栓の鍔部とケーシングとの間に隙間が生じてしまう。このように、特許文献1に記載のような押込治具では、シール栓のシール性が十分でないおそれがある。
【0005】
本発明は、上記の問題点に鑑みてなされたものであり、プラグのシール性を向上させることができるプラグ取付装置を提供することを目的とする。
【課題を解決するための手段】
【0006】
本発明は、取付対象物の外面に形成される開口部に挿入される挿入部と、外面に接触する鍔部と、を有するプラグを取付対象物の開口部に取り付けるためのプラグ取付装置であって、持手部と、挿入部に嵌め込まれるピンと、持手部とピンとの間に設けられ、両者を連結する連結部と、外径がピンの外径よりも大きく、連結部が挿通してピンと持手部の間で移動自在に配置され、プラグの鍔部を外面に押圧するためのスリーブと、持手部とスリーブとの間に圧縮して設けられる付勢部材と、を備え、持手部とスリーブとの間、及び連結部の外周面とスリーブの内周面との間には、隙間が形成されることを特徴とする。
【0007】
この発明では、プラグ取付装置によるプラグの押込方向がプラグに対して斜めになった場合でも、持手部とスリーブとの間、及び連結部の外周面とスリーブの内周面との間には、隙間が形成されているため、付勢部材の付勢力により付勢されるスリーブの端面は、プラグの鍔部にまっすぐに接触する。したがって、プラグの鍔部と外面との間に隙間が生じないため、プラグのシール性が向上する。
【発明の効果】
【0008】
本発明によれば、プラグのシール性を向上させることができるプラグ取付装置を提供することができる。
【図面の簡単な説明】
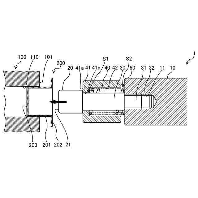
【0009】
本発明の実施形態に係るプラグ取付装置、プラグ及びハウジングの断面図であって、プラグを取り付ける前の状態を示す。
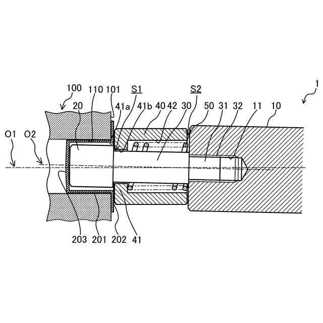
本発明の実施形態に係るプラグ取付装置、プラグ及びハウジングの断面図であって、プラグ取付装置がプラグに対してまっすぐ押し込まれた状態を示す。
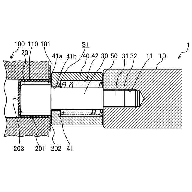
本発明の実施形態に係るプラグ取付装置、プラグ及びハウジングの断面図であって、プラグ取付装置がプラグに対して斜めに押し込まれた状態を示す。
【発明を実施するための形態】
【0010】
図面を参照して、本発明の実施形態に係るプラグ取付装置1について説明する。プラグ取付装置1は、取付対象物の外面に形成された開口部に封止用のプラグ200を取り付けるためのものである。本実施形態では、取付対象物が複数のバルブが収容されるハウジング100であり、開口部がハウジング100の外面101に形成されるポート110である場合について説明する。
(【0011】以降は省略されています)
この特許をJ-PlatPat(特許庁公式サイト)で参照する
関連特許
カヤバ株式会社
減圧弁
2か月前
カヤバ株式会社
緩衝器
2か月前
カヤバ株式会社
緩衝器
2か月前
カヤバ株式会社
緩衝器
9日前
カヤバ株式会社
ミキサ車
1か月前
カヤバ株式会社
ミキサ車
1か月前
カヤバ株式会社
ミキサ車
1か月前
カヤバ株式会社
防水構造
1か月前
カヤバ株式会社
展開デッキ
1か月前
カヤバ株式会社
ギヤポンプ
1か月前
カヤバ株式会社
ギヤポンプ
1か月前
カヤバ株式会社
ギヤポンプ
1か月前
カヤバ株式会社
電動ポンプ
1か月前
カヤバ株式会社
電動ポンプ
2か月前
カヤバ株式会社
摩擦試験機
2か月前
カヤバ株式会社
シリンダ装置
3日前
カヤバ株式会社
シリンダ装置
1か月前
カヤバ株式会社
高所作業装置
2か月前
カヤバ株式会社
苗木植付装置
1か月前
カヤバ株式会社
苗木植付装置
1か月前
カヤバ株式会社
苗木抜出装置
1か月前
カヤバ株式会社
苗木植付装置
1か月前
カヤバ株式会社
苗木植付装置
1か月前
カヤバ株式会社
苗木植付装置
1か月前
カヤバ株式会社
プラグ取付装置
3日前
カヤバ株式会社
チェックバルブ
2か月前
カヤバ株式会社
ポンプの取付構造
2か月前
カヤバ株式会社
回転機の製造方法
2か月前
カヤバ株式会社
筒型リニアモータ
2か月前
カヤバ株式会社
筒部材及び緩衝器
2か月前
カヤバ株式会社
筒部材及び緩衝器
2か月前
カヤバ株式会社
筒部材及び緩衝器
2か月前
カヤバ株式会社
バルブおよび緩衝器
2か月前
カヤバ株式会社
バルブおよび緩衝器
2か月前
カヤバ株式会社
減衰力制御システム
9日前
カヤバ株式会社
アクチュエータユニット
2か月前
続きを見る
他の特許を見る