TOP
|
特許
|
意匠
|
商標
特許ウォッチ
Twitter
他の特許を見る
10個以上の画像は省略されています。
公開番号
2025166551
公報種別
公開特許公報(A)
公開日
2025-11-06
出願番号
2024070650
出願日
2024-04-24
発明の名称
保持具
出願人
株式会社パイオラックス
代理人
個人
主分類
F16B
7/04 20060101AFI20251029BHJP(機械要素または単位;機械または装置の効果的機能を生じ維持するための一般的手段)
要約
【課題】第1ベース部材および第2ベース部材の連結を強固にできる保持具を提供する。
【解決手段】取付部材に取り付けられ、長尺部材を保持する保持具10は、第1ベース部材16と、長尺部材を挟むように第1ベース部材16に対向して配置される第2ベース部材12と、第1ベース部材16に支持され、第1ベース部材16および第2ベース部材12の間に配置される第1弾性部材と、を備える。第1ベース部材16は、第1係止爪部を有する。第2ベース部材12は、第1係止爪部に係止可能な第2係止爪部を有する。第2係止爪部は、第1係止爪部に係止した状態おいて、第1係止爪部および第1弾性部材の間に位置し、第1弾性部材18に当接して第1弾性部材18から第1係止爪部に向かって付勢される。
【選択図】図1
特許請求の範囲
【請求項1】
取付部材に取り付けられ、長尺部材を保持する保持具であって、
第1ベース部材と、
前記長尺部材を挟むように前記第1ベース部材に対向して配置される第2ベース部材と、
第1ベース部材に支持され、前記第1ベース部材および前記第2ベース部材の間に配置される第1弾性部材と、を備え、
前記第1ベース部材は、第1係止爪部を有し、
前記第2ベース部材は、前記第1係止爪部に係止可能な第2係止爪部を有し、
前記第2係止爪部は、前記第1係止爪部に係止した状態おいて、前記第1係止爪部および前記第1弾性部材の間に位置し、前記第1弾性部材に当接して前記第1弾性部材から前記第1係止爪部に向かって付勢されることを特徴とする保持具。
続きを表示(約 440 文字)
【請求項2】
前記第1弾性部材は、前記第1ベース部材および第2ベース部材の間で保持される前記長尺部材に当接することを特徴とする請求項1に記載の保持具。
【請求項3】
前記第2ベース部材に支持される第2弾性部材をさらに備え、
前記第2弾性部材は、前記第2係止爪部に当接することを特徴とする請求項1または2に記載の保持具。
【請求項4】
前記第1弾性部材および前記第2弾性部材が当接する反力によって、前記第1係止爪部および前記第2係止爪部の係止面同士が合わさるように付勢される請求項3に記載の保持具。
【請求項5】
前記第1ベース部材は、前記第2ベース部材側に立設する立設部を有し、
前記第1係止爪部は、前記立設部から突出し、
係止状態における前記第1係止爪部および前記第2係止爪部の係止面同士は、前記立設部に近づくにつれて立設する方向に立ち上がるように傾斜することを特徴とする請求項1または2に記載の保持具。
発明の詳細な説明
【技術分野】
【0001】
本発明は、長尺部材を保持して取付パネルに取り付けられる保持具に関する。
続きを表示(約 1,600 文字)
【背景技術】
【0002】
特許文献1には、ボディパネルに取り付けられ、長尺部材を保持する防振クランプが開示されている。この防振クランプは、長尺部材を保持する保持部と、ボディパネルのボルトに係止するための係止部とを有するクランプ本体と、クランプ本体の保持部を覆うようにクランプ本体に連結されるカバーと、長尺部材の第1の半周部分の側面を保持するようにクランプ本体に取り付けられた複数の第1のゴム部材と、長尺部材の第2の半周部分の側面を保持するように、カバーに取り付けられた複数の第2のゴム部材とを備える。クランプ本体の係合用突起が、ゴム部材の外側でカバーの係合爪に引っ掛かることで、カバーを外れないようにしている。
【先行技術文献】
【特許文献】
【0003】
特開2016-56927号公報
【発明の概要】
【発明が解決しようとする課題】
【0004】
特許文献1に記載の技術では、長尺部材の動きをゴム部材によって抑えているが、長尺部材の過度な動きが入力されると、クランプ本体の係合用突起とカバーの係合爪との係合が外れるおそれがある。
【0005】
本発明の目的は、第1ベース部材および第2ベース部材の連結を強固にできる保持具を提供することにある。
【課題を解決するための手段】
【0006】
上記課題を解決するために、本発明のある態様は、取付部材に取り付けられ、長尺部材を保持する保持具であって、第1ベース部材と、長尺部材を挟むように第1ベース部材に対向して配置される第2ベース部材と、第1ベース部材に支持され、第1ベース部材および第2ベース部材の間に配置される第1弾性部材と、を備える。第1ベース部材は、第1係止爪部を有する。第2ベース部材は、第1係止爪部に係止可能な第2係止爪部を有する。第2係止爪部は、第1係止爪部に係止した状態おいて、第1係止爪部および第1弾性部材の間に位置し、第1弾性部材に当接して第1弾性部材から第1係止爪部に向かって付勢される。
【発明の効果】
【0007】
本発明によれば、第1ベース部材および第2ベース部材の連結を強固にできる保持具を提供できる。
【図面の簡単な説明】
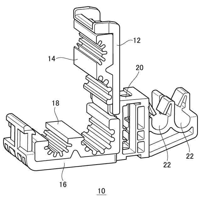
【0008】
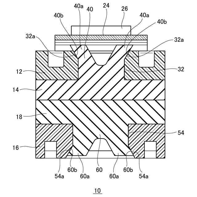
実施例の開状態の保持具の斜視図である。
長尺部材を保持して取付パネルに取り付けられた状態の保持具の斜視図である。
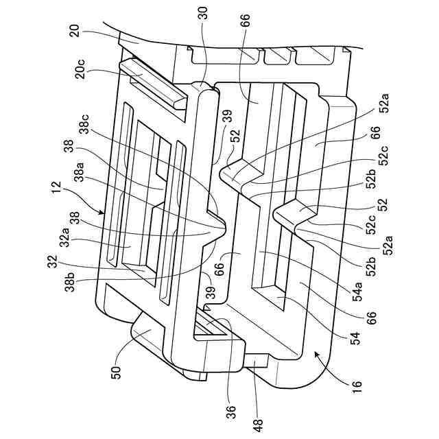
実施例の閉状態の保持具の斜視図である。
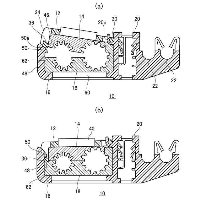
図4(a)は、保持具の正面図であり、図4(b)は、保持具の上面図である。
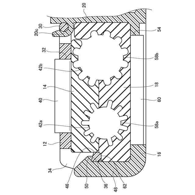
図4(b)に示す保持具の線分A-A断面図である。
図4(b)に示す保持具の線分B-B断面図である。
取付状態の保持具の作用を説明するための図である。
第2ベース部材を閉状態にさせる動作について説明するための図である。
第1弾性部材および第2弾性部材を外した状態の保持具の斜視図である。
【発明を実施するための形態】
【0009】
図1は、実施例の開状態の保持具10の斜視図である。保持具10は、長尺部材を取付部材に取り付けるために用いられる。例えば、保持具10は、取付パネルに配管を固定するために使用される。長尺部材として配管や棒状体がある。
【0010】
保持具10は、第1ベース部材16、第1弾性部材18、第2ベース部材12、第2弾性部材14、固定部20および保持部22を備える。第1ベース部材16、固定部20および保持部22は一体に形成される。第2ベース部材12は、固定部20に軸支されて回転可能に設けられ、図1では開いた状態である。
(【0011】以降は省略されています)
この特許をJ-PlatPat(特許庁公式サイト)で参照する
関連特許
個人
留め具
1か月前
個人
鍋虫ねじ
3か月前
個人
紛体用仕切弁
3か月前
個人
回転伝達機構
4か月前
個人
ジョイント
2か月前
個人
給排気装置
2か月前
株式会社不二工機
電磁弁
5か月前
個人
ナット
2か月前
個人
地震の揺れ回避装置
4か月前
個人
ナット
1か月前
個人
吐出量監視装置
3か月前
個人
ゲート弁バルブ
18日前
柿沼金属精機株式会社
分岐管
3か月前
カヤバ株式会社
緩衝器
5か月前
兼工業株式会社
バルブ
1か月前
カヤバ株式会社
緩衝器
5か月前
カヤバ株式会社
緩衝器
2か月前
株式会社不二工機
電動弁
2か月前
株式会社ノーリツ
分配弁
2か月前
株式会社三五
ドライブシャフト
1か月前
株式会社奥村組
制振機構
2か月前
株式会社奥村組
制振機構
2か月前
株式会社ニフコ
クリップ
18日前
竹内工業株式会社
ラッチ
3日前
株式会社ニフコ
クリップ
2か月前
株式会社タカギ
水栓装置
4か月前
アズビル株式会社
回転弁
2か月前
株式会社不二工機
電磁弁
3か月前
アマテイ株式会社
釘
1か月前
株式会社ノナガセ
免震装置
1か月前
株式会社オンダ製作所
識別リング
4か月前
株式会社有恒商会
伸縮継手
5か月前
株式会社ケアコム
取付器具
4か月前
井関農機株式会社
作業車両
5か月前
個人
ワンウェイベアリング
4か月前
株式会社不二越
転がり軸受
3か月前
続きを見る
他の特許を見る