TOP
|
特許
|
意匠
|
商標
特許ウォッチ
Twitter
他の特許を見る
公開番号
2025146117
公報種別
公開特許公報(A)
公開日
2025-10-03
出願番号
2024046728
出願日
2024-03-22
発明の名称
表示装置及びソースドライバ
出願人
ローム株式会社
代理人
弁理士法人レクスト国際特許事務所
主分類
G09G
3/36 20060101AFI20250926BHJP(教育;暗号方法;表示;広告;シール)
要約
【課題】画像データの補正を伴わない簡易ローカルディミングの制御を行うことが可能な表示装置を提供する。
【解決手段】第1のソースドライバは第1の表示エリアに対応する画像データに基づいて第1の階調電圧信号を生成するとともに、第1の拡大表示エリアに対応する画像データに基づいて第1の拡大表示エリアに含まれる第1の一群のサブエリアの各々に対応するバックライトの調光量を示す第1の調光データを生成する。第2のソースドライバは第2の表示エリアに対応する画像データに基づいて第2の階調電圧信号を生成するとともに、第2の拡大表示エリアに対応する画像データに基づいて第2の拡大表示エリアに含まれる第2の一群のサブエリアの各々に対応するバックライトの調光量を示す第2の調光データを生成する。第1のソースドライバは第2のソースドライバから第2の調光データを取得し、第1の調光データ及び第2の調光データを照明駆動部に供給する。
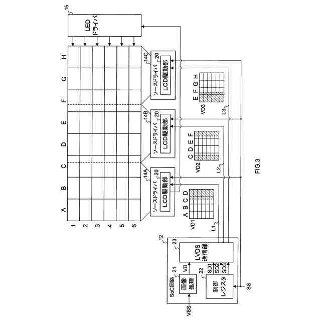
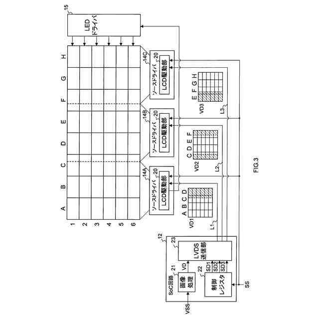
【選択図】図3
特許請求の範囲
【請求項1】
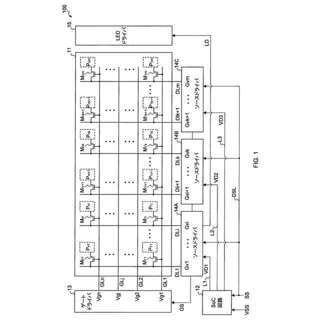
複数本のデータ線及び複数本のゲート線と、前記複数本のデータ線と前記複数本のゲート線との交差部の各々にマトリクス状に設けられた複数個の画素部と、を有する表示パネルと、
前記複数本のデータ線のうち前記表示パネルの第1の表示エリアに対応する位置に配されたデータ線に第1の階調電圧信号を出力する第1のソースドライバと、
前記複数本のデータ線のうち前記表示パネルの第2の表示エリアに対応する位置に配されたデータ線に第2の階調電圧信号を出力する第2のソースドライバと、
第1のデータ供給ラインを介して前記第1のソースドライバに第1の画像データ信号を供給し、第2のデータ供給ラインを介して前記第2のソースドライバに第2の画像データ信号を供給する表示制御部と、
前記表示パネルの表示画面を分割した複数のサブエリアの各々を照明するバックライトの光量を制御する照明駆動部と、
を有し、
前記表示制御部は、前記第1の表示エリア及び当該第1の表示エリアに隣接する所定範囲の表示エリアを含む第1の拡大表示エリアに対応する画像データを前記第1の画像データ信号として前記第1のソースドライバに供給し、前記第2の表示エリア及び当該第1の表示エリアに隣接する所定範囲の表示エリアを含む第2の拡大表示エリアに対応する画像データを前記第2の画像データ信号として前記第2のソースドライバに供給し、
前記第1のソースドライバは、前記第1の画像データ信号のうち前記第1の表示エリアに対応する画像データに基づいて前記第1の階調電圧信号を生成するとともに、前記第1の拡大表示エリアに対応する画像データに基づいて前記複数のサブエリアのうち前記第1の拡大表示エリアに含まれる第1の一群のサブエリアの各々に対応するバックライトの調光量を示す第1の調光データを生成し、
前記第2のソースドライバは、前記第2の画像データ信号のうち前記第2の表示エリアに対応する画像データに基づいて前記第2の階調電圧信号を生成するとともに、前記第2の拡大表示エリアに対応する画像データに基づいて前記複数のサブエリアのうち前記第2の拡大表示エリアに含まれる第2の一群のサブエリアの各々に対応するバックライトの調光量を示す第2の調光データを生成し、
前記第1のソースドライバは、前記第2のソースドライバから前記第2の調光データを取得し、前記第1の調光データ及び前記第2の調光データを前記照明駆動部に供給する、
ことを特徴とする表示装置。
続きを表示(約 1,100 文字)
【請求項2】
前記第1のソースドライバは、
前記第1の調光データを生成するローカルディミング計算部と、
前記第1の階調電圧信号を生成する階調電圧生成部と、
前記第1の画像データ信号に基づいて、前記ローカルディミング計算部を動作させる期間を示す第1のデータイネーブル信号を生成するデータ処理部と、
前記第1の表示エリアについての設定データと、前記第1のデータイネーブル信号と、に基づいて、前記階調電圧生成部を動作させる期間を示す第2のデータイネーブル信号を生成するデータイネーブル信号生成部と、
を有することを特徴とする請求項1に記載の表示装置。
【請求項3】
前記第1のソースドライバ及び前記第2のソースドライバは、前記第1の表示エリアの範囲を示す設定データと、前記第1の拡大表示エリアの範囲を示す設定データと、を記憶するレジスタを有することを特徴とする請求項2に記載の表示装置。
【請求項4】
前記第1の表示エリア及び前記第2の表示エリアは、前記表示パネルの表示領域を前記データ線の延伸方向に分割した表示エリアであり、
前記第1の拡大表示エリア及び前記第2の拡大表示エリアは、前記データ線の延伸方向に対して交差する方向に互いに重なる領域を含むことを特徴とする請求項1に記載の表示装置。
【請求項5】
複数本のデータ線と複数本のゲート線との交差部の各々にマトリクス状に設けられた複数個の画素部を有する表示パネルと、前記表示パネルの表示画面を分割した複数のサブエリアの各々を照明するバックライトの光量を制御する照明駆動部と、に接続され、前記複数本のデータ線のうち前記表示パネルの第1の表示エリアに対応する位置に配されたデータ線に第1の階調電圧信号を出力するソースドライバであって、
前記第1の表示エリア及び当該第1の表示エリアに隣接する所定範囲の表示エリアを含む第1の拡大表示エリアに対応する画像データからなる第1の画像データ信号の供給を受け、前記第1の画像データ信号のうち前記第1の表示エリアに対応する画像データに基づいて前記第1の階調電圧信号を生成する階調電圧生成部と、
前記第1の拡大表示エリアに対応する画像データに基づいて前記複数のサブエリアのうち前記第1の拡大表示エリアに含まれる第1の一群のサブエリアの各々に対応するバックライトの調光量を示す第1の調光データを生成するローカルディミング計算部と、
前記第1の調光データを前記照明駆動部に供給する通信部と、
を有することを特徴とするソースドライバ。
発明の詳細な説明
【技術分野】
【0001】
本発明は、表示装置及びソースドライバに関する。
続きを表示(約 1,700 文字)
【背景技術】
【0002】
液晶表示装置や有機EL(Electro Luminescence)等の表示デバイスの駆動方式として、アクティブマトリクス駆動方式が採用されている。アクティブマトリクス駆動方式の表示装置では、表示パネルは画素部及び画素スイッチをマトリクス状に配置した半導体基板から構成されている。ゲートパルスにより画素スイッチのオンオフを制御し、画素スイッチがオンになるときに映像データ信号に対応した階調電圧信号を画素部に供給して、各画素部の輝度を制御することにより、表示が行われる。表示装置の駆動回路は、例えばゲート線にゲートパルスを出力するゲートドライバ、データ線に階調電圧信号を出力するソースドライバ、及びソースドライバに画像データ及びタイミング信号の供給を行うタイミングコントローラを含む。
【0003】
このような表示装置において、同一画面内の異なるエリアのコントラスト比を高めるため、ローカルディミングと呼ばれるバックライトの駆動制御が行われている。ローカルディミングを行う表示装置として、画像信号の輝度分布を算出し、算出結果に基づいて領域毎の照明光を制御するとともに、画像信号を補正する画像表示装置が提案されている(例えば、特許文献1)。
【0004】
また、一般的なローカルディミングでは、バックライトの駆動制御を行うとともに、画像データについても輝度の補正を行う。このため、ローカルディミングを行うための専用のICやFPGA(Field Programmable Gate Array)が必要となり、装置規模が大きくなる。そこで、装置規模の増大を抑えるため、画像データの補正を行わず、照明光の制御のみを行ういわゆる簡易ローカルディミングの機能をソースドライバに持たせた表示装置が提案されている(例えば、特許文献2)。
【先行技術文献】
【特許文献】
【0005】
特開2005-258403号公報
特開2021-182070号公報
【発明の概要】
【発明が解決しようとする課題】
【0006】
ソースドライバが複数チップのドライバICから構成され且つ画像データがPtoP(Point to Point)方式で供給される場合、各ドライバICには自身が駆動する表示パネルの領域(すなわち、駆動対象であるデータ線上の画素部が配置された領域)に対応する画像データのみが供給される。
【0007】
一方、このような複数チップのドライバICからなるソースドライバを有する表示装置において、上記従来技術のような簡易ローカルディミングを行う場合、各ドライバICにおいてローカルディミング制御のためのデータ演算が行われる。その際、ローカルディミング制御のためのデータ演算を行うためには、対象となる制御エリアの周辺のエリアの画像データが必要となる。
【0008】
しかしながら、上記のようにPtoP方式で画像データの供給が行われる場合、各ドライバICには自身の駆動する表示領域の画像データしか供給されないため、隣接するドライバICの表示領域の境界部分では、周辺のエリアの画像データを用いることができず、ローカルディミング制御のためのデータ演算を正確に行うことができないという問題があった。
【0009】
また、各ドライバICによる表示領域の境界とローカルディミングの制御エリアの境界とが一致しない場合もあり、当該境界部分におけるローカルディミング制御を適切に行うことができないという問題があった。
【0010】
本発明は上記問題点に鑑みてなされたものであり、ソースドライバが複数チップのドライバICから構成され、且つ画像データが各ドライバICにPtoP方式で供給される場合に、画像データの補正を伴わない簡易ローカルディミングの制御を行うことが可能な表示装置を提供することを目的とする。
【課題を解決するための手段】
(【0011】以降は省略されています)
この特許をJ-PlatPat(特許庁公式サイト)で参照する
関連特許
ローム株式会社
電子装置
8日前
ローム株式会社
監視回路
8日前
ローム株式会社
発振回路
8日前
ローム株式会社
メモリ装置
8日前
ローム株式会社
半導体装置
6日前
ローム株式会社
メモリ装置
4日前
ローム株式会社
半導体装置
6日前
ローム株式会社
半導体装置
6日前
ローム株式会社
半導体装置
6日前
ローム株式会社
半導体装置
4日前
ローム株式会社
半導体装置
4日前
ローム株式会社
半導体装置
4日前
ローム株式会社
半導体装置
4日前
ローム株式会社
半導体装置
8日前
ローム株式会社
半導体装置
今日
ローム株式会社
半導体装置
8日前
ローム株式会社
半導体装置
4日前
ローム株式会社
信号出力回路
4日前
ローム株式会社
縦型ホール素子
8日前
ローム株式会社
TVSダイオード
6日前
ローム株式会社
TVSダイオード
6日前
ローム株式会社
半導体モジュール
8日前
ローム株式会社
不揮発性メモリ装置
4日前
ローム株式会社
不揮発性メモリ装置
4日前
ローム株式会社
不揮発性メモリ装置
4日前
ローム株式会社
電界効果トランジスタ
8日前
ローム株式会社
判定回路、半導体装置
4日前
ローム株式会社
不揮発性半導体記憶装置
4日前
ローム株式会社
振幅制限回路及びオペアンプ
8日前
ローム株式会社
クロックデータリカバリ回路
4日前
ローム株式会社
表示装置及びソースドライバ
4日前
ローム株式会社
LEDドライバ及び表示装置
8日前
ローム株式会社
半導体装置及びデータドライバ
8日前
ローム株式会社
半導体装置及び高電圧検出アンプ
4日前
ローム株式会社
集積回路の異常処理回路および集積回路
8日前
ローム株式会社
測定システム、測定装置および測定方法
8日前
続きを見る
他の特許を見る