TOP
|
特許
|
意匠
|
商標
特許ウォッチ
Twitter
他の特許を見る
10個以上の画像は省略されています。
公開番号
2025140484
公報種別
公開特許公報(A)
公開日
2025-09-29
出願番号
2024039914
出願日
2024-03-14
発明の名称
半導体装置及びデータドライバ
出願人
ローム株式会社
代理人
弁理士法人レクスト国際特許事務所
主分類
G09G
3/20 20060101AFI20250919BHJP(教育;暗号方法;表示;広告;シール)
要約
【課題】論理レベルシフタ回路における高耐圧素子の部品点数を抑えることが可能な半導体装置を提供する。
【解決手段】論理レベルシフタ回路は、各々の第1端が第2電圧を供給する電源電圧供給ラインに接続され、一方の第2端と他方の制御端、及び一方の制御端と他方の第2端が互いに接続された第1導電型の第1トランジスタ及び第2トランジスタと、第1トランジスタの第2端と第2トランジスタの制御端とを接続する第1ノードと基準電圧供給ラインとの間に互いに直列に接続され、制御端に第1入力信号を受ける第2導電型の第3トランジスタ、及び制御端に第2入力信号を受ける第2導電型の第4トランジスタと、第2トランジスタの第2端と第1トランジスタの制御端とを接続する第2ノードと基準電圧供給ラインとの間に互いに並列に接続され、制御端に反転第1入力信号を受ける第2導電型の第5トランジスタ、及び制御端に反転第2入力信号を受ける第2導電型の第6トランジスタと、を有し、第2ノードから出力信号を出力する。
【選択図】図4
特許請求の範囲
【請求項1】
各々の信号レベルが第1の論理レベルを表す第1電圧の電圧レベルと第2の論理レベルを表す基準電圧とで変化する第1入力信号及び第2入力信号を受け、信号レベルが前記第1入力信号及び前記第2入力信号の各々の論理レベルの組み合わせに応じた論理レベルに変化し且つ第1の論理レベルを表す電圧レベルが前記第1電圧とは異なる電圧であって前記基準電圧との電圧差が前記第1電圧と前記基準電圧との電圧差よりも大きい第2電圧の電圧レベルである出力信号を生成する論理レベルシフタ回路を備える半導体装置であって、
前記論理レベルシフタ回路は、
各々の第1端が前記第2電圧を供給する電源電圧供給ラインに接続され、一方の第2端と他方の制御端、及び一方の制御端と他方の第2端が互いに接続された第1導電型の第1トランジスタ及び第2トランジスタと、
前記第1トランジスタの第2端と前記第2トランジスタの制御端とを接続するノードである第1ノードと、前記基準電圧を供給する基準電圧供給ラインと、の間に互いに直列に接続され、制御端に前記第1入力信号を受ける第2導電型の第3トランジスタ、及び制御端に前記第2入力信号を受ける第2導電型の第4トランジスタと、
前記第2トランジスタの第2端と前記第1トランジスタの制御端とを接続するノードである第2ノードと、前記基準電圧供給ラインと、の間に互いに並列に接続され、制御端に前記第1入力信号の論理レベルを反転した反転第1入力信号を受ける第2導電型の第5トランジスタ、及び制御端に前記第2入力信号の論理レベルを反転した反転第2入力信号を受ける第2導電型の第6トランジスタと、
を有し、
前記第2ノードから前記出力信号を出力することを特徴とする半導体装置。
続きを表示(約 2,400 文字)
【請求項2】
前記論理レベルシフタ回路は、
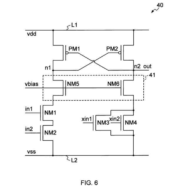
第1端が前記第3トランジスタの第2端に接続され、第2端が前記第1ノードに接続され、制御端にバイアス電圧の印加を受ける第1のクランプトランジスタと、
第1端が前記第5トランジスタ及び前記第6トランジスタの各々の第2端に接続され、第2端が前記第2ノードに接続され、制御端が前記第1のクランプトランジスタの制御端に接続されるとともに前記バイアス電圧の印加を受ける第2のクランプトランジスタと、
からなる電圧クランプトランジスタ対を有することを特徴とする請求項1に記載の半導体装置。
【請求項3】
前記第3トランジスタは、ゲートに前記第1入力信号を受け、
前記第4トランジスタは、ゲートに前記第2入力信号を受け、
前記第5トランジスタは、ゲートに前記反転第1入力信号を受け、
前記第6トランジスタは、ゲートに前記反転第2入力信号を受け、
前記第1入力信号及び前記第2入力信号がいずれも論理レベル1である場合に、論理レベル1の前記出力信号を出力することを特徴とする請求項1又は2に記載の半導体装置。
【請求項4】
前記第1トランジスタ及び前記第2トランジスタは、Pチャネル型MOSトランジスタから構成され、各々のソースが前記電源電圧供給ラインに接続されるとともに、一方のゲートと他方のドレイン、及び一方のドレインと他方のゲートが互いに接続され、
前記第3トランジスタ及び前記第4トランジスタは、Nチャネル型MOSトランジスタから構成され、前記第3トランジスタのソースと前記第4トランジスタのドレインとが接続されることによって前記第1ノードと前記基準電圧供給ラインとの間に互いに直列に接続され、
前記第5トランジスタ及び前記第6トランジスタは、Nチャネル型MOSトランジスタから構成され、各々のドレインが互いに接続されるとともに各々のソースが互いに接続されることにより、前記第2ノードと前記基準電圧供給ラインとの間に互いに並列に接続されている、
ことを特徴とする請求項1又は2に記載の半導体装置。
【請求項5】
前記第1トランジスタ及び前記第2トランジスタは、Nチャネル型MOSトランジスタから構成され、各々のソースが前記電源電圧供給ラインに接続されるとともに、一方のゲートと他方のドレイン、及び一方のドレインと他方のゲートが互いに接続され、
前記第3トランジスタ及び前記第4トランジスタは、Pチャネル型MOSトランジスタから構成され、前記第3トランジスタのドレインと前記第4トランジスタのソースとが接続されることによって前記第1ノードと前記基準電圧供給ラインとの間に互いに直列に接続され、
前記第5トランジスタ及び前記第6トランジスタは、Pチャネル型MOSトランジスタから構成され、各々のドレインが互いに接続されるとともに各々のソースが互いに接続されることにより、前記第2ノードと前記基準電圧供給ラインとの間に互いに並列に接続されている、
ことを特徴とする請求項1又は2に記載の半導体装置。
【請求項6】
複数本のデータライン及び複数本のゲートラインと、前記複数本のデータラインと前記複数本のゲートラインとの交差部の各々にマトリクス状に設けられた複数個の画素部と、を有する表示パネルに接続され、画素データ片の系列からなる映像データ信号に基づいて前記複数本のデータラインに駆動信号を出力する複数の出力チャネルを有するデータドライバであって、
前記画素データ片の系列を取り込んで順次出力するデータラッチと、
前記データラッチから出力された前記画素データ片の信号レベルを変化させるレベルシフトを行うレベルシフタと、
前記レベルシフタによってレベルシフトされた前記画素データ片に基づいて前記駆動信号を出力する出力部と、
を含み、
前記データラッチから出力された前記画素データ片は、各々の信号レベルが第1の論理レベルを表す第1電圧の電圧レベルと第2の論理レベルを表す基準電圧とで変化する第1入力信号及び第2入力信号から構成され、
前記レベルシフタは、前記第1入力信号及び前記第2入力信号を受け、信号レベルが前記第1入力信号及び前記第2入力信号の各々の論理レベルの組み合わせに応じた論理レベルに変化し且つ第1の論理レベルを表す電圧レベルが前記第1電圧とは異なる電圧で会って前記基準電圧との電圧差が前記第1電圧と前記基準電圧との電圧差よりも大きい第2電圧の電圧レベルである出力信号を生成する論理レベルシフタ回路を備え、
前記論理レベルシフタ回路は、
各々の第1端が前記第2電圧を供給する電源電圧供給ラインに接続され、一方の第2端と他方の制御端、及び一方の制御端と他方の第2端が互いに接続された第1導電型の第1トランジスタ及び第2トランジスタと、
前記第1トランジスタの第2端と前記第2トランジスタの制御端とを接続するノードである第1ノードと、前記基準電圧を供給する基準電圧供給ラインと、の間に互いに直列に接続され、制御端に前記第1入力信号を受ける第2導電型の第3トランジスタ、及び制御端に前記第2入力信号を受ける第2導電型の第4トランジスタと、
前記第2トランジスタの第2端と前記第1トランジスタの制御端とを接続するノードである第2ノードと、前記基準電圧供給ラインと、の間に互いに並列に接続され、制御端に前記第1入力信号の論理レベルを反転した反転第1入力信号を受ける第2導電型の第5トランジスタ、及び制御端に前記第2入力信号の論理レベルを反転した反転第2入力信号を受ける第2導電型の第6トランジスタと、
を有し、前記第2ノードから前記出力信号を出力する、
ことを特徴とするデータドライバ。
発明の詳細な説明
【技術分野】
【0001】
本発明は、半導体装置及びデータドライバに関する。
続きを表示(約 3,200 文字)
【背景技術】
【0002】
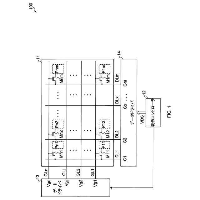
液晶や有機EL(Electro Luminescence)等の表示装置は、一般的に複数のゲート線及び複数のデータ線の交差部に表示セルが形成された表示パネルと、複数のデータ線を駆動するデータドライバと、を有する。データドライバは、映像信号に含まれる複数の画素データ片を順次取り込むデータラッチ部、データラッチ部が取り込んだ画素データ片の電圧レベルを変化させるレベルシフタ、レベルシフタにより電圧レベルが変化した画素データ片をアナログの階調電圧に変換するDA変換部、及び階調電圧を増幅してデータ線に出力する出力アンプ部を含む。
【0003】
入力信号の電圧レベルを変化させるレベルシフタとして、4個のNチャネル型トランジスタ及び12個のPチャネル型トランジスタからなる論理レベルシフタの構成が提案されている(例えば、特許文献1)。
【先行技術文献】
【特許文献】
【0004】
特開2022-40752号公報
【発明の概要】
【発明が解決しようとする課題】
【0005】
上記従来技術のような構成の論理レベルシフタでは、Nチャネル型トランジスタを低耐圧素子で構成することができる一方、Pチャネル型トランジスタを高耐圧素子によって構成する必要がある。このため、例えば4ビットの入力信号のレベルシフトを行う場合、特許文献1のような構成では高耐圧素子からなるトランジスタが12個必要となり、チップサイズが大きくなるという問題があった。
【0006】
本発明は上記問題点に鑑みてなされたものであり、論理レベルシフタ回路における高耐圧素子の部品点数を抑えることが可能な半導体装置を提供することを目的とする。
【課題を解決するための手段】
【0007】
本発明に係る半導体装置は、各々の信号レベルが第1の論理レベルを表す第1電圧の電圧レベルと第2の論理レベルを表す基準電圧とで変化する第1入力信号及び第2入力信号を受け、信号レベルが前記第1入力信号及び前記第2入力信号の各々の論理レベルの組み合わせに応じた論理レベルに変化し且つ第1の論理レベルを表す電圧レベルが前記第1電圧とは異なる電圧であって前記基準電圧との電圧差が前記第1電圧と前記基準電圧との電圧差よりも大きい第2電圧の電圧レベルである出力信号を生成する論理レベルシフタ回路を備える半導体装置であって、前記論理レベルシフタ回路は、各々の第1端が前記第2電圧を供給する電源電圧供給ラインに接続され、一方の第2端と他方の制御端、及び一方の制御端と他方の第2端が互いに接続された第1導電型の第1トランジスタ及び第2トランジスタと、前記第1トランジスタの第2端と前記第2トランジスタの制御端とを接続するノードである第1ノードと、前記基準電圧を供給する基準電圧供給ラインと、の間に互いに直列に接続され、制御端に前記第1入力信号を受ける第2導電型の第3トランジスタ、及び制御端に前記第2入力信号を受ける第2導電型の第4トランジスタと、前記第2トランジスタの第2端と前記第1トランジスタの制御端とを接続するノードである第2ノードと、前記基準電圧供給ラインと、の間に互いに並列に接続され、制御端に前記第1入力信号の論理レベルを反転した反転第1入力信号を受ける第2導電型の第5トランジスタ、及び制御端に前記第2入力信号の論理レベルを反転した反転第2入力信号を受ける第2導電型の第6トランジスタと、を有し、前記第2ノードから前記出力信号を出力することを特徴とする。
【0008】
また、本発明に係るデータドライバは、複数本のデータライン及び複数本のゲートラインと、前記複数本のデータラインと前記複数本のゲートラインとの交差部の各々にマトリクス状に設けられた複数個の画素部と、を有する表示パネルに接続され、画素データ片の系列からなる映像データ信号に基づいて前記複数本のデータラインに駆動信号を出力する複数の出力チャネルを有するデータドライバであって、前記画素データ片の系列を取り込んで順次出力するデータラッチと、前記データラッチから出力された前記画素データ片の信号レベルを変化させるレベルシフトを行うレベルシフタと、前記レベルシフタによってレベルシフトされた前記画素データ片に基づいて前記駆動信号を出力する出力部と、を含み、前記データラッチから出力された前記画素データ片は、各々の信号レベルが第1の論理レベルを表す第1電圧の電圧レベルと第2の論理レベルを表す基準電圧とで変化する第1入力信号及び第2入力信号から構成され、前記レベルシフタは、前記第1入力信号及び前記第2入力信号を受け、信号レベルが前記第1入力信号及び前記第2入力信号の各々の論理レベルの組み合わせに応じた論理レベルに変化し且つ第1の論理レベルを表す電圧レベルが前記第1電圧とは異なる電圧で会って前記基準電圧との電圧差が前記第1電圧と前記基準電圧との電圧差よりも大きい第2電圧の電圧レベルである出力信号を生成する論理レベルシフタ回路を備え、前記論理レベルシフタ回路は、各々の第1端が前記第2電圧を供給する電源電圧供給ラインに接続され、一方の第2端と他方の制御端、及び一方の制御端と他方の第2端が互いに接続された第1導電型の第1トランジスタ及び第2トランジスタと、前記第1トランジスタの第2端と前記第2トランジスタの制御端とを接続するノードである第1ノードと、前記基準電圧を供給する基準電圧供給ラインと、の間に互いに直列に接続され、制御端に前記第1入力信号を受ける第2導電型の第3トランジスタ、及び制御端に前記第2入力信号を受ける第2導電型の第4トランジスタと、前記第2トランジスタの第2端と前記第1トランジスタの制御端とを接続するノードである第2ノードと、前記基準電圧供給ラインと、の間に互いに並列に接続され、制御端に前記第1入力信号の論理レベルを反転した反転第1入力信号を受ける第2導電型の第5トランジスタ、及び制御端に前記第2入力信号の論理レベルを反転した反転第2入力信号を受ける第2導電型の第6トランジスタと、を有し、前記第2ノードから前記出力信号を出力する、ことを特徴とする。
【発明の効果】
【0009】
本発明に係る半導体装置によれば、論理レベルシフタ回路における高耐圧素子の部品点数を抑えることが可能となる。
【図面の簡単な説明】
【0010】
本発明の実施例に係る表示装置の構成を示すブロック図である。
本発明の実施例に係るデータドライバの構成を示すブロック図である。
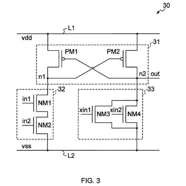
実施例1の論理レベルシフタ回路の最小構成例を示す図である。
図3の論理レベルシフタ回路の入出力信号の信号レベルを示す図である。
図3の入出力信号の信号レベルの組み合わせを示す入出力表である。
実用的な論理レベルシフタ回路の構成例を示す図である。
図3の論理レベルシフタ回路を組み合わせた4出力の論理レベルシフタ回路の構成例を示す図である。
図7の論理レベルシフタ回路の入出力表を示すテーブルである。
実施例1の論理レベルシフタ回路の構成の変形例を示す図である。
図9の論理レベルシフタ回路の入出力表を示すテーブルである。
実施例2の論理レベルシフタ回路の構成例を示す図である。
実施例2の論理レベルシフタ回路の入出力信号の信号レベルを示す図である。
図11の論理レベルシフタ回路の入出力表を示すテーブルである。
【発明を実施するための形態】
(【0011】以降は省略されています)
この特許をJ-PlatPat(特許庁公式サイト)で参照する
関連特許
ローム株式会社
RAM
今日
ローム株式会社
RAM
今日
ローム株式会社
駆動回路
2日前
ローム株式会社
電源装置
今日
ローム株式会社
発振回路
今日
ローム株式会社
テスト回路
1日前
ローム株式会社
半導体装置
1日前
ローム株式会社
半導体装置
1日前
ローム株式会社
半導体装置
今日
ローム株式会社
半導体装置
2日前
ローム株式会社
半導体装置
今日
ローム株式会社
半導体装置
2日前
ローム株式会社
半導体装置
今日
ローム株式会社
半導体装置
1日前
ローム株式会社
半導体装置
1日前
ローム株式会社
半導体装置
2日前
ローム株式会社
半導体装置
3日前
ローム株式会社
半導体装置
7日前
ローム株式会社
半導体装置
7日前
ローム株式会社
半導体装置
今日
ローム株式会社
半導体装置
7日前
ローム株式会社
半導体装置
今日
ローム株式会社
暗号化装置
1日前
ローム株式会社
時間測定回路
2日前
ローム株式会社
無線通信回路
2日前
ローム株式会社
無線通信装置
1日前
ローム株式会社
静電気保護素子
今日
ローム株式会社
フォトダイオード
2日前
ローム株式会社
異常検知システム
今日
ローム株式会社
検証装置及び検証方法
今日
ローム株式会社
半導体装置及び補正方法
今日
ローム株式会社
アンテナ付高周波モジュール
2日前
ローム株式会社
半導体装置及び半導体チップ
1日前
ローム株式会社
信号伝達装置、電子機器、車両
今日
ローム株式会社
半導体装置及び高電圧検出アンプ
7日前
ローム株式会社
半導体装置及びレギュレータ装置
今日
続きを見る
他の特許を見る