TOP
|
特許
|
意匠
|
商標
特許ウォッチ
Twitter
他の特許を見る
10個以上の画像は省略されています。
公開番号
2025135178
公報種別
公開特許公報(A)
公開日
2025-09-18
出願番号
2024032854
出願日
2024-03-05
発明の名称
配列用マスク
出願人
マクセル株式会社
代理人
個人
主分類
H01L
21/60 20060101AFI20250910BHJP(基本的電気素子)
要約
【課題】従来の配列用マスクに比べて、半田ボールをより迅速かつスムーズに通孔に投入することができる配列用マスクを提供する。
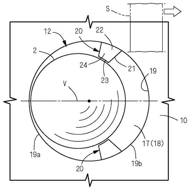
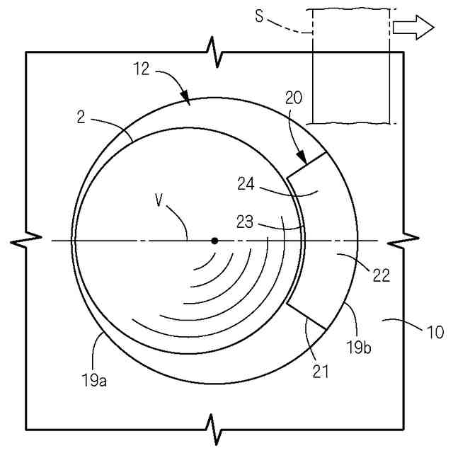
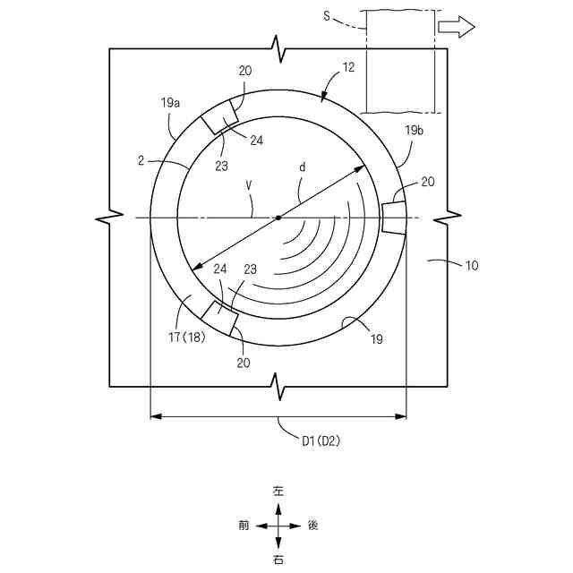
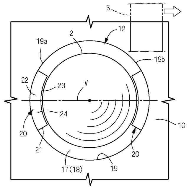
【解決手段】本発明の配列用マスクは、所定の配列パターンに対応した通孔12を備える。通孔12の上開口17の開口径D1は、半田ボール2の直径dより大径の丸孔で構成されている。通孔12の内周面19には、通孔12に投入された半田ボール2を所定位置へ向かって案内するとともに、半田ボール2を所定位置に保持して位置決めするための1以上の位置決め体20が、孔中心に向かって張り出し形成されている。
【選択図】図1
特許請求の範囲
【請求項1】
所定の配列パターンに対応した通孔(12)内に半田ボール(2)を振り込むことで、基板(3)上の所定位置に半田ボール(2)を搭載する配列用マスクであって、
上開口(17)の開口径(D1)が半田ボール(2)の直径(d)より大径の丸孔で構成される通孔(12)の内周面(19)に、通孔(12)に投入された半田ボール(2)を所定位置へ向かって案内するとともに、半田ボール(2)を所定位置に保持して位置決めするための1以上の位置決め体(20)が、孔中心に向かって張り出し形成されていることを特徴とする配列用マスク。
続きを表示(約 1,200 文字)
【請求項2】
位置決め体(20)が、通孔(12)の内周面(19)の上下方向に沿って張り出し形成される突条からなり、通孔(12)の下開口(18)側に設けられ、通孔(12)内で半田ボール(2)を受け止め保持する受止部(21)と、通孔(12)の上開口(17)側に設けられ、通孔(12)内の所定位置に半田ボール(2)を案内する導入部(22)とを含んで構成されている請求項1に記載の配列用マスク。
【請求項3】
導入部(22)は、下開口(18)側に向かって漸次突出寸法が大きくなるように形成されており、
導入部(22)の上端が、丸孔からなる通孔(12)の上開口(17)の開口縁の一部で構成されている請求項2に記載の配列用マスク。
【請求項4】
通孔(12)の内周面(19)に3以上の位置決め体(20)が設けられており、
通孔(12)の内周面(19)を任意の位置で二つの半周面(19a・19b)に分割したとき、いずれの半周面(19a・19b)にも位置決め体(20)が設けられている請求項1に記載の配列用マスク。
【請求項5】
位置決め体(20)が、通孔(12)の内周面(19)の周方向に等間隔に設けられている請求項4に記載の配列用マスク。
【請求項6】
位置決め体(20)が、配列用マスク上を移動して通孔(12)内に半田ボール(2)を落とし込むための掃引具(S)の移動方向の下流側に位置する通孔(12)の内周面(19)に設けられている請求項1に記載の配列用マスク。
【請求項7】
平面視において、通孔(12)の孔中心を通る仮想線(V)を想定したとき、
掃引具(S)の移動方向に指向する仮想線(V)と、掃引具(S)の移動方向下流側の通孔(12)の内周面(19)とが交差する位置に位置決め体(20)が設けられている請求項6に記載の配列用マスク。
【請求項8】
突条からなる位置決め体(20)の上下方向に直交する横断面形状が扇台形状に形成されて、扇台形の長い側の円弧が通孔(12)の内周面(19)に臨むように位置決め体(20)が設けられている請求項2に記載の配列用マスク。
【請求項9】
突条からなる位置決め体(20)の上下方向に直交する横断面形状が台形状に形成されて、台形の長い側の底辺が通孔(12)の内周面(19)に臨むように位置決め体(20)が設けられている請求項2に記載の配列用マスク。
【請求項10】
突条からなる位置決め体(20)の上下方向に直交する横断面形状が要部分を丸めた扇形状に形成されて、扇形の円弧が通孔(12)の内周面(19)に臨むように位置決め体(20)が設けられている請求項2に記載の配列用マスク。
(【請求項11】以降は省略されています)
発明の詳細な説明
【技術分野】
【0001】
本発明は、BGA(Ball Grid Array)方式の半田バンプの作成に使用される、半田ボールの配列用マスクに関する。
続きを表示(約 1,700 文字)
【背景技術】
【0002】
従来より、半田バンプの形成方法として、BGA(Ball Grid Array)方式が知られている。このBGA方式では、ウエハ・フレキシブル基板・リジッド基板などの基板上の電極にフラックスを塗布する印刷工程と、フラックス上に半田ボールを配列する配列工程と、半田ボールを加熱・溶解する加熱工程を経てバンプを形成する。基板上に半田ボールを配列する方法としては、マスクを用いた振込方式が知られており、この振込方式では、基板の電極の配列パターンに対応して半田ボールが挿通可能な位置決め用の通孔を有する配列用マスク(以下、適宜に単に「マスク」と称す)を用いて、基板の電極上に半田ボールを搭載させている。具体的には、通孔と電極とが一致するように基板上にマスクを配置したうえで、スキージやブラシ等の掃引具を使ってマスクの上に供給された半田ボールを掃引し、各通孔にひとつずつ半田ボールを投入させ、これによりフラックスに半田ボールを固着させて、基板上の所定位置に半田ボールを搭載させることができる。
【0003】
配列用マスクの公知例としては、例えば特許文献1に開示されたものがある。この特許文献1のマスクの通孔は、貫通方向が一定のストレート孔で構成されている。また、ストレート孔の開口径は、半田ボールの直径よりも僅かに大きく設定されている。マスク上に供給された半田ボールは、通孔の上開口を介して各通孔内に投入され、各通孔の内周面で所定位置に位置決めされる。同様の構成を備える配列用マスクは、本特許出願人による特許文献2にも開示されている。
【先行技術文献】
【特許文献】
【0004】
特開2006-287215号公報
特開2006-324618号公報
【発明の概要】
【発明が解決しようとする課題】
【0005】
マスクの上に供給され、掃引具で掃引される半田ボールは、その重心が通孔の上開口の上方に位置したときに誘い込まれて、通孔内に落ち込もうとする。しかし、特許文献1、2のマスクでは、通孔の上開口の開口径が半田ボールの直径より僅かに大きい程度であり、半田ボールの重心が通孔の上開口の上方に位置する機会が多くなく、通孔に対する半田ボールの投入に遅滞が生じやすい。また、通孔を落下する半田ボールが通孔の内周面に接触して引っ掛かるおそれがあり、半田ボールが通孔内にスムーズに投入されない点にも不利がある。
【0006】
本発明の目的は、通孔内に半田ボールをより迅速かつスムーズに投入することができる配列用マスクを提供することにある。
【課題を解決するための手段】
【0007】
本発明は、所定の配列パターンに対応した通孔12内に半田ボール2を振り込むことで、基板3上の所定位置に半田ボール2を搭載する配列用マスクを対象とする。配列用マスクは、上開口17の開口径D1が半田ボール2の直径dより大径の丸孔で構成される通孔12の内周面19に、通孔12に投入された半田ボール2を所定位置へ向かって案内するとともに、半田ボール2を所定位置に保持して位置決めするための1以上の位置決め体20が、孔中心に向かって張り出し形成されていることを特徴とする。
【0008】
位置決め体20は、通孔12の内周面19の上下方向に沿って張り出し形成される突条からなり、通孔12の下開口18側に設けられ、通孔12内で半田ボール2を受け止め保持する受止部21と、通孔12の上開口17側に設けられ、通孔12内の所定位置に半田ボール2を案内する導入部22とを含んで構成されている。
【0009】
導入部22は、下開口18側に向かって漸次突出寸法が大きくなるように形成されている。導入部22の上端が、丸孔からなる通孔12の上開口17の開口縁の一部で構成されている。
【0010】
通孔12の内周面19に3以上の位置決め体20が設けられている。通孔12の内周面19を任意の位置で二つの半周面19a・19bに分割したとき、いずれの半周面19a・19bにも位置決め体20が設けられている。
(【0011】以降は省略されています)
この特許をJ-PlatPat(特許庁公式サイト)で参照する
関連特許
マクセル株式会社
めっき部品
10日前
マクセル株式会社
郵便ポストと郵便物取集システム
3日前
マクセル株式会社
扁平形非水電解液電池およびその製造方法
4日前
マクセル株式会社
放送受信装置
10日前
マクセル株式会社
システムおよび方法
10日前
マクセル株式会社
コンテンツ保護処理方法
10日前
マクセル株式会社
コンテンツ保護処理方法
10日前
マクセル株式会社
コンテンツ保護処理方法
10日前
マクセル株式会社
コンテンツ保護処理方法
10日前
マクセル株式会社
アプリケーション起動方法
6日前
マクセル株式会社
空間浮遊映像表示システム
6日前
マクセル株式会社
軽度認知障害スクリーニング方法、該方法を伴うコンピュータプログラム及びスクリーニング装置
3日前
マクセル株式会社
ICモジュール、並びに、このICモジュールを備えるインレット、非接触ICカード、RFIDタグ
6日前
個人
フレキシブル電気化学素子
3日前
株式会社ユーシン
操作装置
3日前
ローム株式会社
半導体装置
10日前
ローム株式会社
半導体装置
5日前
株式会社GSユアサ
蓄電設備
3日前
オムロン株式会社
電磁継電器
4日前
株式会社ホロン
冷陰極電子源
10日前
太陽誘電株式会社
コイル部品
3日前
株式会社GSユアサ
蓄電装置
10日前
株式会社GSユアサ
蓄電設備
3日前
太陽誘電株式会社
全固体電池
10日前
トヨタ自動車株式会社
蓄電装置
3日前
日本特殊陶業株式会社
保持装置
10日前
日東電工株式会社
積層体
4日前
日本特殊陶業株式会社
保持装置
10日前
トヨタ自動車株式会社
バッテリ
4日前
サクサ株式会社
電池の固定構造
3日前
ノリタケ株式会社
熱伝導シート
3日前
TDK株式会社
電子部品
10日前
東レエンジニアリング株式会社
実装装置
4日前
ローム株式会社
半導体装置
4日前
日本特殊陶業株式会社
電極
10日前
SMK株式会社
キートップ及びスイッチ
5日前
続きを見る
他の特許を見る